服务热线
180-5003-0233
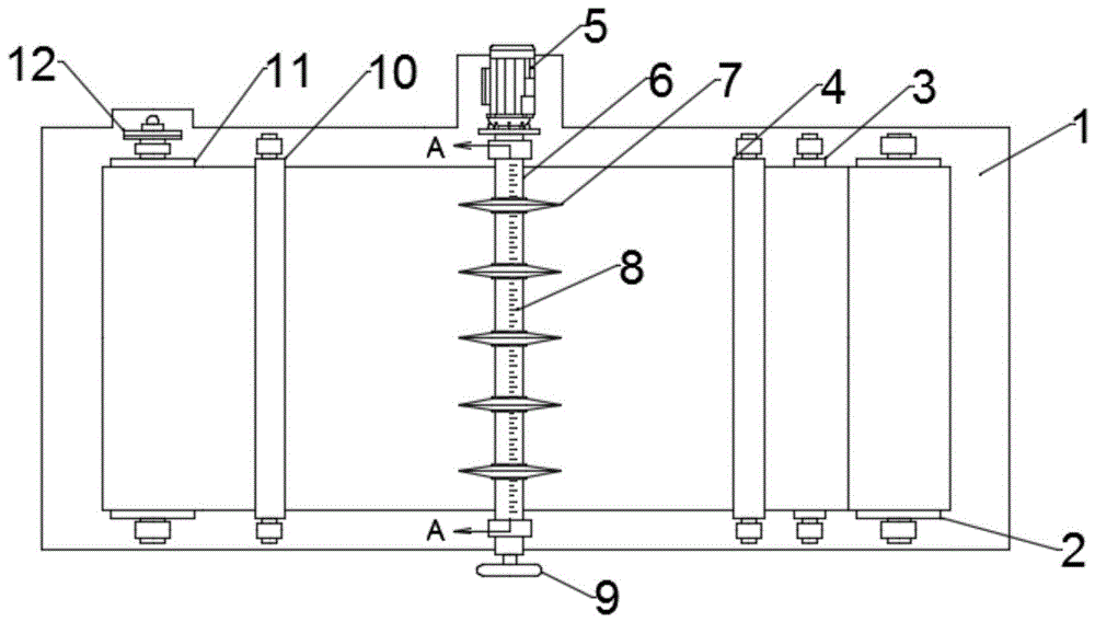
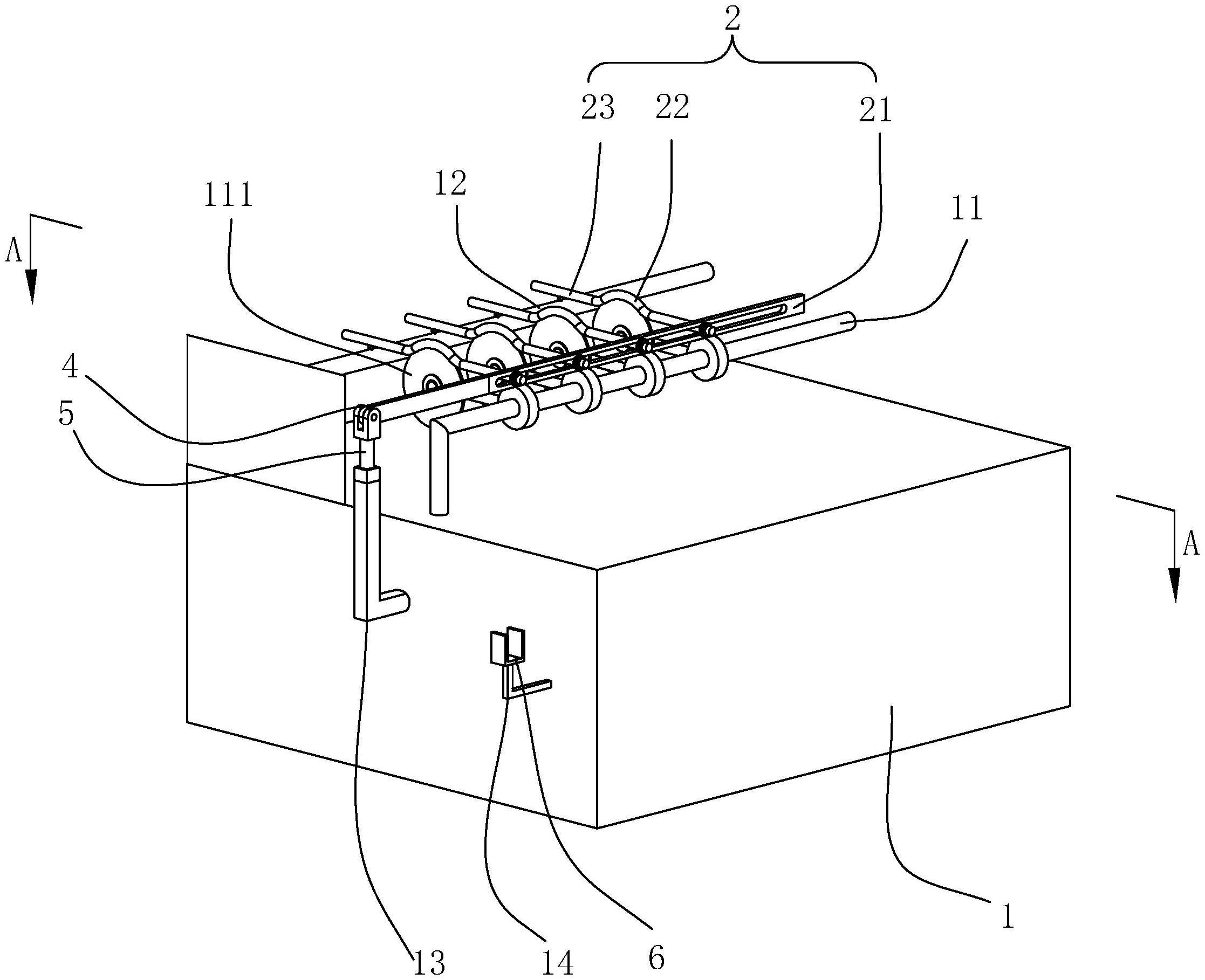
无纺布午夜免费福利是一种专门用于将无纺布午夜精品免费视频进行分切的设备。在使用该机器进行分切时,需要通过正确地调整机器的张力,才能保证分切出来的无纺布面料质量符合要求。本文将从以下几个方面介绍无纺布午夜免费福利张力正确调法。

1、了解无纺布面料的性质
在进行无纺布午夜免费福利张力调整前,首先需要了解无纺布面料的性质。无纺布是由纤维或片状物质通过化学、机械或热力等方法互相交织而成的非织造纺织品。由于无纺布面料自身没有织造结构,因此其表面张力较小,容易出现拉伸和变形。同时,不同种类的无纺布面料也有着不同的物理和化学性质,如重量、密度、硬度等。
2、调整切刀与滚筒之间的距离
无纺布午夜免费福利工作时,切刀与滚筒之间的距离直接影响到无纺布面料的张力大小。如果切刀与滚筒之间的距离过大,则无纺布面料在分切时容易出现松弛,张力会变小;反之,如果距离过小,则无纺布面料会过度拉伸,张力会变大。因此,在进行无纺布午夜免费福利张力调整时,需要根据无纺布面料的性质和要求,调整切刀与滚筒之间的距离,来控制无纺布面料的张力。
3、调整张力装置的张力大小
无纺布午夜免费福利上通常配有张力装置,用于控制无纺布面料在分切过程中的张力大小。通过调整张力装置的张力大小,可以使无纺布面料保持适当的张力状态,从而达到较好的分切效果。具体的张力大小需要根据无纺布面料的性质和要求进行调整,一般需要经过多次试验才能找到最佳的张力大小。
4、选择合适的分切速度和刀片形状
无纺布午夜免费福利在工作时,还需要选择合适的分切速度和刀片形状,以达到最佳的分切效果。如果分切速度过快,容易导致无纺布面料拉伸过度,张力变大;反之,如果分切速度过慢,则容易导致无纺布面料松弛,张力变小。此外,不同的刀片形状也会影响到无纺布面料的分切效果和张力大小。因此,在进行无纺布午夜免费福利张力调整时,还需要选择合适的分切速度和刀片形状。
总之,无纺布午夜免费福利张力正确调法需要根据无纺布面料的性质和要求,通过调整切刀与滚筒之间的距离、调整张力装置的张力大小、选择合适的分切速度和刀片形状等多个方面来达到最佳的分切效果和张力状态。在实际操作中,还需要经过多次试验才能找到最适合自己方法。