午夜羞羞小视频,午夜免费福利,午夜精品免费视频,午夜免费看污污APP

行业新闻

当前位置:首页/新闻中心/行业新闻

一种电容器行业午夜免费福利非接触式除尘装置的制作方法

2023年10月01日国知局浏览量:0

一种电容器行业午夜免费福利非接触式除尘装置的制作方法

1.本实用新型涉及电容器加工技术领域,尤其涉及一种电容器行业午夜免费福利非接触式除尘装置。

背景技术:

2.在对电容器进行加工时,常常需要使用到一种电容器行业午夜免费福利非接触式除尘装置对箔材进行除尘处理。

3.非接触除尘装置主要是由底座、超声波除尘区、静电消除装置、顶盖、导杆气缸以及吸尘风管等构成,其中超声波除尘区用于对箔材进行超声波除尘,静电消除装置用于消除箔材静电,导杆气缸用于闭合底座和顶盖,吸尘风管用于吸尘,现有技术中在对不同尺寸的箔材进行除尘处理时经常会出现箔材运输方向出现偏移导致部分箔材表面粉尘未被处理的问题。

4.为了解决不同尺寸的箔材进行除尘处理时经常会出现箔材运输方向出现偏移导致部分箔材表面粉尘未被处理的问题,现有技术是采用除尘处理前人为对箔材运输方向进行调整处理,但是频繁的人为调整箔材运输方向会导致浪费大量时间和人力,无法很好的使用非接触式除尘装置对箔材进行除尘处理,从而出现降低除尘的工作效率,增加工作人员的工作量的问题。

技术实现要素:

5.本实用新型的目的是为了解决现有技术中存在频繁的人为调整箔材运输方向会导致浪费大量时间和人力的缺点,而提出的一种电容器行业午夜免费福利非接触式除尘装置。

6.为了实现上述目的,本实用新型采用了如下技术方案:一种电容器行业午夜免费福利非接触式除尘装置,包括底座,所述底座的上表面安装有超声波除尘区,所述底座的上表面安装有静电消除装置,所述底座的上表面安装有四个导杆气缸,四个所述导杆气缸远离底座的一侧固定连接有顶盖,所述底座的上表面安装有三个吸尘风管,所述顶盖远离导杆气缸的一侧安装有三个吸尘风管,所述底座的下表面设有限位装置,所述限位装置包括连接板,所述连接板与底座固定连接,所述连接板的横截面呈“l”形,所述连接板的长臂一端固定连接有定位板,所述定位板的横截面呈“t”形,所述定位板的下表面固定连接有定位块,所述定位块的内壁滑动连接有双向丝杆,所述双向丝杆的两端分别开设有方向相反的螺纹,所述双向丝杆的两端均螺纹连接有限位板,两个所述限位板的表面滑动连接有滑杆,所述滑杆水平贯穿两个限位板。

7.上述部件所达到的效果为:通过设置限位装置,可以通过转动双向丝杆来移动两个限位板之间的距离,从而限制不同尺寸的箔材移动方向,防止箔材移动方向发生偏移,从而提高除尘工作的工作效率,减少工作人员的工作量。

8.优选的,所述双向丝杆的两端均固定连接有限位环,所述限位板位于定位块与限位环之间。

9.上述部件所达到的效果为:限位环达到防止限位板因双向丝杆转动过度而脱离定位板区域。

10.优选的,两个所述限位板的表面均转动连接有圆辊,所述圆辊为橡胶辊。

11.上述部件所达到的效果为:由于限位板表面转动连接有圆辊,且圆辊为橡胶辊所以此时圆辊达到减少箔材移动时的摩擦力并且达到保护箔材的作用。

12.优选的,所述滑杆的两端均固定连接有挡板,两个所述挡板的直径均大于滑杆的直径。

13.上述部件所达到的效果为:滑杆两端的挡板达到防止滑杆脱离限位板的作用。

14.优选的,所述双向丝杆的一端设有辅助装置,所述辅助装置包括握把,所述握把与双向丝杆滑动连接,所述握把的表面滑动连接有插销,所述插销贯穿握把和双向丝杆,所述插销远离握把的一端固定连接有圆片。

15.上述部件所达到的效果为:通过设置辅助装置,在需要调节限位板位置时在双向丝杆的圆弧面上安装握把,方便工作人员转动调节双向丝杆,在调节完毕后,及时将辅助装置取下,防止因外力碰撞或误触而出现限位板的位移,从而影响箔材运输的问题。

16.优选的,所述握把远离双向丝杆的一侧固定连接有防滑头,所述防滑头的表面均匀分布有若干个防滑凸起。

17.上述部件所达到的效果为:防滑头达到方便工作人员转动握把从而方便转动双向丝杆的作用。

18.优选的,所述插销的圆弧面套有弹簧,所述弹簧的两端分别与圆片和握把固定连接。

19.上述部件所达到的效果为:弹簧达到自动扣紧插销,防止插销与握把脱离接触的作用。

20.综上所述,本实用新型的有益效果为:

21.本实用新型中,通过设置限位装置,可以通过转动双向丝杆来移动两个限位板之间的距离,从而限制不同尺寸的箔材移动方向,防止箔材移动方向发生偏移,从而提高除尘工作的工作效率,减少工作人员的工作量。

22.本实用新型中,通过设置辅助装置,在需要调节限位板位置时在双向丝杆的圆弧面上安装握把,方便工作人员转动调节双向丝杆,在调节完毕后,及时将辅助装置取下,防止因外力碰撞或误触而出现限位板的位移,从而影响箔材运输的问题。

附图说明

23.图1为本实用新型的立体结构示意图;

24.图2为本实用新型另一角度的立体结构示意图;

25.图3为本实用新型限位装置局部结构示意图;

26.图4为本实用新型图1右方的立体结构示意图;

27.图5为本实用新型图4中a处的放大图。

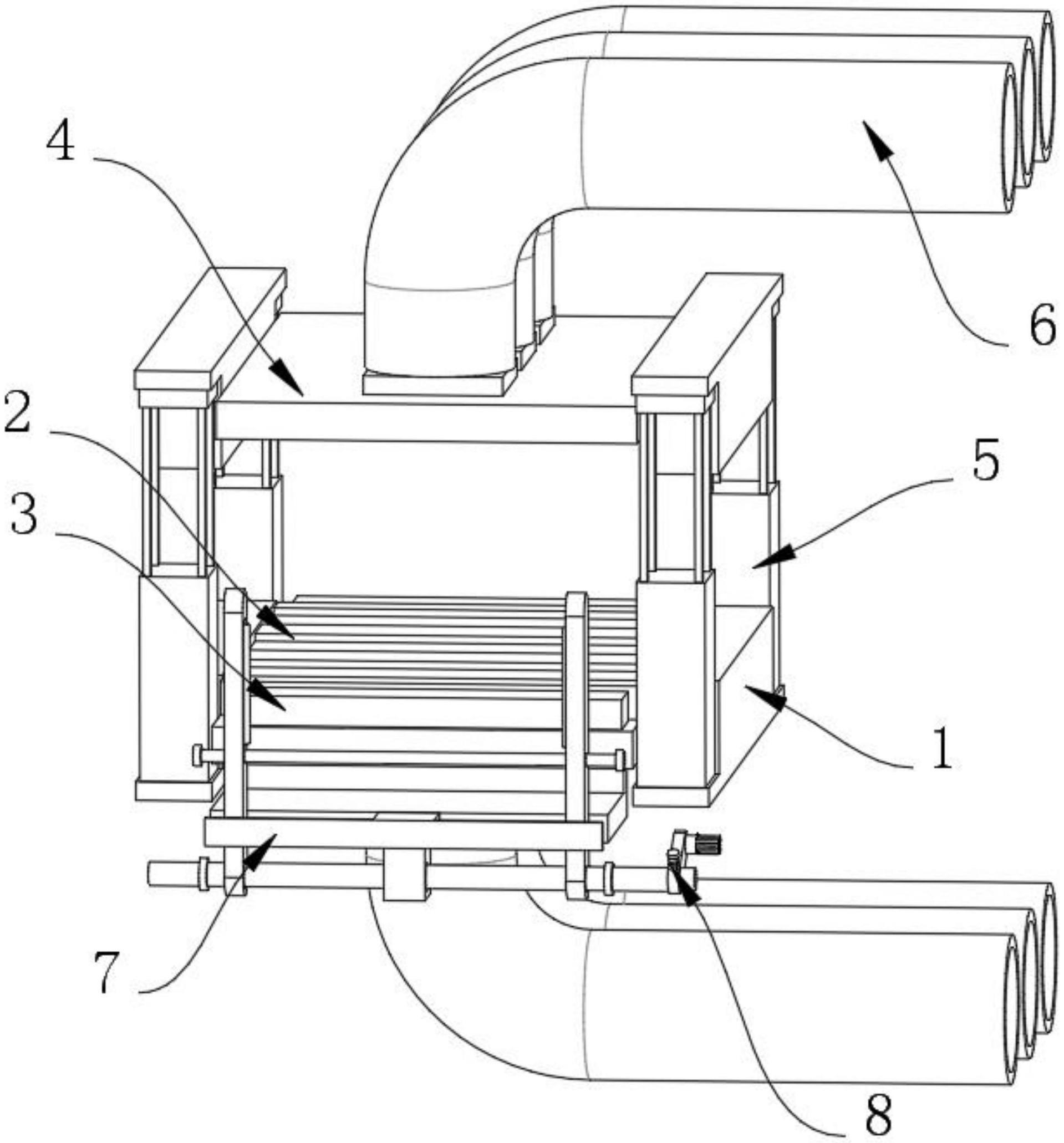
28.图例说明:1、底座;2、超声波除尘区;3、静电消除装置;4、顶盖;5、导杆气缸;6、吸尘风管;7、限位装置;71、连接板;72、定位板;73、定位块;74、双向丝杆;75、限位板;76、限位环;77、圆辊;78、滑杆;79、挡板;8、辅助装置;81、握把;82、防滑头;83、插销;84、圆片;85、弹

簧。

具体实施方式

29.参照图1所示,本实用新型提供一种技术方案:一种电容器行业午夜免费福利非接触式除尘装置,包括底座1,底座1的上表面安装有超声波除尘区2,底座1的上表面安装有静电消除装置3,底座1的上表面安装有四个导杆气缸5,四个导杆气缸5远离底座1的一侧固定连接有顶盖4,底座1的上表面安装有三个吸尘风管6,顶盖4远离导杆气缸5的一侧安装有三个吸尘风管6,底座1的下表面设有限位装置7,通过设置限位装置7,可以通过转动双向丝杆74来移动两个限位板75之间的距离,从而限制不同尺寸的箔材移动方向,防止箔材移动方向发生偏移,从而提高除尘工作的工作效率,减少工作人员的工作量,双向丝杆74的一端设有辅助装置8,通过设置辅助装置8,在需要调节限位板75位置时在双向丝杆74的圆弧面上安装握把81,方便工作人员转动调节双向丝杆74,在调节完毕后,及时将辅助装置8取下,防止因外力碰撞或误触而出现限位板75的位移,从而影响箔材运输的问题。

30.下面具体说一下其限位装置7和辅助装置8的具体设置和作用。

31.参照图2和图3所示,本实施方案中:限位装置7包括连接板71,连接板71与底座1固定连接,连接板71的横截面呈“l”形,连接板71的长臂一端固定连接有定位板72,定位板72的横截面呈“t”形,定位板72的下表面固定连接有定位块73,定位块73的内壁滑动连接有双向丝杆74,双向丝杆74的两端分别开设有方向相反的螺纹,双向丝杆74的两端均螺纹连接有限位板75,两个限位板75的表面滑动连接有滑杆78,滑杆78水平贯穿两个限位板75,双向丝杆74的两端均固定连接有限位环76,限位板75位于定位块73与限位环76之间,限位环76达到防止限位板75因双向丝杆74转动过度而脱离定位板72区域,两个限位板75的表面均转动连接有圆辊77,圆辊77为橡胶辊,由于限位板75表面转动连接有圆辊77,且圆辊77为橡胶辊所以此时圆辊77达到减少箔材移动时的摩擦力并且达到保护箔材的作用,滑杆78的两端均固定连接有挡板79,两个挡板79的直径均大于滑杆78的直径,滑杆78两端的挡板79达到防止滑杆78脱离限位板75的作用。

32.参照图4和图5所示,本实施方案中:辅助装置8包括握把81,握把81与双向丝杆74滑动连接,握把81的表面滑动连接有插销83,插销83贯穿握把81和双向丝杆74,插销83远离握把81的一端固定连接有圆片84,握把81远离双向丝杆74的一侧固定连接有防滑头82,防滑头82的表面均匀分布有若干个防滑凸起,防滑头82达到方便工作人员转动握把81从而方便转动双向丝杆74的作用,插销83的圆弧面套有弹簧85,弹簧85的两端分别与圆片84和握把81固定连接,弹簧85达到自动扣紧插销83,防止插销83与握把81脱离接触的作用。

33.工作原理,当需要对不同尺寸的箔材进行除尘处理时,首先转动双向丝杆74,由于双向丝杆74的两端分别开设有方向相反的螺纹,所以双向丝杆74转动带动两个限位板75向彼此靠近的方向移动,当限位板75移动至合适距离时,停止转动双向丝杆74,由于限位板75表面转动连接有圆辊77,且圆辊77为橡胶辊所以此时圆辊77达到减少箔材移动时的摩擦力并且达到保护箔材的作用,将箔材放置在滑杆78上,滑杆78与静电消除装置3水平高度一致,滑杆78两端的挡板79达到防止滑杆78脱离限位板75的作用,由于限位板75位于限位环76与定位块73之间,所以限位环76达到防止限位板75因双向丝杆74转动过度而脱离定位板72区域,通过设置限位装置7,可以通过转动双向丝杆74来移动两个限位板75之间的距离,

从而限制不同尺寸的箔材移动方向,防止箔材移动方向发生偏移,从而提高除尘工作的工作效率,减少工作人员的工作量。

34.当需要转动双向丝杆74时,首先拉动插销83,将插销83向远离握把81的方向移动,此时弹簧85处于被拉伸状态,然后将握把81沿双向丝杆74的圆弧面滑动,直至插销83对准双向丝杆74圆弧面上开设的孔洞,之后松开插销83,此时弹簧85释放弹力,弹簧85带动插销83向靠近握把81的方向移动,直至插销83贯穿握把81和双向丝杆74,所以弹簧85达到自动扣紧插销83,防止插销83与握把81脱离接触的作用,将握把81与双向丝杆74固定安装完成后,转动防滑头82,防滑头82转动带动握把81转动,握把81转动带动双向丝杆74转动,所以防滑头82达到方便工作人员转动握把81从而方便转动双向丝杆74的作用,通过设置辅助装置8,在需要调节限位板75位置时在双向丝杆74的圆弧面上安装握把81,方便工作人员转动调节双向丝杆74,在调节完毕后,及时将辅助装置8取下,防止因外力碰撞或误触而出现限位板75的位移,从而影响箔材运输的问题。

35.在本实用新型的描述中,需要说明的是,除非另有明确的规定和限定,术语“安装”、“相连”、“连接”应做广义理解,例如,可以是固定连接,也可以是可拆卸连接,或一体地连接;可以是机械连接,也可以是电连接;可以是直接相连,也可以通过中间媒介间接相连,可以是两个元件内部的连通。对于本领域的普通技术人员而言,可以通过具体情况理解上述术语在本实用新型中的具体含义。

技术特征:

1.一种电容器行业午夜免费福利非接触式除尘装置,包括底座(1),其特征在于:所述底座(1)的上表面安装有超声波除尘区(2),所述底座(1)的上表面安装有静电消除装置(3),所述底座(1)的上表面安装有四个导杆气缸(5),四个所述导杆气缸(5)远离底座(1)的一侧固定连接有顶盖(4),所述底座(1)的上表面安装有三个吸尘风管(6),所述顶盖(4)远离导杆气缸(5)的一侧安装有三个吸尘风管(6),所述底座(1)的下表面设有限位装置(7),所述限位装置(7)包括连接板(71),所述连接板(71)与底座(1)固定连接,所述连接板(71)的横截面呈“l”形,所述连接板(71)的长臂一端固定连接有定位板(72),所述定位板(72)的横截面呈“t”形,所述定位板(72)的下表面固定连接有定位块(73),所述定位块(73)的内壁滑动连接有双向丝杆(74),所述双向丝杆(74)的两端分别开设有方向相反的螺纹,所述双向丝杆(74)的两端均螺纹连接有限位板(75),两个所述限位板(75)的表面滑动连接有滑杆(78),所述滑杆(78)水平贯穿两个限位板(75)。2.根据权利要求1所述的一种电容器行业午夜免费福利非接触式除尘装置,其特征在于:所述双向丝杆(74)的两端均固定连接有限位环(76),所述限位板(75)位于定位块(73)与限位环(76)之间。3.根据权利要求1所述的一种电容器行业午夜免费福利非接触式除尘装置,其特征在于:两个所述限位板(75)的表面均转动连接有圆辊(77),所述圆辊(77)为橡胶辊。4.根据权利要求1所述的一种电容器行业午夜免费福利非接触式除尘装置,其特征在于:所述滑杆(78)的两端均固定连接有挡板(79),两个所述挡板(79)的直径均大于滑杆(78)的直径。5.根据权利要求1所述的一种电容器行业午夜免费福利非接触式除尘装置,其特征在于:所述双向丝杆(74)的一端设有辅助装置(8),所述辅助装置(8)包括握把(81),所述握把(81)与双向丝杆(74)滑动连接,所述握把(81)的表面滑动连接有插销(83),所述插销(83)贯穿握把(81)和双向丝杆(74),所述插销(83)远离握把(81)的一端固定连接有圆片(84)。6.根据权利要求5所述的一种电容器行业午夜免费福利非接触式除尘装置,其特征在于:所述握把(81)远离双向丝杆(74)的一侧固定连接有防滑头(82),所述防滑头(82)的表面均匀分布有若干个防滑凸起。7.根据权利要求5所述的一种电容器行业午夜免费福利非接触式除尘装置,其特征在于:所述插销(83)的圆弧面套有弹簧(85),所述弹簧(85)的两端分别与圆片(84)和握把(81)固定连接。

技术总结

本实用新型涉及电容器加工技术领域,具体为一种电容器行业午夜免费福利非接触式除尘装置。本实用新型,包括底座,所述底座的上表面安装有超声波除尘区,所述底座的上表面安装有静电消除装置,所述底座的上表面安装有四个导杆气缸,四个所述导杆气缸远离底座的一侧固定连接有顶盖,所述底座的上表面安装有三个吸尘风管,所述顶盖远离导杆气缸的一侧安装有三个吸尘风管,所述底座的下表面设有限位装置,所述限位装置包括连接板,所述连接板与底座固定连接,所述连接板的横截面呈“L”形,所述连接板的长臂一端固定连接有定位板,所述定位板的横截面呈“T”形。解决了频繁的人为调整箔材运输方向会导致浪费大量时间和人力的问题。向会导致浪费大量时间和人力的问题。向会导致浪费大量时间和人力的问题。

技术研发人员:张前龙 李小明

受保护的技术使用者:深圳市友利特精密机械制造有限公司

技术研发日:2023.02.28

技术公布日:2023/6/27

网站地图