服务热线
180-5003-0233

1.本实用新型涉及胶带午夜免费福利技术领域,具体为一种具有防止刀具粘连的胶带午夜免费福利。
背景技术:
2.午夜免费福利是一种将宽幅纸张、云母带或薄膜分切成多条窄幅午夜精品免费视频的机械设备,常用于造纸机械、电线电缆云母带及印刷包装机械,午夜免费福利主要的运用于:无纺布、云母带、纸张、绝缘午夜精品免费视频及各种薄膜午夜精品免费视频分切、特别适宜于窄带(无纺布,纸张,绝缘午夜精品免费视频、云母带、薄膜等)的分切,而切刀就是其众多部件中较为重要的一个,然而现有的胶带午夜免费福利,在使用过程中,由于胶带是由基材和粘结剂两部分组成,通过粘接使两个或多个不相连的物体连接在一起,其表面上涂有一层粘着剂,从而使得在分切胶带的过程中,切刀容易粘连胶质,从而影响胶带分切的质量和分切效率。
3.所以午夜羞羞小视频提出了一种具有防止刀具粘连的胶带午夜免费福利,以便于解决上述中提出的胶带午夜免费福利在分切胶带的过程中,切刀容易粘连胶质,从而影响胶带分切的质量和分切效率的问题。
技术实现要素:
4.本实用新型的目的在于提供一种具有防止刀具粘连的胶带午夜免费福利,以解决上述背景技术提出的目前市场上的胶带午夜免费福利在分切胶带的过程中,切刀容易粘连胶质,从而影响胶带分切的质量和分切效率的问题。
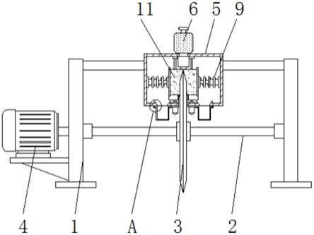
5.为实现上述目的,本实用新型提供如下技术方案:一种具有防止刀具粘连的胶带午夜免费福利,包括机架、刀片、油壶、清洁海绵、毛刷和刮板,所述机架中间安装有主轴,且主轴中间安装有刀片,并且主轴左端连接有电机,所述机架上端设置有壳体,且壳体上端安装有油壶,并且油壶下端设置有注油口,所述壳体内侧设置有伸缩杆,且伸缩杆外侧贯穿连接有伸缩弹簧,所述伸缩杆一端设置有压板,且压板一侧设置有清洁海绵,所述清洁海绵后方设置有转轴,且转轴下端连接有马达,所述转轴中间设置有毛刷,且毛刷外侧设置有刮板,所述刮板下方开设有导料口,且导料口下方设置有滑轨,所述滑轨之间放置有接料箱,且接料箱外侧设置有拉手。
6.优选的,所述注油口的中心线与壳体的中心线相互重合,且注油口的中心线与刀片的中心线相互重合。
7.优选的,所述压板设置有2个,且压板的表平面与刀片的表平面相互平行,并且压板相对于刀片的中心线左右对称。
8.优选的,所述清洁海绵设置有2个,且清洁海绵相对于壳体的中心线左右对称,并且清洁海绵通过伸缩弹簧构成伸缩结构。
9.优选的,所述毛刷设置有2个,且毛刷的旋转外圆与刀片的表平面呈相切结构。
10.优选的,所述接料箱设置有2个,且接料箱的宽度大于导料口的宽度,并且接料箱
与壳体构成滑动结构。
11.与现有技术相比,本实用新型的有益效果是:该具有防止刀具粘连的胶带午夜免费福利;
12.1.设置有毛刷和刮板,在实际使用过程中,同时马达带动毛刷进行转动,当刀片在分切粘贴上胶装物质时,通过毛刷将刀片表面的粘着剂进行刷除,然后再通过刮板将毛刷上的粘着剂进行刮除,提高毛刷的清洁效率,从而减少了粘着剂对分切时产生的影响,增加了该装置的实用性;
13.2.设置有油壶和清洁海绵,在实际使用过程中,由于刀片连续工作,从而在长时间的使用后,会产生大量的热量,而刀具上的热量的积聚,会极大的影响分切后的胶带的质量,通过清洁海绵将油壶中的润滑油不断的涂抹在刀片上,从而可对刀片进行冷却,同时由于刀片上附有润滑油,可减少粘着剂的粘连,增加了该装置的功能性。
附图说明
14.图1为本实用新型主剖结构示意图;
15.图2为本实用新型俯剖结构示意图;
16.图3为本实用新型左剖结构示意图;
17.图4为本实用新型图1中a处放大结构示意图;
18.图5为本实用新型伸缩杆与压板连接结构示意图。
19.图中:1、机架;2、主轴;3、刀片;4、电机;5、壳体;6、油壶;7、注油口;8、伸缩杆;9、伸缩弹簧;10、压板;11、清洁海绵;12、转轴;13、马达;14、毛刷;15、刮板;16、导料口;17、滑轨;18、接料箱;19、拉手。
具体实施方式
20.下面将结合本实用新型实施例中的附图,对本实用新型实施例中的技术方案进行清楚、完整地描述,显然,所描述的实施例仅仅是本实用新型一部分实施例,而不是全部的实施例。基于本实用新型中的实施例,本领域普通技术人员在没有做出创造性劳动前提下所获得的所有其他实施例,都属于本实用新型保护的范围。
21.请参阅图1-5,本实用新型提供一种技术方案:一种具有防止刀具粘连的胶带午夜免费福利,包括机架1、主轴2、刀片3、电机4、壳体5、油壶6、注油口7、伸缩杆8、伸缩弹簧9、压板10、清洁海绵11、转轴12、马达13、毛刷14、刮板15、导料口16、滑轨17、接料箱18和拉手19,机架1中间安装有主轴2,且主轴2中间安装有刀片3,并且主轴2左端连接有电机4,机架1上端设置有壳体5,且壳体5上端安装有油壶6,并且油壶6下端设置有注油口7,壳体5内侧设置有伸缩杆8,且伸缩杆8外侧贯穿连接有伸缩弹簧9,伸缩杆8一端设置有压板10,且压板10一侧设置有清洁海绵11,清洁海绵11后方设置有转轴12,且转轴12下端连接有马达13,转轴12中间设置有毛刷14,且毛刷14外侧设置有刮板15,刮板15下方开设有导料口16,且导料口16下方设置有滑轨17,滑轨17之间放置有接料箱18,且接料箱18外侧设置有拉手19。
22.注油口7的中心线与壳体5的中心线相互重合,且注油口7的中心线与刀片3的中心线相互重合,上述结构设计,在实际使用过程中,有利于给刀片3进行降温冷却。
23.压板10设置有2个,且压板10的表平面与刀片3的表平面相互平行,并且压板10相对于刀片3的中心线左右对称,上述结构设计,在实际使用过程中,有利于通过压板10与伸
缩弹簧9之间的配合将清洁海绵11贴合在刀片3的表面。
24.清洁海绵11设置有2个,且清洁海绵11相对于壳体5的中心线左右对称,并且清洁海绵11通过伸缩弹簧9构成伸缩结构,上述结构设计,在实际使用过程中,有利于通过清洁海绵11将润滑油涂抹在刀片3表面,同时对刀片3进行清洁。
25.毛刷14设置有2个,且毛刷14的旋转外圆与刀片3的表平面呈相切结构,上述结构设计,在实际使用过程中,有利于通过毛刷14将刀片3表面的粘着剂清理。
26.接料箱18设置有2个,且接料箱18的宽度大于导料口16的宽度,并且接料箱18与壳体5构成滑动结构,上述结构设计,在实际使用过程中,有利于通过接料箱18对清理后的粘着剂进行收集。
27.工作原理:在使用该具有防止刀具粘连的胶带午夜免费福利时,如图1和图2所示,首先,通过电机4带动主轴2进行转动,使得刀片3对胶带进行分切,当刀片3在分切过程中表面粘附有粘着剂时,当粘着剂旋转至毛刷14处时,通过毛刷14的转动,将刀片3表面的粘着剂进行刷除,毛刷14在转动过程中,通过刮板15将毛刷14上的粘着剂进行清理,从而提高毛刷14的清理效果,如图3和图4所示,当刮板15损伤的粘着剂堆积到一定程度之后,会自动掉落至下方的接料箱18内,可定时通过拉手19拿出接料箱18,对接料箱18内的粘着剂进行清理,如图1和图5所示,刀片3在旋转过程中,通过清洁海绵11,可再次对刀片3的表面进行清理,同时,油壶6内的润滑油通过注油口7渗入清洁海绵11内,通过清洁海绵11对刀片3进行润滑冷却,避免刀片3在长时间的工作中堆积的热量对胶带分切后的质量产生影响,从而避免从而完成一系列工作,本说明书中未作详细描述的内容属于本领域专业技术人员公知的现有技术。
28.需要理解的是,术语“中心”、“纵向”、“横向”、“前”、“后”、“左”、“右”、“竖直”、“水平”、“顶”、“底”、“内”、“外”等指示的方位或位置关系为基于附图所示的方位或位置关系,仅是为便于描述本发明和简化描述,而不是指示或暗指所指的装置或元件必须具有特定的方位、为特定的方位构造和操作,因而不能理解为对本实用新型保护内容的限制。
29.尽管参照前述实施例对本实用新型进行了详细的说明,对于本领域的技术人员来说,其依然可以对前述各实施例所记载的技术方案进行修改,或者对其中部分技术特征进行等同替换,凡在本实用新型的精神和原则之内,所作的任何修改、等同替换、改进等,均应包含在本实用新型的保护范围之内。
技术特征:
1.一种具有防止刀具粘连的胶带午夜免费福利,包括机架(1)、刀片(3)、油壶(6)、清洁海绵(11)、毛刷(14)和刮板(15),其特征在于:所述机架(1)中间安装有主轴(2),且主轴(2)中间安装有刀片(3),并且主轴(2)左端连接有电机(4),所述机架(1)上端设置有壳体(5),且壳体(5)上端安装有油壶(6),并且油壶(6)下端设置有注油口(7),所述壳体(5)内侧设置有伸缩杆(8),且伸缩杆(8)外侧贯穿连接有伸缩弹簧(9),所述伸缩杆(8)一端设置有压板(10),且压板(10)一侧设置有清洁海绵(11),所述清洁海绵(11)后方设置有转轴(12),且转轴(12)下端连接有马达(13),所述转轴(12)中间设置有毛刷(14),且毛刷(14)外侧设置有刮板(15),所述刮板(15)下方开设有导料口(16),且导料口(16)下方设置有滑轨(17),所述滑轨(17)之间放置有接料箱(18),且接料箱(18)外侧设置有拉手(19)。2.根据权利要求1所述的一种具有防止刀具粘连的胶带午夜免费福利,其特征在于:所述注油口(7)的中心线与壳体(5)的中心线相互重合,且注油口(7)的中心线与刀片(3)的中心线相互重合。3.根据权利要求1所述的一种具有防止刀具粘连的胶带午夜免费福利,其特征在于:所述压板(10)设置有2个,且压板(10)的表平面与刀片(3)的表平面相互平行,并且压板(10)相对于刀片(3)的中心线左右对称。4.根据权利要求1所述的一种具有防止刀具粘连的胶带午夜免费福利,其特征在于:所述清洁海绵(11)设置有2个,且清洁海绵(11)相对于壳体(5)的中心线左右对称,并且清洁海绵(11)通过伸缩弹簧(9)构成伸缩结构。5.根据权利要求1所述的一种具有防止刀具粘连的胶带午夜免费福利,其特征在于:所述毛刷(14)设置有2个,且毛刷(14)的旋转外圆与刀片(3)的表平面呈相切结构。6.根据权利要求1所述的一种具有防止刀具粘连的胶带午夜免费福利,其特征在于:所述接料箱(18)设置有2个,且接料箱(18)的宽度大于导料口(16)的宽度,并且接料箱(18)与壳体(5)构成滑动结构。
技术总结
本实用新型公开了一种具有防止刀具粘连的胶带午夜免费福利,包括机架、刀片、油壶、清洁海绵、毛刷和刮板,所述机架中间安装有主轴,且主轴中间安装有刀片,所述机架上端设置有壳体,且壳体上端安装有油壶,并且油壶下端设置有注油口,所述壳体内侧设置有伸缩杆,且伸缩杆外侧贯穿连接有伸缩弹簧,所述伸缩杆一端设置有压板,且压板一侧设置有清洁海绵。该具有防止刀具粘连的胶带午夜免费福利设置有毛刷和刮板,在实际使用过程中,同时马达带动毛刷进行转动,当刀片在分切粘贴上胶装物质时,通过毛刷将刀片表面的粘着剂进行刷除,然后再通过刮板将毛刷上的粘着剂进行刮除,提高毛刷的清洁效率,从而减少了粘着剂对分切时产生的影响,增加了该装置的实用性。置的实用性。置的实用性。
技术研发人员:于洪亮
受保护的技术使用者:东莞定翔电子工业制品有限公司
技术研发日:2021.12.16
技术公布日:2022/5/4