午夜羞羞小视频,午夜免费福利,午夜精品免费视频,午夜免费看污污APP

行业新闻

当前位置:首页/新闻中心/行业新闻

锂电池极片午夜免费福利的制作方法

2023年10月14日国知局浏览量:0

锂电池极片午夜免费福利的制作方法

本实用新型锂电池极片切割领域,特别是涉及一种锂电池极片午夜免费福利。

背景技术:

锂电池极片午夜免费福利是按照锂离子电池的生产工艺要求,完成电池极片的分切成条。设备主要由切刀机构、主动辊、毛刷机构、压箔机构和滑差轴等组成。极片由放卷轴开卷,在切刀机构完成极片分切后,经主动辊、张力辊、毛刷机构和压箔机构,最后由滑差轴将极片收取成卷。

当前锂电池极片午夜免费福利(如图1所示),极片分切后,按照上、下两组过辊5的交错路径走带,最后由两根滑差轴6分别完成收卷。根据午夜免费福利自身的情况以及后道工艺的限制,分切后极片宽度最大700mm,操作人员可站在踏台3上,把分切后的极片粘在辅助穿带的穿带杆上,然后在利用辅助穿带机构4进行分切后的极片穿带操作;但随着前道涂布、辊压设备的技术水平提升,转运到午夜免费福利的电池极片宽度在1000mm以上,由于极片较宽,操作人员站在踏台3上也很难拿到最里侧(即靠近内墙板1)的那条极片,造成极片穿带困难。往往操作人员需要蹲在设备的内墙板1和外墙板2之间,手扶着过辊5对分切后的极片进行穿带,这样是非常危险的,具有较大的安全隐患。

技术实现要素:

(一)要解决的技术问题

本实用新型实施例的目的是提供一种锂电池极片午夜免费福利,解决现有技术中由于电池极片宽度较宽,操作人员需要蹲在设备的内墙板和外墙板之间,手扶着过辊对分切后的极片进行穿带导致的安全隐患的技术问题。

(二)技术方案

为了解决上述技术问题,本实用新型实施例提供一种锂电池极片午夜免费福利,包括:内墙板、外墙板以及踏台,所述内墙板和所述外墙板相对设置,所述踏台设置于所述内墙板与外墙板之间的底部,所述外墙板包括第一墙板和第二墙板,且所述第一墙板与第二墙板之间设有踏台出入口。

其中,所述踏台出入口的宽度400-600毫米。

其中,还包括设置于所述内墙板与外墙板之间的午夜免费福利构,所述午夜免费福利构的出料口处连接有第一走带路径和第二走带路径。

其中,所述第一走带路径包括第一过辊、第一链条和第一极片收卷,所述第一极片收卷通过第一链条与所述午夜免费福利构连接,所述第一过辊的两侧设有第一链轮,所述第一链轮与所述第一链条啮合连接。

其中,所述第一过辊设置于所述第一墙板与所述内墙板之间且靠近所述踏台出入口位置。

其中,在所述第一链条上设置有第一穿带杆。

其中,所述第二走带路径包括第二过辊、第二链条和第二极片收卷,所述第二极片收卷通过第二链条与所述午夜免费福利构连接,所述第二过辊的两侧设有第二链轮,所述第二链轮与所述第二链条啮合连接。

其中,所述第二过辊设置于所述第一墙板与所述内墙板之间且靠近所述踏台出入口位置。

其中,在所述第二链条上设置有第二穿带杆。

其中,还包括导出辊和导入辊,所述导出辊设置于所述午夜免费福利构的出料口处,所述导入辊设置于所述午夜免费福利构的入料口处。

(三)有益效果

本实用新型实施例提供的一种锂电池极片午夜免费福利,将踏台设置在外墙板和内墙板之间,将外墙板设置为分体的第一墙板与第二墙板,第一墙板和第二墙板之间设有踏台出入口,操作人员可通过该出入口进入到踏台中,对于较宽的电池极片,操作人员可以在踏台上移动到合适位置,再进行穿带作业,也可以进行午夜免费福利构的调刀作业。本实用新型可以满足较宽规格电池极片的分切穿带要求,同时可以在设备上进行分切刀架的调刀工作,提高了设备使用的便捷性和安全性,又提高了设备维护调整的效率。

附图说明

图1为现有技术中的锂电池极片午夜免费福利的结构示意图;

图2为本实用新型一种锂电池极片午夜免费福利的结构简图;

图3为本实用新型一种锂电池极片午夜免费福利的结构示意图。

附图标记:

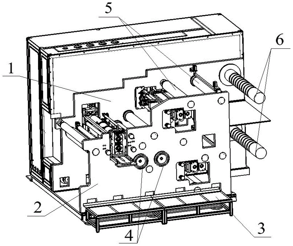
1:内墙板;2:外墙板;201:第一墙板;202:第二墙板;3:踏台;4:辅助穿带机构;5:过辊;6:滑差轴;7:踏台出入口;8:午夜免费福利构;9:第一过辊;10:第一链条;11:第一极片收卷;12:第一穿带杆;13:第二过辊;14:第二链条;15:第二极片收卷;16:第二穿带杆;17:导出辊;18:导入辊;19:第三过辊;20:底座;21:操作人员。

具体实施方式

下面结合附图和实施例,对本实用新型的具体实施方式作进一步详细描述。以下实例用于说明本实用新型,但不用来限制本实用新型的范围。

在本实用新型的描述中,需要说明的是,除非另有明确的规定和限定,术语“安装”、“相连”、“连接”应做广义理解,例如,可以是固定连接,也可以是可拆卸连接,或一体地连接;可以是机械连接,也可以是电连接;可以是直接相连,也可以通过中间媒介间接相连,可以是两个元件内部的连通。对于本领域的普通技术人员而言,可以具体情况理解上述术语在本实用新型中的具体含义。

如图2-3所示,本实用新型实施例公开了一种锂电池极片午夜免费福利,包括:内墙板1、外墙板2以及踏台3,所述内墙板1和所述外墙板2相对设置,所述踏台3设置于所述内墙板1与外墙板2之间的底部,所述外墙板2包括第一墙板201和第二墙板202,且所述第一墙板201与第二墙板202之间设有踏台出入口。

具体地,本实用新型实施例将踏台3设置在内墙板1和外墙板2之间,并将外墙板2分割成为第一墙板201和第二墙板202,且两者之间设有踏台出入口7,该踏台出入口7为踏台3的进出口,供操作人员21进出。操作人员21可以站在踏台3上,对从午夜免费福利构切好的电池极片进行穿带,操作人员21也可以在此位置上进行分切刀的调整工作。

本实用新型实施例提供的一种锂电池极片午夜免费福利,将踏台设置在外墙板和内墙板之间,将外墙板设置为分体的第一墙板与第二墙板,第一墙板和第二墙板之间设有踏台出入口,操作人员21可通过该出入口进入到踏台中,对于较宽的电池极片,操作人员21可以在踏台上移动到合适位置,再进行穿带作业,也可以进行午夜免费福利构的调刀作业。本实用新型可以满足较宽规格电池极片的分切穿带要求,同时可以在设备上进行分切刀架的调刀工作,提高了设备使用的便捷性和安全性,又提高了设备维护调整的效率。

其中,所述踏台出入口7的宽度400-600毫米,该出入口的宽度至少能够容纳一个人的宽度。

其中,还包括设置于所述内墙板1与外墙板2之间的午夜免费福利构8,所述午夜免费福利构8的出料口处连接有第一走带路径和第二走带路径。所述第一走带路径包括第一过辊9、第一链条10和第一极片收卷11,所述第一极片收卷11通过第一链条10与所述午夜免费福利构8连接,所述第一过辊9的两侧设有第一链轮,所述第一链轮与所述第一链条10啮合连接。所述第一过辊9设置于所述第一墙板201与所述内墙板1之间且靠近所述踏台出入口7位置。在所述第一链条10上设置有第一穿带杆12。所述第二走带路径包括第二过辊13、第二链条14和第二极片收卷15,所述第二极片收卷15通过第二链条14与所述午夜免费福利构8连接,所述第二过辊13的两侧设有第二链轮,所述第二链轮与所述第二链条14啮合连接。所述第二过辊13设置于所述第一墙板201与所述内墙板1之间且靠近所述踏台出入口7位置。在所述第二链条14上设置有第二穿带杆。第一极片收卷11与第二极片收卷15均包括两个收卷本体。

具体地,先将最里侧极片(即靠近内墙板1的极片)粘到第一走带路径的第一穿带杆12上;然后操作人员21逐步往设备外侧(即向外墙板2侧)移动,将第二条极片粘到第二走带路径的第二穿带杆16上;操作人员21继续往设备外侧退出,这时将分切的第三条极片粘贴到第一路径的第一穿带杆12上,以此类推,将所有极片都粘到第一穿带杆12或第二穿带杆16上,这时操作人员21退出设备的踏台3,再利用辅助穿带机构4,完成极片穿带。由于,该踏台出入口7位于极片午夜免费福利构8之后,而且可以正对分切刀架,所以可在不推出分切刀架的情况下,在设备上调整分切刀。本实施例中用于引导链条移动的辊的个数可以根据实际需要进行设置。

其中,还包括导出辊17和导入辊18,所述导出辊17设置于所述午夜免费福利构8的出料口处,用于把分切好的极片通过导出辊17从午夜免费福利构8导出,所述导入辊18设置于所述午夜免费福利构8的入料口处,用于将未分切的极片通过导入辊18导入到午夜免费福利构8中。

本实用新型实施例一种锂电池极片午夜免费福利的工作过程为:

锂电池极片通过沿物料输送方向由导入辊18输送至午夜免费福利构8的出料口,经过午夜免费福利构8完成极片分切后,从午夜免费福利构8的出料口导出。极片穿带时,操作人员21首先将极片穿过午夜免费福利构8,按照分切宽度规格将极片分切成多条;操作人员21进人踏台3,首先将分切成条的极片绕过导出辊17,然后分别按照第一走带路径和第二走带路径,将极片分别绕过第一过辊9和第二过辊13,按照走带路径的要求,把第一走带路径的极片粘在第一过辊9后面的第一穿带杆12上;之后将第二走带路径的极片,由靠近内墙板的那条极片开始,按照由里到外(即由内墙板向外墙板)的顺序逐一绕过第二过辊13后的第三过辊19,并把极片粘到第三过辊19后面的第二穿带杆16上,操作人员21往第二穿带杆16上粘贴极片的同时,向墙板外侧退出,直到粘贴完最外侧一条极片后,操作人员21退出踏台3;最后利用辅助穿带机构4完成极片穿带工作。

调整分切刀时,操作人员21可以站在踏台3位置,面对午夜免费福利构8,可对每一组分切刀进行精确调整,避免了将午夜免费福利构8由设备上退出等复杂操作过程。

设备需要清洁时,操作人员21可以站在或蹲在踏台3上,对设备的过辊、底座20及其他相关位置进行清洁,确保设备干净,避免各种污物对电池极片的二次污染。

以上所述仅为本实用新型的较佳实施例而已,并不用以限制本实用新型,凡在本实用新型的精神和原则之内,所作的任何修改、等同替换、改进等,均应包含在本实用新型的保护范围之内。

技术特征:

1.一种锂电池极片午夜免费福利,包括:内墙板、外墙板以及踏台,所述内墙板和所述外墙板相对设置,其特征在于,所述踏台设置于所述内墙板与外墙板之间的底部,所述外墙板包括第一墙板和第二墙板,且所述第一墙板与第二墙板之间设有踏台出入口。

2.根据权利要求1所述的锂电池极片午夜免费福利,其特征在于,所述踏台出入口的宽度400-600毫米。

3.根据权利要求1所述的锂电池极片午夜免费福利,其特征在于,还包括设置于所述内墙板与外墙板之间的午夜免费福利构,所述午夜免费福利构的出料口处连接有第一走带路径和第二走带路径。

4.根据权利要求3所述的锂电池极片午夜免费福利,其特征在于,所述第一走带路径包括第一过辊、第一链条和第一极片收卷,所述第一极片收卷通过第一链条与所述午夜免费福利构连接,所述第一过辊的两侧设有第一链轮,所述第一链轮与所述第一链条啮合连接。

5.根据权利要求4所述的锂电池极片午夜免费福利,其特征在于,所述第一过辊设置于所述第一墙板与所述内墙板之间且靠近所述踏台出入口位置。

6.根据权利要求4所述的锂电池极片午夜免费福利,其特征在于,在所述第一链条上设置有第一穿带杆。

7.根据权利要求3所述的锂电池极片午夜免费福利,其特征在于,所述第二走带路径包括第二过辊、第二链条和第二极片收卷,所述第二极片收卷通过第二链条与所述午夜免费福利构连接,所述第二过辊的两侧设有第二链轮,所述第二链轮与所述第二链条啮合连接。

8.根据权利要求7所述的锂电池极片午夜免费福利,其特征在于,所述第二过辊设置于所述第一墙板与所述内墙板之间且靠近所述踏台出入口位置。

9.根据权利要求7所述的锂电池极片午夜免费福利,其特征在于,在所述第二链条上设置有第二穿带杆。

10.根据权利要求3所述的锂电池极片午夜免费福利,其特征在于,还包括导出辊和导入辊,所述导出辊设置于所述午夜免费福利构的出料口处,所述导入辊设置于所述午夜免费福利构的入料口处。

技术总结

本实用新型锂电池极片切割领域,特别是涉及一种锂电池极片午夜免费福利,包括:内墙板、外墙板以及踏台,内墙板和外墙板相对设置,踏台设置于内墙板与外墙板之间的底部,外墙板包括第一墙板和第二墙板,且第一墙板与第二墙板之间设有踏台出入口。本实用新型将踏台设置在外墙板和内墙板之间,将外墙板设置为分体的第一墙板与第二墙板,第一墙板和第二墙板之间设有踏台出入口,操作人员可通过该出入口进入到踏台中,对于较宽的电池极片,操作人员可以在踏台上移动到合适位置,再进行穿带作业,也可以进行午夜免费福利构的调刀作业,提高了设备使用的便捷性和安全性,又提高了设备维护调整的效率。

技术研发人员:吴子敬;闫泽;聂红争;兰玉环

受保护的技术使用者:北京北方华创新能源锂电装备技术有限公司

技术研发日:2019.09.20

技术公布日:2020.06.09

网站地图