服务热线
180-5003-0233

1.本发明属于午夜免费福利技术领域,尤其涉及一种电解铜箔用午夜免费福利。
背景技术:
2.午夜免费福利是一种将宽幅纸张、云母带或薄膜等分切成多条窄幅午夜精品免费视频的机械设备,常用于造纸机械、电线电缆及印刷包装机械。午夜免费福利主要的运用于:无纺布;云母带、纸张、绝缘午夜精品免费视频及各种薄膜午夜精品免费视频分切、特别适宜于窄带(无纺布,纸张,绝缘午夜精品免费视频、云母带、薄膜等等)的分切,电解铜箔是覆铜板(ccl)及印制电路板(pcb)、锂离子电池制造的重要的午夜精品免费视频。在当今电子信息产业高速发展中,电解铜箔被称为电子产品信号与电力传输、沟通的“神经网络”,电解铜箔午夜免费福利是在生产过程中根据不同需要而对宽幅午夜精品免费视频进行切边、分切等的一种设备,其中电解铜箔午夜免费福利主要用于将宽幅卷材分切成各种适合生产需要的窄幅卷材,分条工艺包括放卷料和收卷料两个过程。
3.当现有的电解铜箔用午夜免费福利,在对电解铜箔进行分切时,一般采用简单的分切刀和放卷辊进行配合,从而实现对电解铜箔的分切,当时在高速的分切中,放卷辊容易移动。
4.由上可见,现有的电解铜箔用午夜免费福利,在分切中,容易造成放卷辊和电解铜箔的位移,从而影响分切质量,不适宜推广使用。
技术实现要素:
5.本发明实施例的目的在于提供一种电解铜箔用午夜免费福利,所述电解铜箔用午夜免费福利包括:支撑架;以及与所述支撑架连接的限位卡接组件,用于将铜箔进行限位,所述限位卡接组件包括与所述支撑架连接的限位组件和设在所述支撑架一侧的卡接组件;分切刀,设在所述支撑架一侧,用于对铜箔进行分切。
6.所述限位组件包括:导杆件,与所述支撑杆连接;以及与所述导杆件连接的限位块件;连接件,设在所述支撑架一侧,用于带动限位块件移动。
7.所述限位块件包括:限位板,设在所述导杆件一侧;以及与所述限位板连接的滑块;所述滑块的一侧还设有坡板;与所述坡板连接的连接弹簧。
8.所述连接件包括:滚轮,与所述支撑架连接;与所述滚轮贴合的连接带。
9.所述卡接组件包括:卡接件,设在所述支撑架一侧;以及与所述卡接件连接的转动杆件;设在所述转动杆件一侧的连接杆件;与所述连接杆件另一侧连接的滑套件;与所述滑套件连接动力柱件。
10.所述电解铜箔用午夜免费福利还包括:分切组件,与所述支撑架连接,用于对铜箔进行分切。
11.所述分切组件包括:与所述分切刀连接的传动件,用于带动分切刀移动;以及与所述传动件连接的动力件。
12.本发明提供的电解铜箔用午夜免费福利通过设置限位组件,使得装置得以对电解铜箔进
行限位,通过设置卡接组件,使得分切辊得得以与第一伺服电机卡接,避免了分切辊在高速转动中发生位移,影响分卷质量,在本实施例中,通过将限位组件和卡接组件结合,从而使得分切辊和电解铜箔均避免移动,从而极大的提高了本装置的分切能力。
附图说明
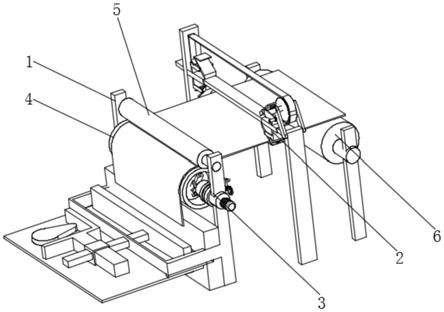
13.图1为本发明实施例提供的一种电解铜箔用午夜免费福利的结构示意图;图2为本发明实施例提供的一种电解铜箔用午夜免费福利限位组件结构示意图;图3为本发明实施例提供的一种电解铜箔用午夜免费福利限位板和滑块连接示意图;图4为本发明实施例提供的一种电解铜箔用午夜免费福利分切组件结构示意图;图5为本发明实施例提供的一种电解铜箔用午夜免费福利卡接组价结构示意图;图6为本发明实施例提供的一种电解铜箔用午夜免费福利a处结构放大图。
14.附图中:1、支撑架;2、限位组件;3、卡接组件;4、分切辊;5、压紧辊;6、放卷辊;7、分切刀;8、导杆;9、限位板;10、滑块;11、坡板;12、连接弹簧;13、滚轮;14、滚轮支架;15、连接带;16、卡接杆;17、转动杆;18、连接杆;19、调节套;20、动力柱;21、第一伺服电机;22、调节块;23、调节杆;24、蜗轮;25、蜗杆;26、手轮;27、连接块;28、滑杆;29、凸杆;30、凸轮;31、复位弹簧。
具体实施方式
15.为了使本发明的目的、技术方案及优点更加清楚明白,以下结合附图及实施例,对本发明进行进一步详细说明。应当理解,此处所描述的具体实施例仅仅用以解释本发明,并不用于限定本发明。
16.以下结合具体实施例对本发明的具体实现进行详细描述。
17.请参阅图1和图4,本发明实施例提供的一种电解铜箔用午夜免费福利,所述电解铜箔用午夜免费福利包括:支撑架1;以及与所述支撑架1连接的限位卡接组件3,用于将铜箔进行限位,所述限位卡接组件3包括与所述支撑架1连接的限位组件2和设在所述支撑架1一侧的卡接组件3;分切刀7,设在所述支撑架1一侧,用于对铜箔进行分切。
18.在本发明的实施例中,支撑架1的形状和高度等并不限定,同时也可根据限位卡接组件3的体积,设置多组支撑架1,其中支撑架1的一侧位于限位组件2的一侧还设有分切辊4,分切辊4的上方还设有压紧辊5,支撑架1上位于卡接组件3的一侧上设有放卷辊6,用于对电机铜箔进行放卷,分切刀7设在支撑架1一侧,利用分切刀7可对电解铜箔进行分切。
19.在本发明的一个实施例中,请参阅图2和图3,所述限位组件2包括:导杆件,与所述支撑杆连接;以及与所述导杆件连接的限位块件;连接件,设在所述支撑架1一侧,用于带动限位块件移动。
20.在本实施例中,导杆件为导杆8,导杆8与支撑架1固定连接,导板8的一侧滑动连接有限位块件,限位块件的数量为四个,两两一组对称分布在导杆8的两侧,利用连接件将导杆8两侧限位块件连接,通过控制连接件即可控制限位块件的移动,从而实现对电机铜箔的位置限定。
21.在本发明的一个实施例中,请参阅图3,所述限位块件包括:限位板9,设在所述导杆件一侧;以及与所述限位板9连接的滑块10;所述滑块10的一侧还设有坡板11;与所述坡板11连接的连接弹簧12。
22.在本实施例中,限位板9的下方固定连接有滑块10,滑块10的下方固定连接有另一组相同的限位块件,滑块10的一侧还连接有坡板11,坡板11上固定连接有连接弹簧12,连接弹簧12的一侧与限位板9固定连接。
23.在本实施例中,利用限位板9可将电解铜箔进行限位,滑块10可控制限位块件在导杆8上的位置。
24.在本发明的一个实施例中,请参阅图2,所述连接件包括:滚轮13,与所述支撑架1连接;与所述滚轮13贴合的连接带。
25.在本发明实施例中,滚轮13的外壳转动连接有滚轮支架14,滚轮支架14与支撑架1固定连接,滚轮13的上方还固定设有连接带15,连接带15的一侧与连接块件连接,连接带15的另一侧也连接有另一组连接块件,滚轮13的一侧还设有转把。
26.在实际使用中,当转动转把,使得滚轮13转动,使得连接带15在其上移动,从而使得连接带15带动两侧的连接块件移动,从而调节电解铜箔的位置,避免电解铜箔移动。
27.除了上述技术方案以外,本发明的实施例还可以,所述连接件包括:滚轮件,与所述支撑架1连接,以及与所述滚轮件贴合的连接带件;与所述滚轮件连接的伸缩件。
28.在本实施例中,滚轮件为滚轮13,连接带件为连接带15,伸缩件为液压伸缩杆,滚轮13转动连接在支撑架1的一侧,连接带15贴合在滚轮13上,当启动液压伸缩杆,使得滚轮13移动,通过连接带15,从而使得两侧的连接块件得以移动,从而实现对电解铜箔位置的限位。
29.在本发明的一个实施例中,请参阅图5,所述卡接组件3包括:卡接件,设在所述支撑架1一侧;以及与所述卡接件连接的转动杆件;设在所述转动杆件一侧的连接杆件;与所述连接杆件另一侧连接的滑套件;与所述滑套件连接动力柱件。
30.在本实施例中,卡接件包括卡接杆16,卡接杆16设在所述卡接组件3的一侧,卡接杆16的下方固定连接有转动杆件,其中转动杆件包括转动杆17,转动杆17的下方转动连接有连接杆件,其中连接杆件为连接杆18,连接杆18的另一侧转动连接有滑套件,其中滑套件为调节套19,调节套19滑动连接在动力柱件的一侧,其中动力柱件包括动力柱20和第一伺服电机21,动力柱20的一侧固定连接有第一伺服电机21,其中滑套件还包括与调节套19贴合和调节块22,调节块22的一侧转动连接有调节杆23,调节杆23的一侧固定连接有蜗轮24,蜗轮24的一侧啮合有蜗杆25,蜗杆25的上方固定连接有手轮26。
31.在本实施例中,当转动手轮26,使得蜗杆25转动,从而使得蜗轮24也随之转动,当蜗轮24转动,调节套19在动力柱20上移动,调节套19下方的连接杆18推动转动杆17,使得转动杆17转动,当转动杆17改变角度,卡接杆16与分切辊4卡接,从而实现卡接组件3与分切辊4完成卡接,并可实现对分切辊4位置的限定。
32.在本实施例中,分切辊4的一侧应设有卡接槽,使得卡接杆16能完美进入卡接槽,与分切辊4完成卡接。
33.在本发明的一个实施例中,请参阅图4,所述电解铜箔用午夜免费福利还包括:分切组件,与所述支撑架1连接,用于对铜箔进行分切。
34.在本实施例中,分切组件与支撑架1连接,依靠分切组件完成对电解铜箔的分切。
35.在本发明的一个实施例中,请参阅图4,所述分切组件包括:与所述分切刀7连接的传动件,用于带动分切刀7移动;以及与所述传动件连接的动力件。
36.在本实施例中,传动件包括连接块27,连接块27与分切刀7固定连接,连接块27的一侧固定连接有滑杆28,滑杆28的一侧滑动连接有凸杆29,凸杆29的一侧贴合有凸轮30,凸轮30的下方设有第二伺服电机,凸杆29的一侧还设有复位弹簧31,复位弹簧31的一侧与支撑架1固定连接。
37.在实际使用中,启动第二伺服电机,使得凸轮30转动并与凸杆29贴合,从而使得凸杆29移动,调动滑杆28移动,从而使得连接块27带动分切刀7移动,从而实现对电解铜箔的分切,当凸轮30脱离滑杆28,在复位弹簧31的作用下,将滑杆28拉回,从而使得分切刀7离开电解铜箔,完成一侧切割过程。
38.在本实施例中,将成卷的电解铜箔放置在放卷辊6上,将电解铜箔穿过分切辊4和压紧辊5,当转动手轮26,使得蜗杆25转动,从而使得蜗轮24也随之转动,当蜗轮24转动,调节套19在动力柱20上移动,调节套19下方的连接杆18推动转动杆17,使得转动杆17转动,当转动杆17改变角度,卡接杆16与分切辊4卡接,从而实现卡接组件3与分切辊4完成卡接,并可实现对分切辊4位置的限定,启动第一伺服电机21,使得分切辊4带动电机铜箔移动,控制第二伺服电机转速,使得凸轮30转动并与凸杆29贴合,从而使得凸杆29移动,调动滑杆28移动,从而使得连接块27带动分切刀7移动,从而实现对电解铜箔的分切,当凸轮30脱离滑杆28,在复位弹簧31的作用下,将滑杆28拉回,从而使得分切刀7离开电解铜箔,完成一侧切割过程,从而实现电机分切刀7对电解铜箔的分切。
39.当转动转把,使得滚轮13转动,使得连接带15在滚轮13上移动,从而使得连接带15带动两侧的连接块件移动,从而调节电解铜箔的位置,避免电解铜箔在分切中移动。
40.利用限位板9可将电解铜箔进行限位,滑块10可控制限位块件在导杆8上的位置,从而实现对电解铜箔位置的调节,得以完成对电解铜箔位置的固定。
41.对于本领域技术人员而言,虽然说明了本发明的几个实施方式以及实施例,但这些实施方式以及实施例是作为例子而提出的,并不意图限定发明的范围。这些新的实施方式能够以其他各种方式实施,在不脱离发明的主旨的范围内能够进行各种省略、替换、变更。这些实施方式及其变形包含在发明的范围及主旨中,并且包含在权利要求书所记载的发明和其等效的范围内。
42.此外,应当理解,虽然本说明书按照实施方式加以描述,但并非每个实施方式仅包含一个独立的技术方案,说明书的这种叙述方式仅仅是为清楚起见,本领域技术人员应当将说明书作为一个整体,各实施例中的技术方案也可以经适当组合,形成本领域技术人员可以理解的其他实施方式。
技术特征:
1.一种电解铜箔用午夜免费福利,其特征在于,所述电解铜箔用午夜免费福利包括:支撑架;以及与所述支撑架连接的限位卡接组件,用于将铜箔进行限位,所述限位卡接组件包括与所述支撑架连接的限位组件和设在所述支撑架一侧的卡接组件;分切刀,设在所述支撑架一侧,用于对铜箔进行分切。2.根据权利要求1所述的电解铜箔用午夜免费福利,其特征在于,所述限位组件包括:导杆件,与所述支撑杆连接;以及与所述导杆件连接的限位块件;连接件,设在所述支撑架一侧,用于带动限位块件移动。3.根据权利要求2所述的电解铜箔用午夜免费福利,其特征在于,所述限位块件包括:限位板,设在所述导杆件一侧;以及与所述限位板连接的滑块;所述滑块的一侧还设有坡板;与所述坡板连接的连接弹簧。4.根据权利要求1所述的电解铜箔用午夜免费福利,其特征在于,所述连接件包括:滚轮,与所述支撑架连接;与所述滚轮贴合的连接带。5.根据权利要求1所述的电解铜箔用午夜免费福利,其特征在于,所述卡接组件包括:卡接件,设在所述支撑架一侧;以及与所述卡接件连接的转动杆件;设在所述转动杆件一侧的连接杆件;与所述连接杆件另一侧连接的滑套件;与所述滑套件连接动力柱件。6.根据权利要求1所述的电解铜箔用午夜免费福利,其特征在于,所述电解铜箔用午夜免费福利还包括:分切组件,与所述支撑架连接,用于对铜箔进行分切。7.根据权利要求6所述的电解铜箔用午夜免费福利,其特征在于,所述分切组件包括:与所述分切刀连接的传动件,用于带动分切刀移动;以及与所述传动件连接的动力件。
技术总结
本发明属于午夜免费福利技术领域,尤其涉及一种电解铜箔用午夜免费福利,所述电解铜箔用午夜免费福利包括:支撑架;以及与所述支撑架连接的限位卡接组件,用于将铜箔进行限位,所述限位卡接组件包括与所述支撑架连接的限位组件和设在所述支撑架一侧的卡接组件;分切刀,设在所述支撑架一侧,用于对铜箔进行分切;所述限位组件包括:导杆件,与支撑杆连接;以及与所述导杆件连接的限位块件;连接件,设在所述支撑架一侧。本发明通过设置卡接组件,使得分切辊得得以与第一伺服电机卡接,避免了分切辊在高速转动中发生位移,从而影响分卷质量,在本实施例中,通过将限位组件和卡接组件结合,从而使得分切辊和电解铜箔均避免移动,从而极大的提高了本装置的分切能力。的分切能力。的分切能力。
技术研发人员:黄锐
受保护的技术使用者:深圳市金诚盛电子午夜精品免费视频有限公司
技术研发日:2021.07.02
技术公布日:2021/10/7