服务热线
180-5003-0233

本实用新型涉及薄膜午夜免费福利技术领域,尤其涉及一种薄膜午夜免费福利圆刀调节结构。
背景技术:
薄膜午夜免费福利可将:聚酯薄膜、镀铝薄膜、boppldpe、hdpe、lldpe、pp等薄膜。也可将云母带、pe分切成不同尺寸,广泛运用于包装及其他覆膜行业,现有的薄膜午夜免费福利圆刀调节结构,不方便调节,稳定性一般,所以现提出一种薄膜午夜免费福利圆刀调节结构。
技术实现要素:
本实用新型的目的是为了解决现有技术中存在的缺点,而提出的一种薄膜午夜免费福利圆刀调节结构。
为了实现上述目的,本实用新型采用了如下技术方案:
一种薄膜午夜免费福利圆刀调节结构,包括两个平行设置的墙板,其中一个所述墙板侧壁转动连接有定位轴,且定位轴一端插接有下刀轴,所述下刀轴一端与另外一个墙板侧壁转动连接,两个所述墙板之间转动连接有同一个旋转轴,所述旋转轴周面上固定设置有两个平行设置的连接板,且两个连接板之间转动连接有同一个上刀轴,所述上刀轴上安装有多个切刀,其中一个墙板侧壁设有用于驱动下刀轴旋转的第一驱动机构,且另外一个墙板侧壁设有用于驱动旋转轴旋转的第二驱动机构,远离第二驱动机构一侧的墙板侧壁设有用于实现旋转轴轴向移动的调节机构,所述下刀轴和上刀轴通过齿轮联动。
优选的,其中一个所述墙板侧壁设有转轴,且转轴转动连接有旋臂,且旋臂一端连接有换刀座。
优选的,所述第一驱动机构包括固定设置在墙板侧壁上的联动电机,且联动电机输出轴固定有第一皮带轮,所述下刀轴一端固定连接有第二皮带轮,且第一皮带轮和第二皮带轮之间通过皮带形成传动配合。
优选的,所述第二驱动机构包括设置在墙板上的电机,且电机输出轴固定有多棱轴,且旋转轴端部设有与多棱轴相适配的插槽,两个所述墙板侧壁均设有供旋转轴穿过的穿孔。
优选的,所述调节机构包括固定在远离电机一侧的所述墙板上的安装架,且安装架一侧固定有气缸,所述气缸伸缩端与旋转轴一端转动连接。
本实用新型的有益效果为:
上、下刀换刀灵活,定位轴与下刀轴分离后,下刀轴呈悬臂状态,此时可利用中间空隙进行下刀更换,上刀轴与换刀座对接后,移至换刀座上锁紧,随换刀座一起移出工作空间,即可进行上刀更换,自动化调节进刀深度,根据需求调节气缸行程即可控制进刀深度,每一动作运行到位后都会有锁紧操作,稳定性上更牢固可靠。
附图说明
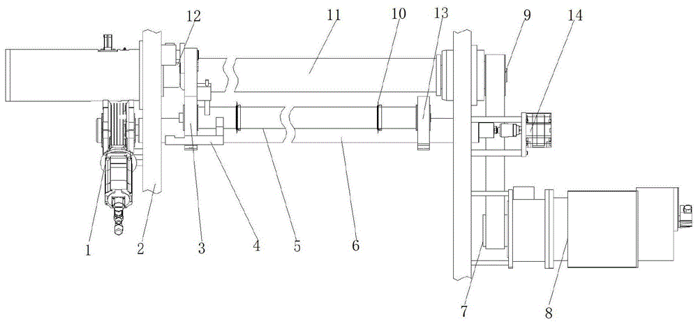
图1为本实用新型提出的一种薄膜午夜免费福利圆刀调节结构的结构示意图。
图中:1电机、2墙板、3旋臂、4换刀座、5上刀轴、6旋转轴、7第一皮带轮、8联动电机、9第二皮带轮、10切刀、11下刀轴、12定位轴、13连接板、14气缸。
具体实施方式
下面将结合本实用新型实施例中的附图,对本实用新型实施例中的技术方案进行清楚、完整地描述,显然,所描述的实施例仅仅是本实用新型一部分实施例,而不是全部的实施例。
参照图1,一种薄膜午夜免费福利圆刀调节结构,包括两个平行设置的墙板2,其中一个墙板2侧壁转动连接有定位轴12,且定位轴12一端插接有下刀轴11,下刀轴11一端与另外一个墙板2侧壁转动连接,两个墙板2之间转动连接有同一个旋转轴6,旋转轴6周面上固定设置有两个平行设置的连接板13,且两个连接板13之间转动连接有同一个上刀轴5,上刀轴5上安装有多个切刀10,其中一个墙板2侧壁设有用于驱动下刀轴11旋转的第一驱动机构,且另外一个墙板2侧壁设有用于驱动旋转轴6旋转的第二驱动机构,远离第二驱动机构一侧的墙板2侧壁设有用于实现旋转轴6轴向移动的调节机构,下刀轴11和上刀轴5通过齿轮联动。
本实用新型中,其中一个墙板2侧壁设有转轴,且转轴转动连接有旋臂3,且旋臂3一端连接有换刀座4,第一驱动机构包括固定设置在墙板2侧壁上的联动电机8,且联动电机8输出轴固定有第一皮带轮7,下刀轴11一端固定连接有第二皮带轮9,且第一皮带轮7和第二皮带轮9之间通过皮带形成传动配合,第二驱动机构包括设置在墙板2上的电机1,且电机1输出轴固定有多棱轴,且旋转轴6端部设有与多棱轴相适配的插槽,两个墙板2侧壁均设有供旋转轴6穿过的穿孔,调节机构包括固定在远离电机1一侧的墙板2上的安装架,且安装架一侧固定有气缸14,气缸14伸缩端与旋转轴6一端转动连接。
工作原理:下刀片安装在下刀轴11上,上刀片安装在上刀轴5上,下刀轴11和上刀轴5通过齿轮联动,控制电机1工作,带动旋转轴6旋转,由电机1控制进刀深度,穿膜后,将换刀座4摆至上部,通过定位销锁紧旋臂3,运行时定位轴与下刀轴11配合紧密,信号发出,气缸14带动旋转轴6横向移动,电机1带动旋转轴6旋转,实现上刀轴5的联动,根据需要调整进刀深度,进行分切,分切完成后控制电机1工作,使得连接板13回摆至水平,换刀座4亦回摆至水平位置,连接板13与换刀座6配合,上刀轴5退至换刀座4,并锁紧,水平摆动至安全位置进行换刀。
以上所述,仅为本实用新型较佳的具体实施方式,但本实用新型的保护范围并不局限于此,任何熟悉本技术领域的技术人员在本实用新型揭露的技术范围内,根据本实用新型的技术方案及其实用新型构思加以等同替换或改变,都应涵盖在本实用新型的保护范围之内。
技术特征:
1.一种薄膜午夜免费福利圆刀调节结构,包括两个平行设置的墙板(2),其特征在于,其中一个所述墙板(2)侧壁转动连接有定位轴(12),且定位轴(12)一端插接有下刀轴(11),所述下刀轴(11)一端与另外一个墙板(2)侧壁转动连接,两个所述墙板(2)之间转动连接有同一个旋转轴(6),所述旋转轴(6)周面上固定设置有两个平行设置的连接板(13),且两个连接板(13)之间转动连接有同一个上刀轴(5),所述上刀轴(5)上安装有多个切刀(10),其中一个墙板(2)侧壁设有用于驱动下刀轴(11)旋转的第一驱动机构,且另外一个墙板(2)侧壁设有用于驱动旋转轴(6)旋转的第二驱动机构,远离第二驱动机构一侧的墙板(2)侧壁设有用于实现旋转轴(6)轴向移动的调节机构,所述下刀轴(11)和上刀轴(5)通过齿轮联动。
2.根据权利要求1所述的一种薄膜午夜免费福利圆刀调节结构,其特征在于,其中一个所述墙板(2)侧壁设有转轴,且转轴转动连接有旋臂(3),且旋臂(3)一端连接有换刀座(4)。
3.根据权利要求2所述的一种薄膜午夜免费福利圆刀调节结构,其特征在于,所述第一驱动机构包括固定设置在墙板(2)侧壁上的联动电机(8),且联动电机(8)输出轴固定有第一皮带轮(7),所述下刀轴(11)一端固定连接有第二皮带轮(9),且第一皮带轮(7)和第二皮带轮(9)之间通过皮带形成传动配合。
4.根据权利要求3所述的一种薄膜午夜免费福利圆刀调节结构,其特征在于,所述第二驱动机构包括设置在墙板(2)上的电机(1),且电机(1)输出轴固定有多棱轴,且旋转轴(6)端部设有与多棱轴相适配的插槽,两个所述墙板(2)侧壁均设有供旋转轴(6)穿过的穿孔。
5.根据权利要求4所述的一种薄膜午夜免费福利圆刀调节结构,其特征在于,所述调节机构包括固定在远离电机(1)一侧的所述墙板(2)上的安装架,且安装架一侧固定有气缸(14),所述气缸(14)伸缩端与旋转轴(6)一端转动连接。
技术总结
本实用新型公开了一种薄膜午夜免费福利圆刀调节结构,包括两个平行设置的墙板,其中一个所述墙板侧壁转动连接有定位轴,且定位轴一端插接有下刀轴,所述下刀轴一端与另外一个墙板侧壁转动连接,两个所述墙板之间转动连接有同一个旋转轴,所述旋转轴周面上固定设置有两个平行设置的连接板,且两个连接板之间转动连接有同一个上刀轴,所述上刀轴上安装有多个切刀,其中一个墙板侧壁设有用于驱动下刀轴旋转的第一驱动机构,且另外一个墙板侧壁设有用于驱动旋转轴旋转的第二驱动机构。本实用新型可进行上刀更换,自动化调节进刀深度,根据需求调节气缸行程即可控制进刀深度,每一动作运行到位后都会有锁紧操作,稳定性上更牢固可靠。
技术研发人员:吕振彩
受保护的技术使用者:上海轲舜机电设备有限公司
技术研发日:2020.03.11
技术公布日:2020.10.27