服务热线
180-5003-0233

1.本发明涉及一种医用胶带全自动午夜免费福利,属于医用胶带加工设备技术领域。
背景技术:
2.医用胶带主要是以织物(多数为棉布或无纺布)为基材,涂有氧化锌和医用胶为主要原料合成的胶浆、医用压敏胶的聚氨酯膜制成。医用胶带收卷在芯管上以后,需将其分切成小卷,医用胶带的分切有手工分切和机械分切两种,手工分切由于效率低、安全性差以及劳动强度大等缺点,而被机械分切所取代。
3.现有的医用胶带午夜免费福利如申请公布号是cn104139417a的中国发明专利申请所公布,其包括机架、换料机构和切刀机构,换料机构的动力装置包括换料电机和转料电机,转料电机通过换料机构中心轴与双联支架相连,双联支架另一端通过切料轴固定装置连有两根切料轴,其中靠近切刀机构的转料轴的右端设有分切固定装置,切料轴的左端设有刹车片,并设有与转料电机相连的单向离合器相配合的固定轴;切刀机构包括刀盘转轴及其两端的刀架好中间的刀盘,切刀通过螺钉固定在刀盘上,切刀机构设有刀片定位装置,本午夜免费福利还包括与换料电机、转料电机、切刀旋转电机、分切固定装置、刀架移动电机和进刀驱动装置相连接的plc控制系统,并设有人机交互界面实现自动控制。
4.上述专利仅分切程序实现了机械分切,而其它的上料、下料等仍需人工完成,整体上医用胶带的分切效率仍较低,由于将待分切的医用胶带放置在切料轴上以及分割完成后将从切料轴上取下成品医用胶带由人工完成,故其医用胶带的分切效率仍然较低,安全性亦有待提高。
技术实现要素:
5.本发明的目的是提供一种医用胶带全自动午夜免费福利,解决现有技术中医用胶带分切效率低及安全性差的技术缺陷。
6.为解决上述问题,本发明所采取的技术方案是:一种医用胶带全自动午夜免费福利,包括上料机、分割装置、下料装置和机械手;上料机用于放置并输送待分割的医用胶带;分割装置用于分割医用胶带;下料装置用于输送分割后成品的医用胶带;机械手上案安装上下料治具,用于抓取上料机上待分割的医用胶带套设于分割装置上,并且在分割完成后抓取成品的医用胶带放置到下料装置上。本发明在使用时,将待分切的医用胶带放置于上料机上,由下料机输送,故在使用时人员远离分割装置,提高了医用胶带分割的安全性,本发明由机械手抓取待分切的医用胶带上料,进一步的提高了安全性,且由机器人将待分切的医用胶带放置到分割装置上,并且由机械手将成品医用胶带从分割装置上取下,相较于人工放置和取下医用胶带,提高放置医用胶带的效率。
7.作为本发明的进一步改进,上料机包括输送机构a、对中装置a、输送机构b、对中装置b和输送机构c;输送机构a包括机架a、输送带a和驱动电机a,输送带a绕在机架a上并且由驱动电机a驱动在机架a上水平输送;对中装置a设置在机架a上,用于使放置于输送带a上待
分割的医用胶带在输送带a中部向前输送;输送机构b包括机架b、输送带b和驱动电机b,输送带b绕在机架b上并且由驱动电机b驱动在机架b上水平输送,输送带a上待分割的医用胶带自其端部向下掉落到输送带b上,由输送带b继续向前输送;对中装置b安装在机架b上,用于使由输送带a上掉落的待分割的医用胶带在输送带b的中部向前输送;输送机构c包括机架c、驱动电机c和两根同步带,两根同步带分别绕在机架c的左右两侧,并且在每根同步带上均等间隔的设置有支撑架,支撑架上远离同步带的方向开设有u形支撑槽,用于接收从输送带b端部向下掉落的待分割的医用胶带,两根同步带同步传送,用于将支撑槽内待分割的医用胶带向前输送。本发明中的上料装置由三部分组成,其中输送机构a向输送装置b输关待分切的医用胶带时,对待分割的医用胶带进行居中处理,在输送装置b向输送装置c上输送待分切的医用胶带时,再次对待分切的医用胶带进行居中处理,使待分切的医用胶带可以准确的输送到输送装置c上,输送装置c由于采用同步带上固定支撑架,由支撑架上的u形支撑槽支撑待分切的医用胶带,故待分切的医用胶带在输送装置c上输送时,不会相对输送装置c在水平方向上滚动,方便机械手抓取,进一步的提高本发明分切医用胶带的效率。
8.作为本发明的进一步改进,对中装置a与对中装置b的结构相同,对中装置a包括左挡板单元、左连接板单元、右挡板单元和右连接板单元;左挡板单元的前端沿前后方向设置,左挡板单元的后端向左弯折,左挡板单元的底部与输送带a间留有间隙;左连接板单元的右端与左挡板单元固定连接,左连接板单元的左端与机架a的左端固定连接,用于将左挡板单元支撑在机架a上,并且左连接板单元的下表面与输送带a间留有间隙;右挡板单元的前端与左挡板单元的前端平行,右挡板单元的后端向右弯折,右挡板单元的后端与左挡板单元的后端呈“八”字形分布,并且右挡板单元的底端与输送带a之间留有间隙,右挡板单元前端与左挡板单元前端之间的距离大于或等于待分割的医用胶带的长度;右连接板单元的左端与右挡板单元固定连接,右连接板单元的右端与机架a的右端固定连接,用于将右挡板单元支撑在机架a上,并且右连接板单元与输送带a之间留有间隙。本发明中的左挡板单元与右挡板单元从左右两侧对待分切的医用胶带进行阻挡,使待分切的医用胶带在向前输送的同时朝向输送带的中间方向移动,而左挡板单元和右挡板单元前端平行的部分,避免待分切的医用胶带在输送过程中沿左右方向产生位移。
9.作为本发明的进一步改进,对中装置a还包括前挡板单元,前挡板单元沿左右方向设置在输送带a的前方,前挡板单元与输送带a前端之间的距离大于或等于待分割的医用胶带的直径,前挡板单元的左右两端分别与机架a的左右两端固定连接,输送带a上待分割的医用胶带自输送带a的前端与前挡板单元之间向下掉落到输送带b上。本发明设置前挡板单元,减小待分切医用胶带的水平初速度,使输送带a上待分切的医用胶带逐个向下掉落到输送带b上,而不会由于医用胶带具有不同的水平初速度而在输送带b上产生重叠。
10.作为本发明的进一步改进,上下料治具包括第一手指气缸和两个夹板;第一手指气缸的缸体用于安装在机械手上;两个夹板分别安装在第一手指气缸的两个手指上,并且两个夹板随第一手指气缸手指的移动而同步相向移动或者同步远离移动。本发明中的第一手指气缸驱动两个夹板同步相向移动或者同步远离运动,在两个夹板同步相向移动时,用于夹持待分切的医用胶带,而两个夹板同步远离移动时,用于公开待分切的医用胶带。
11.作为本发明的进一步改进,还包括气缸连接板和两个第二手指气缸,气缸连接板安装的中部安装在机械手上,第一手指气缸的缸体安装在气缸连接板的中部,两个第二手
指气缸的缸体分别安装在气缸连接板的两端,并且第二手指气缸的手指与夹板位于气缸连接板的同一侧,第二手指气缸用于在使用状态下从两端夹紧待分割医用胶带。本发明设置气缸连接板,方便上下料治具的安装,在气缸连接板的两端安装第二手指气缸,可从夹板的两端处夹持待分切的医用胶带,在从分割装置上取下成品医用胶带时,第二手指气缸又可阻止成品医用胶带从夹板的端部滑落。
12.作为本发明的进一步改进,分割装置包括分割机架、转动头、支撑轴和移动架;转动头转动安装在分割机架上,并且由安装在分割机架上的转动头驱动装置驱动每次旋转180度;支撑轴数量为两根以上,支撑轴沿圆周方向均匀分布在转动头上,并且由安装在分割机架上的支撑轴驱动电机驱动旋转,支撑轴用于接收由机械手抓取的待分割的医用胶带;移动架安装在分割机架上并且与分割机架构成水平移动副,分割机架上设置有移动架驱动装置用于驱动移动架在分割机架上水平移动,移动架上安装有分割刀具,分割刀具可在移动架上沿着与支撑轴垂直的方向水平移动,用于调整分割刀具与支撑轴之间的距离对支撑轴上的医用胶带进行分割,分割刀具随移动架的移动用于将支撑轴上的待分割医用胶带分切成多段。本发明中的转动头用于转换支撑轴的位置,本发明中支撑轴的数量为两根以上,可以在切割其中一部分支撑轴上的医用胶带时,由机械手从另一部分支撑轴上取下分切完成的成品医用胶带,并且将待分切的医用胶带放置于该远离分割刀具的支撑轴上,使本发明可以持续的对医用胶带进行分切,更进一步的提高本发明分切医用胶带的效率。
13.作为本发明的进一步改进,还包括支撑块,支撑块滑动设置在分割机架上远离转动头的一端,分割机架上设置有支撑块驱动装置,用于驱动支撑块在分割机架上水平移动,用于调整支撑块与支撑轴之间的距离,支撑块上靠近支撑轴的一侧固定有支撑套,在分割医用胶带的状态下,支撑块滑动至支撑轴的端部伸入支撑套内。本发明设置支撑块,由支撑块上的支撑套与正在分切医用胶带的支撑轴对接,防止正在分切医用胶带的支撑轴发生摆动,提高本发明分切医用胶带精度。
14.作为本发明的进一步改进,上料机的长度方向与分割装置的长度方向垂直,并且上料机的前端靠近分割装置的右端,机械手设置在上料机的左侧,且机械手位于分割装置的后侧。本发明中上料机和分割装置不会对机械手的工作产生干扰。
15.作为本发明的更进一步改进,还包括废料箱,废料箱设置在上料机的前侧,用于放置切割产生的废料。本发明中的废料箱可以收集医用胶带分切中产生的废料,如边沿部分被切除的不合格的产品等。
16.综上所述,本发明的有益效果是:本发明在使用时,由机械手将待分切的医用胶带放置到分割装置上,并且由机械手将分切后的成口医用胶带从分割装置上取下,不需要人工靠近分割装置,故提高了医用胶带分切的安全性,本发明中上料机与机械手相配合,提高医用胶带分切的效率。
附图说明
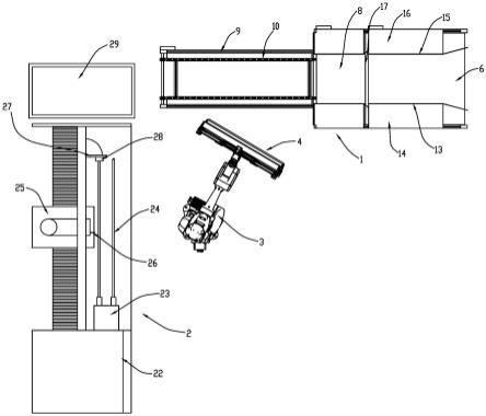
17.图1是本发明的俯视图(不包含下料装置)。
18.图2是本发明的立体结构示意图(不包含下料装置和分割装置)。
19.图3是图2中a处的局部放大图。
20.图4是图2中b处的局部放大图。
21.其中:1、上料机;2、分割装置;3、机械手;4、上下料治具;5、机架a;6、输送带a;7、机架b;8、输送带b;9、机架c;10、同步带;11、支撑架;12、支撑槽;13、左挡板单元;14、左连接板单元;15、右挡板单元;16、右连接板单元;17、前挡板单元;18、第一手指气缸;19、夹板;20、气缸连接板;21、第二手指气缸;22、分割机架;23、转动头;24、支撑轴;25、移动架;26、分割刀具;27、支撑块;28、支撑套;29、废料箱。
具体实施方式
22.下面结合附图对本发明的具体实施方式做进一步的说明。
23.如图1所示的医用胶带全自动午夜免费福利,包括上料机1、分割装置2、下料装置(图中未示出)和机械手3;上料机1用于放置并向前输送待分割的医用胶带,本发明以上料机1输送待分割的医用胶带的方向为方向前,与方向前相反的方向为方向后;本发明中的分割装置2用于分割医用胶带,将缠绕在芯管上的胶带分割成较短的胶带卷;本发明中的下料装置用于输送分割后成品的医用胶带,将成品医用胶带输送到收料处,收取成品的医用胶带并非本发明的改进点,故对收取成品的医用胶带本发明不予详述;本发明中的机械手3上案安装有上下料治具4,该上下料治具4用于抓取上料机1上待分割的医用胶带套设于分割装置2上,并且在分割完成后抓取成品的医用胶带放置到下料装置上。
24.如图1和图2所示,本发明中的上料机1包括输送机构a、对中装置a、输送机构b、对中装置b和输送机构c;本发明中的输送机构a包括机架a5、输送带a6和驱动电机a(图中未示出),输送带a6绕在机架a5上并且由驱动电机a驱动在机架a5上水平输送,本发明在机架a5的前后两端备采用轴承转动安装有一根转动轴a(图中未示出),输送带a6的前后两端分别绕过前后两根转动轴a,其发明中的驱动电机a采用电机座a(图中未示出)可拆卸的安装在机架a5上,并且驱动电机a的输出轴与其中一根转动轴a采用联轴器连接,本发明优选的将驱动电机a安装在机架a5前端的一侧,将驱动电机a5的输出轴与前方一根转动轴连接,由驱动电机a驱动转动轴a转动,从而实现输送带a6的传送本发明中的对中装置a设置在机架a5上,用于使放置于输送带a6上待分割的医用胶带在输送带a6中部向前输送;本发明中的对中装置a包括左挡板单元13、左连接板单元14、右挡板单元15和右连接板单元16,左挡板单元13的前端沿前后方向设置,左挡板单元13的后端向左弯折,左挡板单元13的底部与输送带a6间留有间隙,使左挡板单元13的底部与输送带a6不接触,避免对输送带a6的传送产生干扰;本发明中左连接板单元14的右端与左挡板单元13固定连接,如将左连接板单元14的右端与左挡板单元13焊接固定等,由左连接板单元14向上支撑起左挡板单元13,左连接板单元14的左端与机架a5的左端固定连接,用于将左挡板单元13支撑在机架a5上,如将左连接板单元14的左端采用多根螺栓可拆卸的安装在机架a5的左端上,本发明中的左连接板单元14的下表面与输送带a6间留有间隙,使左连接板单元14与输送带a6不接触,使输送带a6可顺畅的传送;本发明中的右挡板单元15的前端与左挡板单元13的前端平行,右挡板单元15的后端向右弯折,右挡板单元15的后端与左挡板单元13的后端呈“八”字形分布,即本发明中左挡板单元13与右挡板单元15后端的距离,自后向前逐渐减小直至两者平行的部位,两者之间的距离保持不变,本发明中右挡板单元15的底端与输送带a6之间留有间隙,如此右挡板单元15与输送带a6不相接触,右挡板单元15前端与左挡板单元13前端之间的距离大于或等于待分割的医用胶带的长度,本发明中
的右挡板单元15与左挡板单元13之间的距离优选的设置为略大于待分割的医用胶带的长度,使待分割的医用胶带可在左挡板单元13与右挡板单元15之间输送;本发明中右连接板单元16的左端与右挡板单元15固定连接,如采用焊接的方式固定,右连接板单元16的右端与机架a5的右端固定连接,用于将右挡板单元15支撑在机架a5上,本发明优选的将右连接板单元16的右端采用多根螺栓可拆卸的安装在机架a5的顶部,本发明中的右连接板单元16与输送带a6之间留有间隙,使右连接板单元16与输送带a6之间不相接触。本发明中的对中装置a还包括前挡板单元17,该前挡板单元17沿左右方向设置在输送带a6的前方,前挡板单元17与输送带a6前端之间的距离大于或等于待分割的医用胶带的直径,本发明优选的将前挡板单元17与输送带a6前端之间的距离设置为略大于待分割的医用胶带的直径,前挡板单元17的左右两端分别与机架a5的左右两端固定连接,如将前挡板单元17的左右两端采用螺栓与机架a5的左右两端可拆卸的安装,输送带a6上待分割的医用胶带自输送带a6的前端与前挡板单元17之间向下掉落到输送带b8上,本发明中的前挡板单元17对待分割的医用胶带产生阻挡,避免胶带自输送带a6上滚到输送装置b上时由于具备水平初速度且不同的医用胶带的水平初速度差异而使医用胶带在上下方向上产生叠加等。
25.本发明中的输送机构b包括机架b7、输送带b8和驱动电机b,输送带b8绕在机架b7上并且由驱动电机b驱动在机架b7上水平输送,输送带a6上待分割的医用胶带自其端部向下掉落到输送带b8上,由输送带b8继续向前输送,本发明中的输送机构b的结构与输送机构a的结构相同,具体可参考输送机构a,本发明不予赘述。本发明中的机架b7的高度小于机架a5的高度,机架b7的后端位于机架a5前端的下方,即本发明中的输送带b8的后端位于输送带a6前端的下方,如此可确保待分割的医用胶带自输送带a6的前端向下掉落至输送带b8上,并由输送带b8继续向前输送。本发明中的对中装置b安装在机架b7上,用于使由输送带a6上掉落的待分割的医用胶带在输送带b8的中部向前输送,该对中装置b与对中装置a的结构相同,具体可参考对中装置a,本发明不予赘述。
26.如图3所示,本发明中的输送机构c包括机架c9、驱动电机c和两根同步带10,两根同步带10分别绕在机架c9的左右两侧,本发明在机架c9的两端各转动设置有一根转动轴c(图中未示出),并在转动轴c的左右两端各设置有一个带轮,左侧一根同步带10的前后两端分别绕在两根转动轴c上左端的一个带轮上,右侧一根同步带10的前后两端分别绕在两根转动轴c上右端的一个带轮上,在每根同步带10上均等间隔的设置有支撑架11,两根同步带10上支撑架11的数量相等,并且相邻两个支撑架11间的距离也相等,本发明中的支撑架11可固定设置在同步带10上,以避免在使用状态下支撑架11与同步带10之间产生相对滑动,在支撑架11上远离同步带10的方向开设有u形支撑槽12,用于接收从输送带b8端部向下掉落的待分割的医用胶带,两根同步带10同步传送,用于将支撑槽12内待分割的医用胶带向前输送,本发明中的机架c9的高度小于机架b7的高度,并且机架c9的后端伸入机架b7前端的下方,即同步带10的后端位于输送带b8前端的下方,从输送带b8的前端向下掉落的待分割的医用胶带的两端由两根同步带10上支撑架11的支撑槽12支撑,并且随着同步带10的传送将支撑槽12内的待分割医用胶带向前输送。
27.如图4所示,本发明中的上下料治具4包括第一手指气缸18和两个夹板19;第一手指气缸18的缸体用于安装在机械手3上,两个夹板19分别安装在第一手指气缸18的两个手指上,并且两个夹板19随第一手指气缸18手指的移动而同步相向移动或者同步远离移动,
通过夹板19的相互靠近或者相互远离以夹取或者松开胶带。本发明优选的还设置有气缸连接板20和两个第二手指气缸21,气缸连接板20安装的中部安装在机械手3上,本发明中气缸连接板20与机械手3的安装方式系现有技术,本发明不予详述,第一手指气缸18的缸体安装在气缸连接板20的中部,两个第二手指气缸21的缸体分别安装在气缸连接板20的两端,并且第二手指气缸21的手指与夹板19位于气缸连接板20的同一侧,第二手指气缸21用于在使用状态下从两端夹紧待分割医用胶带。本发明优选的在机械手3上安装两个上下料治具4,两个上下料治具4的结构相同,可一次夹取更多的胶带卷。
28.如图1所示,本发明中的分割装置2包括分割机架22、转动头23、支撑轴24和移动架25;本发明中的转动头23转动安装在分割机架22上,并且由安装在分割机架22上的转动头驱动装置驱动每次旋转180度;本发明中的支撑轴24数量为两根以上,本发明优选的设置四根支撑轴24,该四根支撑轴24沿圆周方向均匀分布在转动头23上,并且由安装在分割机架22上的支撑轴驱动电机驱动旋转(图中未示出),支撑轴24用于接收由机械手3抓取的待分割的医用胶带;本发明中转动头23与分割机架22的连接方式以及驱动转动头23转动的结构、驱动支撑轴24转动的结构均系现有技术,具体可参考申请公布号是cn110803551a的中国主发明专利申请文件所公开的转动头的结构,本发明不予详述。
29.本发明中的移动架25安装在分割机架22上并且与分割机架22构成水平移动副,本发明可采用滑块与导轨相配合的方式实现移动架25与分割机架22的相对滑动,分割机架22上设置有移动架驱动装置,用于驱动移动架25在分割机架22上水平移动,本发明中的移动架驱动装置可以采用电机驱动丝杆,丝杆与移动架螺纹配合的方式,实现移动架25在分割机架22上的滑动,本发明在移动架25上安装有分割刀具26,分割刀具26可在移动架25上沿着与支撑轴24垂直的方向水平移动,如本发明在移动架25上滑动安装有刀具座,刀具26安装在刀具座上,并且在移动架上安装有刀具驱动装置(如气缸等),用于调整分割刀具26与支撑轴24之间的距离对支撑轴24上的医用胶带进行分割,本发明中的分割刀具26随移动架25的移动用于将支撑轴24上的待分割医用胶带分切成多段。
30.为了提高本发明中支撑轴24使用状态下的稳定性,本发明设置有支撑块27,支撑块27滑动设置在分割机架22上远离转动头23的一端,本发明可采用导轨与滑块配合的方式实现支撑块27与分割机架22的相对滑动,分割机架22上设置有支撑块驱动装置,用于驱动支撑块27在分割机架22上水平移动,本发明中支撑块驱动装置可以采用缸体安装在分割机架22上并且活塞杆与支撑块27连接的驱动气缸,通过驱动气缸活塞杆的伸长与收缩用于调整支撑块27与支撑轴24之间的距离,在支撑块27上靠近支撑轴24的一侧固定有支撑套28,该支撑套28的内径略大于支撑轴24的直径,在分割医用胶带的状态下,支撑块27滑动至支撑轴24的端部伸入支撑套28内,从而对支撑轴24的端部进行支撑,避免支撑轴24由于一端悬空而产生的摆动。
31.本发明中的上料机1的长度方向与分割装置2的长度方向垂直,并且上料机1的前端靠近分割装置2的右端,机械手3设置在上料机1的左侧,且机械手3位于分割装置2的后侧,以方便机械手3将上料机1上待分割的医用胶带转移动分割装置2上。
32.为了方便废料的回收,本发明设置有废料箱29,该废料箱29为开口向上的长方体壳状,废料箱29设置在上料机1的前侧的地面上,用于放置切割产生的废料,本发明中机械手3可抓取废料投放到废料箱29内。本发明中的下料装置系现有技术,其包括下料机架和下
料输送带,下料输送带绕在下料机架上,并且在下料机架上安装下料驱动电机,由下料驱动电机驱动下料输送带传送,以在机械手3将成品的医用胶带放置于下料输送带上时,将成品的医用胶带输送至成品收集处。
33.以上说明书中未做特别说明的部分均为现有技术,或者通过现有技术即能实现。而且本发明中所述具体实施案例仅为本发明的较佳实施案例而已,并非用来限定本发明的实施范围。即凡依本发明专利范围的内容所作的等效变化与修饰,都应作为本发明的技术范畴。
技术特征:
1.一种医用胶带全自动午夜免费福利,其特征在于:包括上料机(1),用于放置并输送待分割的医用胶带;分割装置(2),用于分割医用胶带;下料装置,用于输送分割后成品的医用胶带;机械手(3),机械手(3)上案安装上下料治具(4),用于抓取上料机(1)上待分割的医用胶带套设于分割装置(2)上,并且在分割完成后抓取成品的医用胶带放置到下料装置上。2.根据权利要求1所述的医用胶带全自动午夜免费福利,其特征在于:上料机(1)包括输送机构a,其包括机架a(5)、输送带a(6)和驱动电机a,输送带a(6)绕在机架a(5)上并且由驱动电机a驱动在机架a(5)上水平输送;对中装置a,对中装置a设置在机架a(5)上,用于使放置于输送带a(6)上待分割的医用胶带在输送带a(6)中部向前输送;输送机构b,其包括机架b(7)、输送带b(8)和驱动电机b,输送带b(8)绕在机架b(7)上并且由驱动电机b驱动在机架b(7)上水平输送,输送带a(6)上待分割的医用胶带自其端部向下掉落到输送带b(8)上,由输送带b(8)继续向前输送;对中装置b,对中装置b安装在机架b(7)上,用于使由输送带a(6)上掉落的待分割的医用胶带在输送带b(8)的中部向前输送;输送机构c,其包括机架c(9)、驱动电机c和两根同步带(10),两根同步带(10)分别绕在机架c(9)的左右两侧,并且在每根同步带(10)上均等间隔的设置有支撑架(11),支撑架(11)上远离同步带(10)的方向开设有u形支撑槽(12),用于接收从输送带b(8)端部向下掉落的待分割的医用胶带,两根同步带(10)同步传送,用于将支撑槽(12)内待分割的医用胶带向前输送。3.根据权利要求2所述的医用胶带全自动午夜免费福利,其特征在于:对中装置a与对中装置b的结构相同,对中装置a包括左挡板单元(13),左挡板单元(13)的前端沿前后方向设置,左挡板单元(13)的后端向左弯折,左挡板单元(13)的底部与输送带a(6)间留有间隙;左连接板单元(14),左连接板单元(14)的右端与左挡板单元(13)固定连接,左连接板单元(14)的左端与机架a(5)的左端固定连接,用于将左挡板单元(13)支撑在机架a(5)上,并且左连接板单元(14)的下表面与输送带a(6)间留有间隙;右挡板单元(15),右挡板单元(15)的前端与左挡板单元(13)的前端平行,右挡板单元(15)的后端向右弯折,右挡板单元(15)的后端与左挡板单元(13)的后端呈“八”字形分布,并且右挡板单元(15)的底端与输送带a(6)之间留有间隙,右挡板单元(15)前端与左挡板单元(13)前端之间的距离大于或等于待分割的医用胶带的长度;右连接板单元(16),右连接板单元(16)的左端与右挡板单元(15)固定连接,右连接板单元(16)的右端与机架a(5)的右端固定连接,用于将右挡板单元(15)支撑在机架a(5)上,并且右连接板单元(16)与输送带a(6)之间留有间隙。4.根据权利要求3所述的医用胶带全自动午夜免费福利,其特征在于:对中装置a还包括前挡板单元(17),前挡板单元(17)沿左右方向设置在输送带a(6)的前方,前挡板单元(17)与输送带a(6)前端之间的距离大于或等于待分割的医用胶带的直径,前挡板单元(17)的左右两端分别与机架a(5)的左右两端固定连接,输送带a(6)上待分割的医用胶带自输送带a(6)的
前端与前挡板单元(17)之间向下掉落到输送带b(8)上。5.根据权利要求1所述的医用胶带全自动午夜免费福利,其特征在于:上下料治具(4)包括第一手指气缸(18),第一手指气缸(18)的缸体用于安装在机械手(3)上;两个夹板(19),两个夹板(19)分别安装在第一手指气缸(18)的两个手指上,并且两个夹板(19)随第一手指气缸(18)手指的移动而同步相向移动或者同步远离移动。6.根据权利要求5所述的医用胶带全自动午夜免费福利,其特征在于:还包括气缸连接板(20)和两个第二手指气缸(21),气缸连接板(20)安装的中部安装在机械手(3)上,第一手指气缸(18)的缸体安装在气缸连接板(20)的中部,两个第二手指气缸(21)的缸体分别安装在气缸连接板(20)的两端,并且第二手指气缸(21)的手指与夹板(19)位于气缸连接板(20)的同一侧,第二手指气缸(21)用于在使用状态下从两端夹紧待分割医用胶带。7.根据权利要求1所述的医用胶带全自动午夜免费福利,其特征在于:分割装置(2)包括分割机架(22);转动头(23),转动头(23)转动安装在分割机架(22)上,并且由安装在分割机架(22)上的转动头驱动装置驱动每次旋转180度;支撑轴(24),支撑轴(24)数量为两根以上,支撑轴(24)沿圆周方向均匀分布在转动头(23)上,并且由安装在分割机架(22)上的支撑轴驱动电机驱动旋转,支撑轴(24)用于接收由机械手(3)抓取的待分割的医用胶带;移动架(25),移动架(25)安装在分割机架(22)上并且与分割机架(22)构成水平移动副,分割机架(22)上设置有移动架驱动装置用于驱动移动架(25)在分割机架(22)上水平移动,移动架(25)上安装有分割刀具(26),分割刀具(26)可在移动架(25)上沿着与支撑轴(24)垂直的方向水平移动,用于调整分割刀具(26)与支撑轴(24)之间的距离对支撑轴(24)上的医用胶带进行分割,分割刀具(26)随移动架(25)的移动用于将支撑轴(24)上的待分割医用胶带分切成多段。8.根据权利要求7所述的医用胶带全自动午夜免费福利,其特征在于:还包括支撑块(27),支撑块(27)滑动设置在分割机架(22)上远离转动头(23)的一端,分割机架(22)上设置有支撑块驱动装置,用于驱动支撑块(27)在分割机架(22)上水平移动,用于调整支撑块(27)与支撑轴(24)之间的距离,支撑块(27)上靠近支撑轴(24)的一侧固定有支撑套(28),在分割医用胶带的状态下,支撑块(27)滑动至支撑轴(24)的端部伸入支撑套(28)内。9.根据权利要求1所述的医用胶带全自动午夜免费福利,其特征在于:上料机(1)的长度方向与分割装置(2)的长度方向垂直,并且上料机(1)的前端靠近分割装置(2)的右端,机械手(3)设置在上料机(1)的左侧,且机械手(3)位于分割装置(2)的后侧。10.根据权利要求1所述的医用胶带全自动午夜免费福利,其特征在于: 还包括废料箱(29),废料箱(29)设置在上料机(1)的前侧,用于放置切割产生的废料。
技术总结
本发明公开了一种医用胶带全自动午夜免费福利,包括上料机、分割装置、下料装置和机械手;上料机用于放置并输送待分割的医用胶带;分割装置用于分割医用胶带;下料装置用于输送分割后成品的医用胶带;机械手上案安装上下料治具,用于抓取上料机上待分割的医用胶带套设于分割装置上,并且在分割完成后抓取成品的医用胶带放置到下料装置上。本发明在使用时,由机械手将待分切的医用胶带放置到分割装置上,并且由机械手将分切后的成口医用胶带从分割装置上取下,不需要人工靠近分割装置,故提高了医用胶带分切的安全性,本发明中上料机与机械手相配合,提高医用胶带分切的效率。提高医用胶带分切的效率。提高医用胶带分切的效率。
技术研发人员:朱志阳 刘小吉 张涛涛 魏宏强 周立哲
受保护的技术使用者:南京斯瑞奇医疗用品有限公司
技术研发日:2022.12.06
技术公布日:2023/1/16