服务热线
180-5003-0233

1.本实用新型涉及自动午夜免费福利相关的机械装置,尤其涉及一种修正带午夜免费福利的自动放卷装置。
背景技术:
2.自动午夜免费福利广泛应用在造纸、纸管、包装、印刷、胶带、塑料薄膜、橡胶制品、化纤无纺布、皮塑等行业,也可以应用在文具行业的修正带产品的分切。
3.现有的修正带母卷是放卷成膜后直接进入到午夜免费福利中,这种方式极易导致进入到午夜免费福利中的膜位置发生偏移,分切后会产生较多的废料。进一步地,母卷中的膜直接进入午夜免费福利中,存在膜的拉力不足的情况,严重影响午夜免费福利的切割效率。进一步地,母卷在放卷的过程中,母卷的半径会不断变小,膜进入午夜免费福利中的角度便会发生改变,容易对午夜免费福利分切膜造成影响。
4.因此,现有技术存在缺陷,需要改进。
技术实现要素:
5.本实用新型要解决的技术问题是:提供一种修正带午夜免费福利的自动放卷装置,给午夜免费福利提供稳定的进料,保证午夜免费福利分切高效稳定,减少废料的产生。
6.本实用新型的技术方案如下:提供一种修正带午夜免费福利的自动放卷装置,包括:主框架,纠偏框架,分别与所述主框架、纠偏框架连接的纠偏装置,分别安装在所述纠偏框架上的气涨轴、若干纠偏导引辊、水平张紧辊,分别安装在所述主框架上的纠偏传感器、若干主导引辊、高度调节辊;所述纠偏框架包括:纠偏左侧板,纠偏右侧板,连接所述纠偏左侧板、纠偏右侧板的滑动导向轴;所述气涨轴、纠偏导引辊、水平张紧辊的两端均分别安装在纠偏左侧板、纠偏右侧板上;所述主框架包括:主左侧板,主右侧板,连接所述主左侧板、主右侧板的支撑柱;所述主导引辊、高度调节辊的两端均分别安装在主左侧板,主右侧板上;所述滑动导向轴穿过所述主左侧板,主右侧板,所述纠偏传感器设置在纠偏导引辊与主导引辊之间。优选的,纠偏导引辊为1个,所述主导引辊为3个。
7.进一步地,所述修正带午夜免费福利的自动放卷装置,还包括:安装在所述纠偏框架上的快锁装置、磁粉离合器,所述气涨轴的一端安装在快锁装置上,另一端与磁粉离合器连接;所述快锁装置为:快锁把手螺杆,所述快锁把手螺杆穿过纠偏框架与气涨轴的轴承抵接。
8.进一步地,所述水平张紧辊包括:分别安装在所述纠偏左侧板、纠偏右侧板的水平调节装置,张紧辊本体;所述张紧辊本体的两端分别与一个水平调节装置连接。
9.进一步地,所述水平调节装置包括:水平安装件,安装在所述水平安装件上的水平把手螺杆,与所述水平把手螺杆的螺杆部螺纹连接的水平移动件;所述张紧辊本体的两端安装在水平移动件上,两个所述水平安装件分别安装在纠偏左侧板,纠偏右侧板上。
10.进一步地,所述高度调节辊包括:分别安装在所述主左侧板、主右侧板的高度调节装置,调节辊本体;所述调节辊本体的两端分别与一个高度调节装置连接。
11.进一步地,所述高度调节装置包括:高度安装件,安装在所述高度安装件上的高度把手螺杆,与所述高度把手螺杆的螺杆部螺纹连接的高度移动件;所述调节辊本体的两端安装在高度移动件上,两个所述高度安装件分别安装在主左侧板,主右侧板上。
12.进一步地,所述纠偏装置为伸缩装置,所述伸缩装置的一端与主左侧板或主右侧板中连接,另一端与滑动导向轴连接。
13.采用上述方案,本实用新型提供一种修正带午夜免费福利的自动放卷装置,纠偏装置可以纠正修正带膜的方向,保证进入到午夜免费福利中的膜方向准确,减少废料的产生;水平张紧轮与高度调节辊共同拉紧修正带膜,确保进入午夜免费福利中的修正带膜的拉力稳定;高度调节辊能够有调整进入午夜免费福利的角度,给给午夜免费福利提供稳定的进料,保证午夜免费福利分切高效稳定。
附图说明
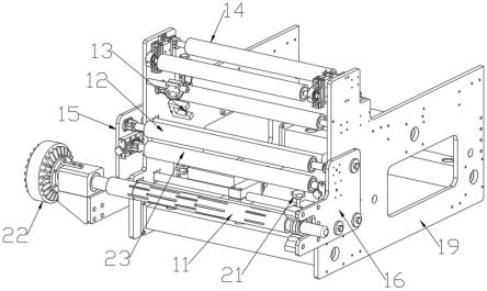
14.图1为本实用新型的一实施例的结构示意图;
15.图2为图1实施例的另一视角的结构示意图;
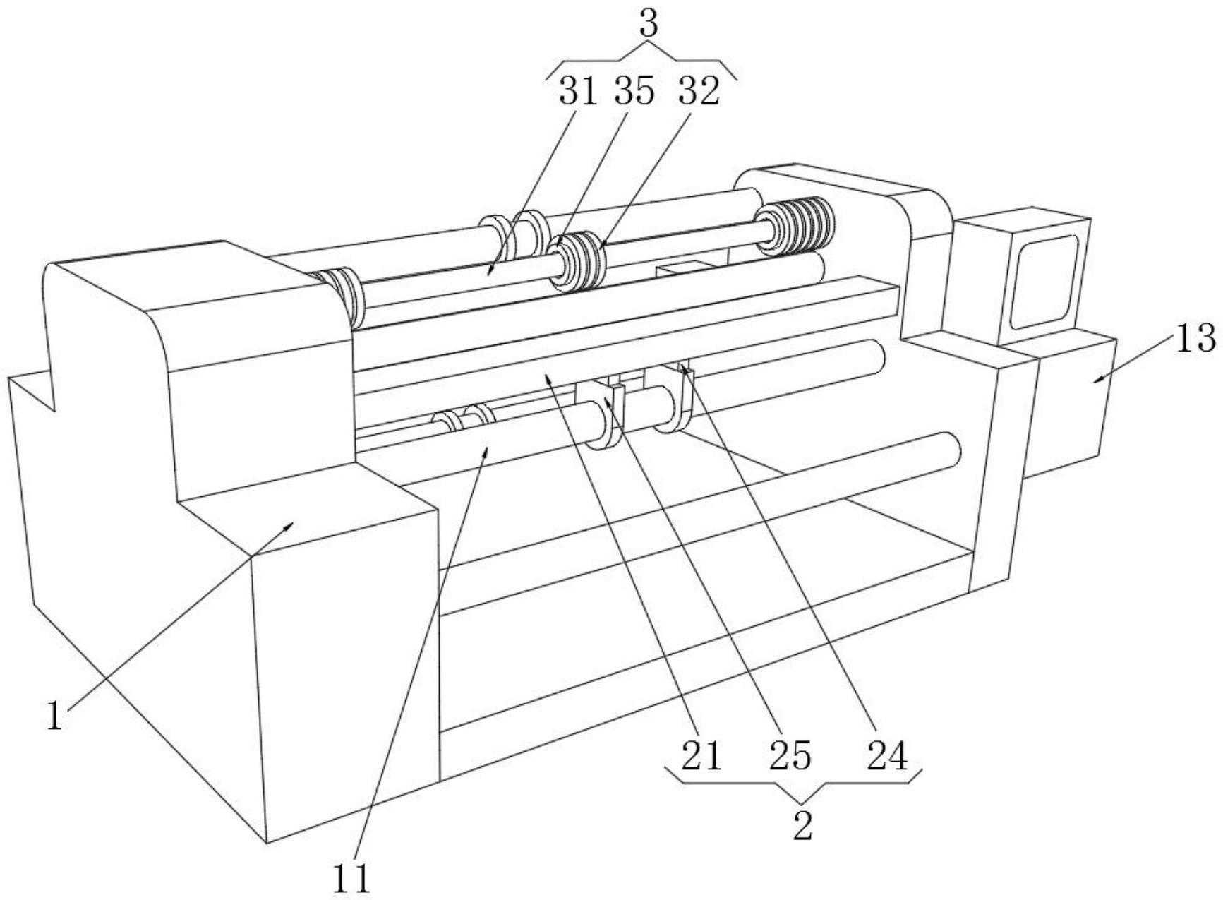
16.图3为修正带膜绕在自动放卷装置上的结构示意图;
17.图4为纠偏框架、气涨轴、纠偏导引辊、水平张紧辊的结构示意图;
18.图5为主框架、纠偏传感器、主导引辊、高度调节辊、纠偏装置的结构示意图。
具体实施方式
19.以下结合附图和具体实施例,对本实用新型进行详细说明。
20.请参阅图1-图5,本实施例一种修正带午夜免费福利的自动放卷装置,包括:主框架,纠偏框架,分别与所述主框架、纠偏框架连接的纠偏装置10,分别安装在所述纠偏框架上的气涨轴11、若干纠偏导引辊12、水平张紧辊,分别安装在所述主框架上的纠偏传感器13、若干主导引辊14、高度调节辊;所述纠偏框架包括:纠偏左侧板15,纠偏右侧板16,连接所述纠偏左侧板15、纠偏右侧板16的滑动导向轴17;所述气涨轴11、纠偏导引辊12、水平张紧辊的两端均分别安装在纠偏左侧板15、纠偏右侧板16上;所述主框架包括:主左侧板18,主右侧板19,连接所述主左侧板18、主右侧板19的支撑柱20;所述主导引辊14、高度调节辊的两端均分别安装在主左侧板18,主右侧板19上;所述滑动导向轴17穿过所述主左侧板18,主右侧板19,所述纠偏传感器13设置在纠偏导引辊12与主导引辊14之间。优选的,纠偏导引辊12为1个,所述主导引辊14为3个。所述纠偏装置10为伸缩装置,所述伸缩装置的一端与主左侧板18或主右侧板19中连接,另一端与滑动导向轴17连接。
21.在本实施例中,所述修正带午夜免费福利的自动放卷装置,还包括:安装在所述纠偏框架上的快锁装置21、磁粉离合器22,所述气涨轴11的一端安装在快锁装置21上,另一端与磁粉离合器22连接;所述快锁装置21为:快锁把手螺杆,所述快锁把手螺杆穿过纠偏框架与气涨轴11的轴承抵接。
22.修正带母卷套在在气涨轴11上,然后将气涨轴11的两端分别与快锁装置21、磁粉离合器22连接,从修正带母卷中拉出修正带膜60,修正带膜60绕过水平张紧辊后绕过纠偏导引辊12,接着穿过纠偏传感器13,继续绕过三个主导引辊14后绕过高度调节辊,给午夜免费福利供料。当纠偏传感器13感应到修正带膜60出现偏移时,通过纠偏装置10来拉动纠偏框架,调整修正带膜60,让修正带膜60不发生偏移。所述水平张紧辊能够拉紧修正带膜60,所述高度
调节辊能够调整修正带膜60进入午夜免费福利的角度。
23.在本实施例中,所述水平张紧辊包括:分别安装在所述纠偏左侧板15、纠偏右侧板16的水平调节装置,张紧辊本体23;所述张紧辊本体23的两端分别与一个水平调节装置连接。所述水平调节装置包括:水平安装件24,安装在所述水平安装件24上的水平把手螺杆25,与所述水平把手螺杆25的螺杆部螺纹连接的水平移动件26;所述张紧辊本体23的两端安装在水平移动件26上,两个所述水平安装件24分别安装在纠偏左侧板15,纠偏右侧板16上。
24.在本实施例中,所述高度调节辊包括:分别安装在所述主左侧板18、主右侧板19的高度调节装置,调节辊本体27;所述调节辊本体27的两端分别与一个高度调节装置连接。所述高度调节装置包括:高度安装件28,安装在所述高度安装件28上的高度把手螺杆29,与所述高度把手螺杆29的螺杆部螺纹连接的高度移动件30;所述调节辊本体27的两端安装在高度移动件30上,两个所述高度安装件28分别安装在主左侧板18,主右侧板19上。
25.综上所述,本实用新型提供一种修正带午夜免费福利的自动放卷装置,纠偏装置可以纠正修正带膜的方向,保证进入到午夜免费福利中的膜方向准确,减少废料的产生;水平张紧轮与高度调节辊共同拉紧修正带膜,确保进入午夜免费福利中的修正带膜的拉力稳定;高度调节辊能够有调整进入午夜免费福利的角度,给给午夜免费福利提供稳定的进料,保证午夜免费福利分切高效稳定。
26.以上仅为本实用新型的较佳实施例而已,并不用于限制本实用新型,凡在本实用新型的精神和原则之内所作的任何修改、等同替换和改进等,均应包含在本实用新型的保护范围之内。
技术特征:
1.一种修正带午夜免费福利的自动放卷装置,其特征在于,包括:主框架,纠偏框架,分别与所述主框架、纠偏框架连接的纠偏装置,分别安装在所述纠偏框架上的气涨轴、若干纠偏导引辊、水平张紧辊,分别安装在所述主框架上的纠偏传感器、若干主导引辊、高度调节辊;所述纠偏框架包括:纠偏左侧板,纠偏右侧板,连接所述纠偏左侧板、纠偏右侧板的滑动导向轴;所述气涨轴、纠偏导引辊、水平张紧辊的两端均分别安装在纠偏左侧板、纠偏右侧板上;所述主框架包括:主左侧板,主右侧板,连接所述主左侧板、主右侧板的支撑柱;所述主导引辊、高度调节辊的两端均分别安装在主左侧板,主右侧板上;所述滑动导向轴穿过所述主左侧板,主右侧板,所述纠偏传感器设置在纠偏导引辊与主导引辊之间。2.根据权利要求1所述的一种修正带午夜免费福利的自动放卷装置,其特征在于,还包括:安装在所述纠偏框架上的快锁装置、磁粉离合器,所述气涨轴的一端安装在快锁装置上,另一端与磁粉离合器连接;所述快锁装置为:快锁把手螺杆,所述快锁把手螺杆穿过纠偏框架与气涨轴的轴承抵接。3.根据权利要求1所述的一种修正带午夜免费福利的自动放卷装置,其特征在于,所述水平张紧辊包括:分别安装在所述纠偏左侧板、纠偏右侧板的水平调节装置,张紧辊本体;所述张紧辊本体的两端分别与一个水平调节装置连接。4.根据权利要求3所述的一种修正带午夜免费福利的自动放卷装置,其特征在于,所述水平调节装置包括:水平安装件,安装在所述水平安装件上的水平把手螺杆,与所述水平把手螺杆的螺杆部螺纹连接的水平移动件;所述张紧辊本体的两端安装在水平移动件上,两个所述水平安装件分别安装在纠偏左侧板,纠偏右侧板上。5.根据权利要求1所述的一种修正带午夜免费福利的自动放卷装置,其特征在于,所述高度调节辊包括:分别安装在所述主左侧板、主右侧板的高度调节装置,调节辊本体;所述调节辊本体的两端分别与一个高度调节装置连接。6.根据权利要求5所述的一种修正带午夜免费福利的自动放卷装置,其特征在于,所述高度调节装置包括:高度安装件,安装在所述高度安装件上的高度把手螺杆,与所述高度把手螺杆的螺杆部螺纹连接的高度移动件;所述调节辊本体的两端安装在高度移动件上,两个所述高度安装件分别安装在主左侧板,主右侧板上。7.根据权利要求1所述的一种修正带午夜免费福利的自动放卷装置,其特征在于,所述纠偏装置为伸缩装置,所述伸缩装置的一端与主左侧板或主右侧板中连接,另一端与滑动导向轴连接。8.根据权利要求1所述的一种修正带午夜免费福利的自动放卷装置,其特征在于,纠偏导引辊为1个,所述主导引辊为3个。
技术总结
本实用新型公开一种修正带午夜免费福利的自动放卷装置,包括:主框架,纠偏框架,分别与所述主框架、纠偏框架连接的纠偏装置,分别安装在所述纠偏框架上的气涨轴、若干纠偏导引辊、水平张紧辊,分别安装在所述主框架上的纠偏传感器、若干主导引辊、高度调节辊。本实用新型的纠偏装置可以纠正修正带膜的方向,保证进入到午夜免费福利中的膜方向准确,减少废料的产生;水平张紧轮与高度调节辊共同拉紧修正带膜,确保进入午夜免费福利中的修正带膜的拉力稳定;高度调节辊能够有调整进入午夜免费福利的角度,给给午夜免费福利提供稳定的进料,保证午夜免费福利分切高效稳定。保证午夜免费福利分切高效稳定。保证午夜免费福利分切高效稳定。
技术研发人员:张景宏
受保护的技术使用者:深圳市英诺维信自动化设备有限公司
技术研发日:2022.12.15
技术公布日:2023/3/14