服务热线
180-5003-0233

本实用新型属于oca光学胶分切设备技术领域,具体为一种oca光学胶午夜免费福利。
背景技术:
oca光学胶是用于胶结透明光学元件的特种粘胶剂;oca光学胶要求具有无色透明、光透过率在90%以上、胶结强度良好,以及可在室温或中温下固化,且有固化收缩小等特点;简而言之,oca就是具有光学透明的一层特种双面胶。
oca光学胶在生产加工过程中需要分切成规定的使用块状尺寸,但现有的分切设备在使用时,不能对分切刀进行便捷有效的调节,从而影响分切的精准度,同时分切设备的安全性能较差,在使用过程中存在安全隐患;因此,针对目前的状况,现需对其进行改进。
技术实现要素:
针对上述情况,为克服现有技术的缺陷,本实用新型提供一种oca光学胶午夜免费福利,有效的解决了现有分切设备的分切刀不能便捷有效进行调节而影响分切精准度,以及分切设备安全性能较差而存在安全隐患的问题。
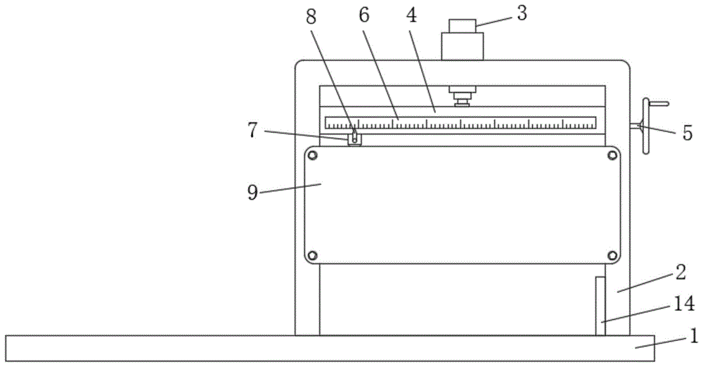
为实现上述目的,本实用新型提供如下技术方案:一种oca光学胶午夜免费福利,包括底板,所述底板顶部的一侧固定安装有n形架,n形架的中部安装有液压伸缩缸,n形架内侧的上部安装有移动板,液压伸缩缸的一端与移动板顶部的中部固定相连接,移动板的一端安装有刀具调节机构,移动板的表面安装有刻度尺,移动板的底部安装有切割刀具,切割刀具的一侧安装有指针,n形架的两侧之间安装有防护板,n形架的一端部开设有移动口,底板顶部的另一侧安装有导胶机构,n形架另一端部的内侧固定安装有挡板。
优选的,所述n形架内侧上部的两侧均开设有移动卡槽,移动板的两端分别滑动卡接在两个移动卡槽的内部,且移动板的两端部均活动卡接有滚珠。
优选的,所述刀具调节机构包括调节槽、螺纹调节轴、转动轮和竖槽,调节槽开设在移动板的底部,螺纹调节轴活动安装在调节槽的内部,竖槽开设在n形架的一端面,螺纹调节轴的一端贯穿移动板并延伸至竖槽的外部,且螺纹调节轴的一端与转动轮固定相连接。
优选的,所述切割刀具包括移动块和分切刀,分切刀安装在移动块的底部,指针安装在移动块一侧的下部。
优选的,所述移动块底部的一侧开设有凹槽,凹槽的内部安装有位置红色指示灯。
优选的,所述导胶机构包括导槽、固定轴和滚筒,导槽开设在底板顶部的另一侧,固定轴等距离固定安装在导槽的内部,滚筒活动安装在固定轴的表面。
与现有技术相比,本实用新型的有益效果是:
(1)、在工作中,通过设置有移动板、滚珠、刀具调节机构、调节槽、螺纹调节轴、转动轮、竖槽、刻度尺、切割刀具、移动块、分切刀和指针,使本oca光学胶午夜免费福利的分切刀能够便捷的进行调节,且调节在过程中能够保证调节的精度,从而在使用时能够满足不同的分切使用需求;当需要分切规定长度的oca光学胶时,首先转动转动轮,使带动螺纹调节轴进行转动,螺纹调节轴的转动会带动移动块在螺纹调节轴的表面进行移动,移动块的移动会同步带动指针进行移动,指针在移动的过程中会对准刻度尺,从而使分切刀能够进行精准的进行分切;
(2)、通过设置有防护板、移动口、凹槽和位置红色指示灯,使本oca光学胶午夜免费福利带有安全防护措施,从而能够保证操作者的安全,以及使分切刀不会受到外部因素的影响而损坏;通过防护板的设置,使分切刀在使用过程中或未使用时都能够得到有效的防护,避免分切刀误伤操作者或分切刀受到碰撞而损坏,在分切时,通过移动口将oca光学胶移动到分切刀的下方进行分切,从而能够便捷有效的对oca光学胶进行移动;在分切时,通过位置红色指示灯的开启,使其对oca光学胶的表面光点照射,从而有效的提示分切的位置,避免误伤操作者。
附图说明
附图用来提供对本实用新型的进一步理解,并且构成说明书的一部分,与本实用新型的实施例一起用于解释本实用新型,并不构成对本实用新型的限制。
在附图中:
图1为本实用新型结构示意图;
图2为本实用新型图1的剖视结构示意图;
图3为本实用新型图2的a处放大结构示意图;
图中:1、底板;2、n形架;201、移动卡槽;3、液压伸缩缸;4、移动板;401、滚珠;5、刀具调节机构;501、调节槽;502、螺纹调节轴;503、转动轮;504、竖槽;6、刻度尺;7、切割刀具;701、移动块;702、分切刀;8、指针;9、防护板;10、移动口;11、导胶机构;12、凹槽;13、位置红色指示灯;14、挡板。
具体实施方式
下面将结合本实用新型实施例中的附图,对本实用新型实施例中的技术方案进行清楚、完整地描述,显然,所描述的实施例仅仅是本实用新型一部分实施例,而不是全部的实施例;基于本实用新型中的实施例,本领域普通技术人员在没有做出创造性劳动前提下所获得的所有其他实施例,都属于本实用新型保护的范围。
实施例一,由图1和图2给出,本实用新型包括底板1,底板1顶部的一侧固定安装有n形架2,n形架2的中部安装有液压伸缩缸3(液压伸缩缸3的工作原理:液压泵将液压油经过一个单向阀进入油缸,进入油缸的液压油因为单项阀的原因不能再倒退回来,逼迫缸杆向上伸展,要下降的时通过控制液压阀,使液压油回到油箱,从而使缸杆向下收缩),n形架2内侧的上部安装有移动板4,液压伸缩缸3的一端与移动板4顶部的中部固定相连接,移动板4的一端安装有刀具调节机构5,移动板4的表面安装有刻度尺6,移动板4的底部安装有切割刀具7,通过液压伸缩缸3的设置,能够给切割刀具7提供有效的分切动力,切割刀具7的一侧安装有指针8,通过刻度尺6和指针8的设置,能够有效的提高分切的精准度,n形架2的两侧之间安装有防护板9,n形架2的一端部开设有移动口10,底板1顶部的另一侧安装有导胶机构11,n形架2另一端部的内侧固定安装有挡板14,通过挡板14的设置,使分切的oca光学胶的端部与刻度尺6的端部相平齐,从而保持分切的精度。
实施例二,在实施例一的基础上,由图2给出,n形架2内侧上部的两侧均开设有移动卡槽201,移动板4的两端分别滑动卡接在两个移动卡槽201的内部,且移动板4的两端部均活动卡接有滚珠401,从而使移动板4能够稳定有效的进行移动。
实施例三,在实施例一的基础上,由图2给出,刀具调节机构5包括调节槽501、螺纹调节轴502、转动轮503和竖槽504,调节槽501开设在移动板4的底部,螺纹调节轴502活动安装在调节槽501的内部,竖槽504开设在n形架2的一端面,竖槽504与其中一个移动卡槽201相连通,螺纹调节轴502的一端贯穿移动板4并延伸至竖槽504的外部,且螺纹调节轴502的一端与转动轮503固定相连接,从而能够有效的进行调节。
实施例四,在实施例一的基础上,由图2和图3给出,切割刀具7包括移动块701和分切刀702,分切刀702安装在移动块701的底部,移动块701螺纹连接在螺纹调节轴502的表面且滑动卡接在调节槽501的内部,指针8安装在移动块701一侧的下部,从而能够精准的进行移动调节。
实施例五,在实施例四的基础上,由图3给出,移动块701底部的一侧开设有凹槽12,凹槽12的内部安装有位置红色指示灯13,位置红色指示灯13与分切刀702相平行,从而能够有效的指示切割位置,从而确保工人操作的安全性。
实施例六,在实施例一的基础上,由图2给出,导胶机构11包括导槽、固定轴和滚筒,导槽开设在底板1顶部的另一侧,固定轴等距离固定安装在导槽的内部,滚筒活动安装在固定轴的表面,从而能够便捷有效的对oca光学胶进行移动。
工作原理:首先将oca光学胶放在导胶机构11上进行移动并通过移动口10移动到分切刀702的下方,同时使oca光学胶的端部与挡板14相接触,接着转动转动轮503,使带动螺纹调节轴502进行转动,螺纹调节轴502的转动会带动移动块701在螺纹调节轴502的表面进行移动,移动块701的移动会同步带动指针8进行移动,指针8在移动的过程中会对准刻度尺6,从而使分切刀702能够进行精准的进行分切;接着启动液压伸缩缸3和位置红色指示灯13,位置红色指示灯13的开启会对oca光学胶的表面进行光点照射,从而有效的提示分切的位置,避免误伤操作者,液压伸缩缸3的启动会带动移动板4在两个移动卡槽201的内部向下进行移动,移动板4的移动会带动分切刀702对oca光学胶进行有效的切割。
需要说明的是,在本文中,诸如第一和第二等之类的关系术语仅仅用来将一个实体或者操作与另一个实体或操作区分开来,而不一定要求或者暗示这些实体或操作之间存在任何这种实际的关系或者顺序。而且,术语“包括”、“包含”或者其任何其他变体意在涵盖非排他性的包含,从而使得包括一系列要素的过程、方法、物品或者设备不仅包括那些要素,而且还包括没有明确列出的其他要素,或者是还包括为这种过程、方法、物品或者设备所固有的要素。
尽管已经示出和描述了本实用新型的实施例,对于本领域的普通技术人员而言,可以理解在不脱离本实用新型的原理和精神的情况下可以对这些实施例进行多种变化、修改、替换和变型,本实用新型的范围由所附权利要求及其等同物限定。
技术特征:
1.一种oca光学胶午夜免费福利,包括底板(1),其特征在于:所述底板(1)顶部的一侧固定安装有n形架(2),n形架(2)的中部安装有液压伸缩缸(3),n形架(2)内侧的上部安装有移动板(4),液压伸缩缸(3)的一端与移动板(4)顶部的中部固定相连接,移动板(4)的一端安装有刀具调节机构(5),移动板(4)的表面安装有刻度尺(6),移动板(4)的底部安装有切割刀具(7),切割刀具(7)的一侧安装有指针(8),n形架(2)的两侧之间安装有防护板(9),n形架(2)的一端部开设有移动口(10),底板(1)顶部的另一侧安装有导胶机构(11),n形架(2)另一端部的内侧固定安装有挡板(14)。
2.根据权利要求1所述的一种oca光学胶午夜免费福利,其特征在于:所述n形架(2)内侧上部的两侧均开设有移动卡槽(201),移动板(4)的两端分别滑动卡接在两个移动卡槽(201)的内部,且移动板(4)的两端部均活动卡接有滚珠(401)。
3.根据权利要求1所述的一种oca光学胶午夜免费福利,其特征在于:所述刀具调节机构(5)包括调节槽(501)、螺纹调节轴(502)、转动轮(503)和竖槽(504),调节槽(501)开设在移动板(4)的底部,螺纹调节轴(502)活动安装在调节槽(501)的内部,竖槽(504)开设在n形架(2)的一端面,螺纹调节轴(502)的一端贯穿移动板(4)并延伸至竖槽(504)的外部,且螺纹调节轴(502)的一端与转动轮(503)固定相连接。
4.根据权利要求1所述的一种oca光学胶午夜免费福利,其特征在于:所述切割刀具(7)包括移动块(701)和分切刀(702),分切刀(702)安装在移动块(701)的底部,指针(8)安装在移动块(701)一侧的下部。
5.根据权利要求4所述的一种oca光学胶午夜免费福利,其特征在于:所述移动块(701)底部的一侧开设有凹槽(12),凹槽(12)的内部安装有位置红色指示灯(13)。
6.根据权利要求1所述的一种oca光学胶午夜免费福利,其特征在于:所述导胶机构(11)包括导槽、固定轴和滚筒,导槽开设在底板(1)顶部的另一侧,固定轴等距离固定安装在导槽的内部,滚筒活动安装在固定轴的表面。
技术总结
本实用新型涉及OCA光学胶分切设备技术领域,且公开了一种OCA光学胶午夜免费福利,解决了现有分切设备的分切刀不能便捷有效进行调节而影响分切精准度,以及分切设备安全性能较差而存在安全隐患的问题,其包括底板,所述底板顶部的一侧固定安装有n形架,n形架的中部安装有液压伸缩缸,n形架内侧的上部安装有移动板,液压伸缩缸的一端与移动板顶部的中部固定相连接,移动板的一端安装有刀具调节机构;本OCA光学胶午夜免费福利的分切刀能够便捷的进行调节,且调节在过程中能够保证调节的精度,从而在使用时能够满足不同的分切使用需求,同时本OCA光学胶午夜免费福利带有安全防护措施,从而能够保证操作者的安全,以及使分切刀不会受到外部因素的影响而损坏。
技术研发人员:罗士龙
受保护的技术使用者:江西和信化研纳米午夜精品免费视频有限公司
技术研发日:2020.06.05
技术公布日:2021.01.12