午夜羞羞小视频,午夜免费福利,午夜精品免费视频,午夜免费看污污APP

行业新闻

当前位置:首页/新闻中心/行业新闻

薄膜午夜免费福利切刀装置的制作方法

2023年10月26日国知局浏览量:0

薄膜午夜免费福利切刀装置的制作方法

薄膜午夜免费福利切刀装置的制作方法

本实用新型属于塑料薄膜加工机械技术领域,特别是涉及一种薄膜午夜免费福利切刀装置。

背景技术:

薄膜在包装及覆膜层领域应用广泛,给生产、生活带来诸多便利。在薄膜的生产过程中需要收、放卷轴对薄膜进行收放处理,当薄膜成卷后,再按照产品所需宽度对薄膜进行分切。由于薄膜含有碳酸钙等成分,对分切刀片的韧度和强度有一定的要求,为此薄膜分切使用均为造价昂贵、且具有一定韧度和强度的分切刀片。此外,使用过程中,每一个分切刀片只用一个刀角部实施薄膜分切,而每个切刀刀片仅限于利用其上的4个刀角,这样不仅造成切刀刀片其它部位的浪费,使用率较低,加大薄膜的生产成本;而且切刀刀片的刀角极易磨钝,进而造成薄膜断膜,损失较大,影响薄膜产品的合格率。

技术实现要素:

本实用新型为解决公知技术中存在的技术问题而提供一种提高分切刀片使用率及薄膜产品合格率且可降低薄膜生产成本的薄膜午夜免费福利切刀装置。

本实用新型为解决公知技术中存在的技术问题所采取的技术方案是:

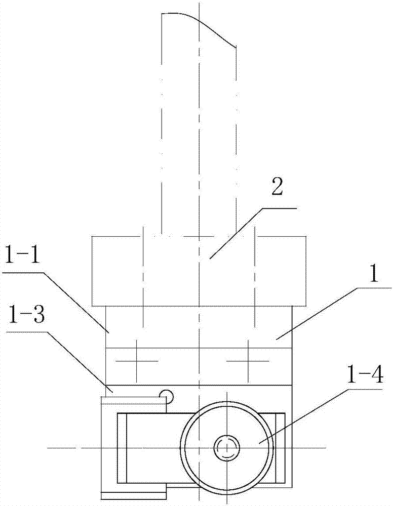
薄膜午夜免费福利切刀装置,包括刀片驱动机构、刀片安装机构和刀片,其特征在于:所述刀片安装机构包括L形安装板、压板和基座,所述L形安装板的水平板与刀片驱动机构固接,所述L形安装板的竖直板与连接板固接,所述连接板与基座连接。所述基座一端上制有用于装卡刀片的卡槽,在卡槽上装有刀片,所述刀片通过压板、刀片紧定螺栓和刀片紧定螺母与基座压紧。所述基座另一端的圆周方向制有多个定位销孔,所述连接板上装有刀片旋转角度调整定位销,所述刀片旋转角度调整定位销插入基座圆周方向上的定位销孔。

本实用新型还可以采用如下技术方案:

所述基座与连接板的中心处制有刀片安装机构调整紧定螺栓的插孔,所述L形安装板通过连接板和刀片安装机构调整紧定螺栓与基座连接,在刀片安装机构调整紧定螺栓上套装有压簧。

本实用新型具有的优点和积极效果是:由于本实用新型采用上述技术方案,薄膜午夜免费福利对薄膜进行分切时,分切刀片经长时间磨损,需要更换刀片时,松动刀片紧定螺栓和刀片紧定螺母,使压板松开,刀片与基座分离,取出刀片,换装新的锋利刀片。然后紧定好刀片紧定螺栓和刀片紧定螺母。当需要调整刀片的角度时,可推动刀片安装机构调整紧定螺栓,并带动基座向上抬起,使基座与连接板脱离,根据操作需要旋转基座,然后再通过刀片旋转角度调整定位销将基座与连接板定位,通过压簧使刀片安装机构调整紧定螺栓复位,进而完成刀片的角度调整。采用本薄膜午夜免费福利切刀装置可将一片刀片分裁成8-10小块刀片,这样可使刀片得到充分利用,使一个刀片发挥了几倍的使用效率。进而降低了薄膜的生产成本。

附图说明

图1是本实用新型的主视图;

图2是图1的右视图;

图3是图2的仰视图。

图中:1、刀片安装机构;1-1、L形安装板;1-2、压板;1-3、基座;1-4、刀片紧定螺栓;1-5、刀片紧定螺母;1-6、连接板;2、刀片驱动机构;3、刀片旋转角度调整定位销;4、压簧;5、刀片安装机构调整紧定螺栓;6、刀片。

具体实施方式

为能进一步了解本实用新型的发明内容、特点及功效,兹例举以下实施例,并配合附图详细说明如下:

请参阅图1-图3,薄膜午夜免费福利切刀装置,包括刀片驱动机构2、刀片安装机构1和刀片6,所述刀片安装机构包括L形安装板1-1、压板1-2和基座1-3,所述L形安装板的水平板与刀片驱动机构固接,所述L形安装板的竖直板与连接板1-6固接,所述连接板与基座连接。所述基座一端上制有用于装卡刀片的卡槽,在卡槽上装有刀片6,所述刀片通过压板1-2、刀片紧定螺栓1-4和刀片紧定螺母1-5与基座1-3压紧。所述基座另一端的圆周方向制有多个定位销孔,所述连接板1-6上装有多个刀片旋转角度调整定位销3,所述刀片旋转角度调整定位销插入基座圆周方向上的定位销孔。

本实施例中,所述基座与连接板的中心处制有刀片安装机构调整紧定螺栓5的插孔,所述L形安装板通过连接板和刀片安装机构调整紧定螺栓与基座连接,在刀片安装机构调整紧定螺栓上套装有压簧4。

本实用新型的工作原理为:

薄膜午夜免费福利对薄膜进行分切时,分切刀片经长时间磨损,需要更换刀片时,松动刀片紧定螺栓和刀片紧定螺母,使压板松开,刀片与基座分离,取出刀片,换装新的锋利刀片。然后紧定好刀片紧定螺栓和刀片紧定螺母。当需要调整刀片的角度时,可推动刀片安装机构调整紧定螺栓,并带动基座向上抬起,使基座与连接板脱离,根据操作需要旋转基座,然后再通过刀片旋转角度调整定位销将基座与连接板定位,通过压簧使刀片安装机构调整紧定螺栓复位,进而完成刀片角度的调整。采用本薄膜午夜免费福利切刀装置可将一片刀片分裁成8-10小块刀片,这样可使刀片得到充分利用,使一个刀片发挥了几倍的使用效率。进而降低了薄膜的生产成本。

本实用新型附图中描述的实施例是示例性的,仅用于解释本实用新型,而不能理解为对本实用新型的限制。

技术特征:

1.一种薄膜午夜免费福利切刀装置,包括刀片驱动机构、刀片安装机构和刀片,其特征在于:所述刀片安装机构包括L形安装板、压板和基座,所述L形安装板的水平板与刀片驱动机构固接,所述L形安装板的竖直板与连接板固接,所述连接板与基座连接;所述基座一端上制有用于装卡刀片的卡槽,在卡槽上装有刀片,所述刀片通过压板、刀片紧定螺栓和刀片紧定螺母与基座压紧,所述基座另一端的圆周方向制有多个定位销孔,所述连接板上装有刀片旋转角度调整定位销,所述刀片旋转角度调整定位销插入基座圆周方向上的定位销孔。

2.根据权利要求1所述的薄膜午夜免费福利切刀装置,其特征在于:所述基座与连接板的中心处制有刀片安装机构调整紧定螺栓的插孔,所述L形安装板通过连接板和刀片安装机构调整紧定螺栓与基座连接,在刀片安装机构调整紧定螺栓上套装有压簧。

技术总结

本实用新型涉及一种薄膜午夜免费福利切刀装置,包括刀片驱动机构、刀片安装机构和刀片,特征在于:刀片安装机构包括L形安装板、压板和基座,L形安装板的水平板与刀片驱动机构固接,L形安装板的竖直板与连接板固接,连接板与基座连接,基座一端上制有用于装卡刀片的卡槽,在卡槽上装有刀片,刀片通过压板、刀片紧定螺栓和刀片紧定螺母与基座压紧,基座另一端的圆周方向制有多个定位销孔,连接板上装有刀片旋转角度调整定位销,刀片旋转角度调整定位销插入基座圆周方向上的定位销孔。优点是:采用本薄膜午夜免费福利切刀装置可将一片刀片分裁成8‑10小块刀片,这样可使刀片得到充分利用,使一个刀片发挥了几倍的使用效率,进而降低了薄膜的生产成本。

技术研发人员:刘文忠;迟富轶;杨永新;王大伟;郝文强

受保护的技术使用者:天津市天塑科技集团有限公司包装午夜精品免费视频分公司

文档号码:201720710658

技术研发日:2017.06.16

技术公布日:2018.01.09

网站地图