服务热线
180-5003-0233

一种具有除尘功能的锂电池午夜免费福利的制作方法
本发明涉及锂电池午夜免费福利设备领域,具体是一种具有除尘功能的锂电池午夜免费福利。
背景技术:
“锂电池”,是一类由锂金属或锂合金为负极午夜精品免费视频、使用非水电解质溶液的电池。1912年锂金属电池最早由gilbertn.lewis提出并研究。由于锂金属的化学特性非常活泼,使得锂金属的加工、保存、使用,对环境要求非常高。所以,锂电池长期没有得到应用。随着科学技术的发展,现在锂电池已经成为了主流。午夜免费福利是一种将宽幅纸张、云母带或薄膜分切成多条窄幅午夜精品免费视频的机械设备,常用于造纸机械、电线电缆云母带及印刷包装机械。午夜免费福利主要的运用于:无纺布;云母带、纸张、绝缘午夜精品免费视频及各种薄膜午夜精品免费视频分切、特别适宜于窄带(无纺布,纸张,绝缘午夜精品免费视频、云母带、薄膜等等)的分切。午夜免费福利不断从单电机控制往双电机,三电机发展,在机器速度更快情况下更加稳定高效。午夜免费福利主要是将大卷筒母卷分切为不同宽度的产品,并可以有检查产品质量的作用。锂电池午夜免费福利主要针对锂电池生产用的原料如铜箔进行切割。
目前的锂电池午夜免费福利功能单一,不具备良好的除尘效果,因此市场急需研制一种新型的具有除尘功能的锂电池午夜免费福利来帮助人们解决现有的问题。
技术实现要素:
本发明的目的在于提供一种具有除尘功能的锂电池午夜免费福利,以解决现有技术中的锂电池午夜免费福利功能单一,不具备良好的除尘效果等问题。
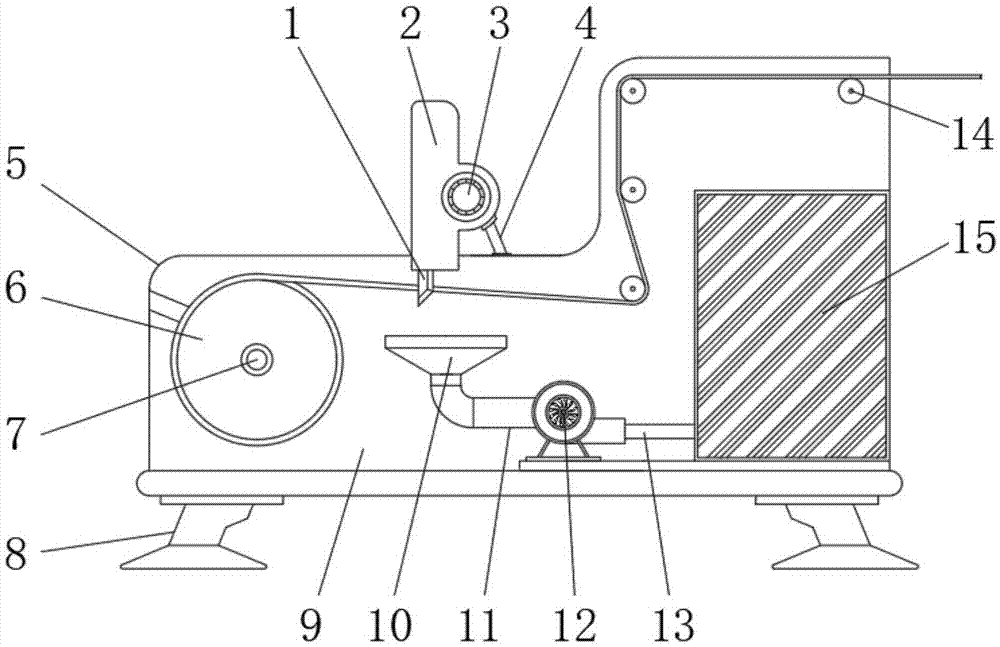
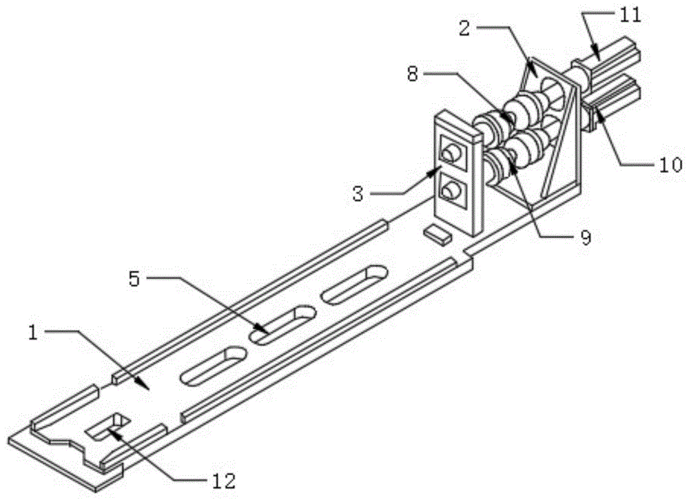
为实现上述目的,本发明提供如下技术方案:一种具有除尘功能的锂电池午夜免费福利,包括午夜免费福利主体,所述午夜免费福利主体内部设置有作业仓,所述作业仓内部安装有主动辊,且主动辊的一端通过转动轴与设置在午夜免费福利主体外部的电动机转动连接,所述作业仓内部安装有从动辊,且从动辊设置有四组,所述午夜免费福利主体上方通过支架与切割箱体相固定,所述切割箱体外部安装有伺服电机,且伺服电机的一端通过旋转主轴与半齿轮转动连接,所述半齿轮设置在切割箱体的内部,所述半齿轮的一端通过齿条与切刀片相连接,所述齿条的上端通过压缩弹簧与切割箱体相固定,所述作业仓内部安装有除尘风机,且除尘风机位于切割箱体的正下方。
优选的,所述午夜免费福利主体底部四个拐角处均安装有支撑柱。
优选的,所述齿条与半齿轮通过啮合作用传动连接。
优选的,所述除尘风机的一端通过吸尘管与灰尘收集漏斗连接。
优选的,所述除尘风机的另一端通过排尘管与灰尘收纳箱密封连接。
优选的,所述灰尘收纳箱设置在作业仓内部,且灰尘收纳箱位于除尘风机的一侧。
与现有技术相比,本发明的有益效果是:本发明通过伺服电机的一端通过旋转主轴与半齿轮转动连接,半齿轮的一端通过齿条与切刀片相连接,通过伺服电机正反转带动齿条上的切刀片做线性运动,同时由于半齿轮式设计,当转动到半齿轮没有齿的部分,齿条因压缩弹簧的推力将切刀片向下做出切断动作,具备切割打断效果,自动化程度较高,实现了自动切割作用;除尘风机的一端通过吸尘管与灰尘收集漏斗连接,除尘风机的另一端通过排尘管与灰尘收纳箱密封连接,通过安装有除尘风机,利用灰尘收集漏斗可将切割过程中产生的粉屑灰尘通过吸尘管吸入进灰尘收纳箱中储存起来,具备良好的除尘效果,保障了车间的作业环境。
附图说明
图1为本发明一种具有除尘功能的锂电池午夜免费福利的结构示意图。
图2为本发明的切割箱体内部结构示意图。
图3为本发明的主动辊结构示意图。
图中:1、切刀片;2、切割箱体;3、伺服电机;4、支架;5、午夜免费福利主体;6、主动辊;7、转动轴;8、支撑柱;9、作业仓;10、灰尘收集漏斗;11、吸尘管;12、除尘风机;13、排尘管;14、从动辊;15、灰尘收纳箱;16、半齿轮;17、旋转主轴;18、压缩弹簧;19、齿条。
具体实施方式
下面将结合本发明实施例中的附图,对本发明实施例中的技术方案进行清楚、完整地描述,显然,所描述的实施例仅仅是本发明一部分实施例,而不是全部的实施例。基于本发明中的实施例,本领域普通技术人员在没有做出创造性劳动前提下所获得的所有其他实施例,都属于本发明保护的范围。
请参阅图1~3,本发明实施例中,一种具有除尘功能的锂电池午夜免费福利,包括午夜免费福利主体5,午夜免费福利主体5内部设置有作业仓9,作业仓9内部安装有主动辊6,且主动辊6的一端通过转动轴7与设置在午夜免费福利主体5外部的电动机转动连接,作业仓9内部安装有从动辊14,且从动辊14设置有四组,午夜免费福利主体5上方通过支架4与切割箱体2相固定,切割箱体2外部安装有伺服电机3,且伺服电机3的一端通过旋转主轴17与半齿轮16转动连接,半齿轮16设置在切割箱体2的内部,半齿轮16的一端通过齿条19与切刀片1相连接,齿条19的上端通过压缩弹簧18与切割箱体2相固定,通过伺服电机3正反转带动齿条19上的切刀片1做线性运动,同时由于采用半齿轮式设计,当转动到半齿轮16没有齿的部分,齿条19因压缩弹簧18的推力将切刀片向下做出切断动作,具备切割打断效果,自动化程度较高,实现了自动切割作用,作业仓9内部安装有除尘风机12,且除尘风机12位于切割箱体2的正下方,午夜免费福利主体5底部四个拐角处均安装有支撑柱8,齿条19与半齿轮16通过啮合作用传动连接,除尘风机12的一端通过吸尘管11与灰尘收集漏斗10连接,除尘风机12的另一端通过排尘管13与灰尘收纳箱15密封连接,灰尘收纳箱15设置在作业仓9内部,且灰尘收纳箱15位于除尘风机12的一侧,通过安装有除尘风机12,利用灰尘收集漏斗10可将切割过程中产生的粉屑灰尘通过吸尘管11吸入进灰尘收纳箱15中储存起来,具备良好的除尘效果,保障了车间的作业环境。
本发明的工作原理是:作业仓9内部安装有主动辊6,主动辊6的一端通过转动轴7与设置在午夜免费福利主体5外部的电动机转动连接,作业仓9内部安装有从动辊14,开启电动机带动主动辊6进行转动,将锂电池生产用的卷材包裹在主动辊6和从动辊14外表面进行传输,午夜免费福利主体5上方通过支架4与切割箱体2相固定,切割箱体2外部安装有伺服电机3,伺服电机3的一端通过旋转主轴17与半齿轮16转动连接,半齿轮16的一端通过齿条19与切刀片1相连接,齿条19的上端通过压缩弹簧18与切割箱体2相固定,通过伺服电机3正反转带动齿条19上的切刀片1做线性运动,同时由于采用半齿轮式设计,当转动到半齿轮16没有齿的部分,齿条19因压缩弹簧18的推力将切刀片向下做出切断动作,具备切割打断效果,自动化程度较高,实现了自动切割作用,作业仓9内部安装有除尘风机12,除尘风机12的一端通过吸尘管11与灰尘收集漏斗10连接,除尘风机12的另一端通过排尘管13与灰尘收纳箱15密封连接,通过安装有除尘风机12,利用灰尘收集漏斗10可将切割过程中产生的粉屑灰尘通过吸尘管11吸入进灰尘收纳箱15中储存起来,具备良好的除尘效果,保障了车间的作业环境。
对于本领域技术人员而言,显然本发明不限于上述示范性实施例的细节,而且在不背离本发明的精神或基本特征的情况下,能够以其他的具体形式实现本发明。因此,无论从哪一点来看,均应将实施例看作是示范性的,而且是非限制性的,本发明的范围由所附权利要求而不是上述说明限定,因此旨在将落在权利要求的等同要件的含义和范围内的所有变化囊括在本发明内。不应将权利要求中的任何附图标记视为限制所涉及的权利要求。
技术特征:
技术总结
本发明公开了一种具有除尘功能的锂电池午夜免费福利,包括午夜免费福利主体,所述午夜免费福利主体内部设置有作业仓,所述作业仓内部安装有主动辊,且主动辊的一端通过转动轴与设置在午夜免费福利主体外部的电动机转动连接,所述作业仓内部安装有从动辊,所述午夜免费福利主体上方通过支架与切割箱体相固定,所述切割箱体外部安装有伺服电机,且伺服电机的一端通过旋转主轴与半齿轮转动连接,所述半齿轮设置在切割箱体的内部,所述半齿轮的一端通过齿条与切刀片相连接,所述齿条的上端通过压缩弹簧与切割箱体相固定,所述作业仓内部安装有除尘风机,且除尘风机位于切割箱体的正下方。本发明解决了目前锂电池午夜免费福利功能单一,不具备良好的除尘效果等问题。
技术研发人员:徐林
受保护的技术使用者:江苏万达新能源科技股份有限公司
技术研发日:2018.11.14
技术公布日:2019.01.22