服务热线
180-5003-0233

本发明涉及一种复卷机,特别涉及一种薄膜复卷机及复卷方法。
背景技术:
复卷机,是一种用于纸类、云母带、薄膜专用设备,用于将生产出来的薄膜进行复卷,随着经济的发展,客户的需求也越来越高,现要求复卷机复卷后的薄膜层与层之间的间隙为指定值且要求层与层之间的间隙相同,现有社会中的复卷机无法满足以上的要求。
技术实现要素:
本发明解决的技术问题是提供一种能够满足复卷后的薄膜的层与层之间的间隙为指定值且层与层之间的间隙相同的复卷机。
本发明解决其技术问题所采用的技术方案是:薄膜复卷机,包括机身,所述机身上设置有放薄膜的放料机构、收薄膜的收料机构、放线的放线机构和驱动收料机构转动的电机,所述放料机构设置在放线机构和收料机构之间,所述放线机构上设置有使薄膜层与层之间产生间隙的线。
进一步的是:所述机身上设置有支撑柱,所述支撑柱上设置有消除静电的静电消除器,所述静电消除器设置在放料机构和收料机构之间,所述静电消除器用于消除薄膜上的静电。
进一步的是:所述放料机构包括放薄膜的放料轴,所述放料轴上套设有防止薄膜筒跑偏的第一限位盘和第二限位盘,所述第一限位盘与第二限位盘均与放料轴可拆卸方式连接,所述放料轴上套设有用于锁紧第一限位盘和第二限位盘的第一锁紧件和第二锁紧件,所述第一锁紧件位于第一限位盘远离第二限位盘的一侧,所述第二锁紧件位于第二限位盘远离第一限位盘的一侧,所述第一锁紧件与第二锁紧件上均设置有贯通的螺纹孔,所述第一锁紧件上还设置有与螺纹孔配合拧紧的第一拧紧件,所述第二锁紧件上还设置有与螺纹孔配合拧紧的第二拧紧件。
进一步的是:所述收料机构包括收薄膜的收料轴,所述收料轴上套设有防止薄膜筒跑偏的第三限位盘和第四限位盘,所述第三限位盘和第四限位盘均与收料轴可拆卸方式连接,所述放料轴上套设有用于锁紧第三限位盘和第四限位盘的第三锁紧件和第四锁紧件,所述第三锁紧件位于第三限位盘远离第四限位盘的一侧,所述第四锁紧件位于第四限位盘远离第三限位盘的一侧,所述第三锁紧件与第四锁紧件上均设置有贯通的螺纹孔,所述第三锁紧件上还设置有与螺纹孔配合拧紧的第三拧紧件,所述第四锁紧件上还设置有与螺纹孔配合拧紧的第四拧紧件,所述电机设置在收料轴靠近机身的一侧。
进一步的是:所述放线机构包括放置放线卷筒的放线轴和缠绕在放线卷筒上的线,所述放线轴上设置有防止放线卷筒跑偏的第五限位盘和第六限位盘,所述第五限位盘和第六限位盘均与放线轴可拆卸方式连接,所述放线轴上套设有用于锁紧第五限位盘和第六限位盘的第五锁紧件和第六锁紧件,所述第五锁紧件位于第五限位盘远离第六限位盘的一侧,所述第六锁紧件位于第六限位盘远离第五限位盘的一侧,所述第五锁紧件与第六锁紧件上均设置有贯通的螺纹孔,所述第五锁紧件上还设置有与螺纹孔配合拧紧的第五拧紧件,所述第六锁紧件上还设置有与螺纹孔配合拧紧的第六拧紧件。
本发明还公开了薄膜复卷机的复卷方法:首先将第二锁紧件、第二限位盘、放料卷筒、第一限位盘和第一锁紧件依次套设在放料轴上、将第四锁紧件、第四限位盘、收料卷筒、第三限位盘和第三锁紧件依次套设在收料轴上、将第六锁紧件、第六限位盘、放线卷筒、第五限位盘和第五锁紧件依次套设在放线轴上,然后确定第一限位盘和第二限位盘在放料轴上的位置、第三限位盘和第四限位盘在收料轴上的位置、第五限位盘和第六限位盘在放线轴上的位置,使得放线卷筒、放料卷筒和收料卷筒对齐,然后锁紧第一锁紧件使第一锁紧件与确认好位置的第一限位盘接触、锁紧第二锁紧件使第二锁紧件与确认好的位置的第二限位盘接触、锁紧第三锁紧件使第三锁紧件与确认好位置的第三限位盘接触、锁紧第四锁紧件使第四锁紧件与确认好位置的第四限位盘接触、锁紧第五锁紧件使第五锁紧件与确认好位置的第五限位盘接触、锁紧第六锁紧件使第六锁紧件与第六限位盘接触,打开电机,所述电机带动收料轴旋转从而带动收料卷筒旋转将薄膜和线缠绕在收料卷筒上,从而给薄膜和线一个传动的力,进而带动放线轴和放料轴转动,使线脱离放线卷筒、薄膜脱离放料卷筒均向收料轴方向传动,所述静电消除器消除传动的薄膜上的静电,所述薄膜和线传动到收料卷筒处时缠绕在收料卷筒上,当复卷完成后将放线轴上的第五锁紧件、第五限位盘和放线卷筒取下,更换新的放线卷筒,然后将新的放线卷筒、第五限位盘和第五锁紧件依次套设在放线轴上,使放线卷筒分别与第五限位盘和第六限位盘接触、第五锁紧件与第五限位盘接触,然后锁紧第五锁紧件,将放料轴上的第一锁紧件、第一限位盘和放料卷筒取下,更换新的放料卷筒,然后将新的放料卷筒、第一限位盘和第一锁紧件依次套设在放料轴上,使放料卷筒分别与第一限位盘和第二限位盘接触、第一锁紧件与第一限位盘接触,然后锁紧第一锁紧件,将收料轴上的收料卷筒、第三限位盘和第三锁紧件取下,将取下的收料卷筒上薄膜层与层之间的线取出,更换新的收料卷筒,然后将新的收料卷筒、第三限位盘和第三锁紧件依次套设置在收料轴上,使收料卷筒分别与第三限位盘和第四限位盘接触、第三锁紧件与第三限位盘接触,然后锁紧第三锁紧件,打开电机,所述电机带动收料轴旋转从而带动收料卷筒旋转将薄膜和线缠绕在收料卷筒上,如此反复工作。
本发明的有益效果是:本发明可以实现复卷后的薄膜的层与层之间的间隙为指定值并能够保证层与层之间的间隙相同。
附图说明
图1为薄膜复卷机的结构示意图;
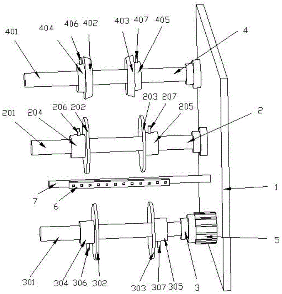
图中标记为:1、机身;2、放料机构;3、收料机构;4、放线机构;5、电机;6、静电消除器;7、支撑柱;201、放料轴;202、第一限位盘;203、第二限位盘;204、第一锁紧件;205、第二锁紧件;206、第一拧紧件;207、第二拧紧件;301、收料轴;302、第三限位盘;303、第四限位盘;304、第三锁紧件;305、第四锁紧件;306、第三拧紧件;307、第四拧紧件;401、放线轴;402、第五限位盘;403、第六限位盘;404、第五锁紧件;405、第六锁紧件;406、第五拧紧件;407、第六拧紧件。
具体实施方式
下面结合附图和具体实施方式对本发明进一步说明。
如图1所示的薄膜复卷机,包括机身1,所述机身1上设置有放薄膜的放料机构2、收薄膜的收料机构3、放线的放线机构4和驱动收料机构3转动的电机5,所述放料机构2设置在放线机构4和收料机构3之间,所述放线机构4上设置有使薄膜层与层之间产生相同间隙的线,本发明中的线的粗细要根据要求的薄膜层与层之间的间隙选取,本发明中的线为无尘且毛屑少的线,本实施案例中选用尼龙线。
在上述基础上,所述机身1上设置有支撑柱7,所述支撑柱7上设置有消除静电的静电消除器6,所述静电消除器6设置在放料机构2和收料机构3之间,所述静电消除器6用于消除薄膜上的静电,本实施案例中的静电消除器6选用离子风棒。
在上述基础上,所述放料机构2包括放料薄膜的放料轴201,所述放料轴201上套设有防止薄膜筒跑偏的第一限位盘202和第二限位盘203,所述第一限位盘202与第二限位盘203均与放料轴201可拆卸方式连接,所述放料轴201上套设有用于锁紧第一限位盘202和第二限位盘203的第一锁紧件204和第二锁紧件205,所述第一锁紧件204位于第一限位盘202远离第二限位盘203的一侧,所述第二锁紧件205位于第二限位盘203远离第一限位盘202的一侧,所述第一锁紧件204与第二锁紧件205上均设置有贯通的螺纹孔,所述第一锁紧件204上还设置有与螺纹孔配合拧紧的第一拧紧件206,所述第二锁紧件205上还设置有与螺纹孔配合拧紧的第二拧紧件207,所述第一限位盘202和第二限位盘203用于限位薄膜卷筒在放料轴201上的位置,防止薄膜卷筒在放料的过程中跑偏,所述第一锁紧件204和第二锁紧件205用于限制第一限位盘202和第二限位盘203在放料轴201上的位置即限制第一限位盘202和第二限位盘203之间的距离,本实施案例中的第一拧紧件206和第二拧紧件207可以是螺丝或螺栓,当需要复卷时,首先确定第二限位盘203的位置,然后使用第二拧紧件207将第二锁紧件205固定在放料轴201上即固定第二限位盘203的位置,然后依次将薄膜卷筒、第一限位盘202套设在放料轴201上,所述第一限位盘202的位置要根据薄膜卷筒的宽度确定,进而将第一锁紧件204套设在放料轴201上,用第一拧紧件206将第一锁紧件204固定在放料轴201上,当薄膜卷筒需要更换时将第一拧紧件206拧开将第一锁紧件204取下,然后依次将第一限位盘202和薄膜卷筒取下,更换新的薄膜卷筒,然后依次将薄膜卷筒、第一限位盘202和第一锁紧件204套设在放料轴201上,使用第一拧紧件206将第一锁紧件204锁紧,所述第二锁紧件205、第二限位盘203、薄膜卷筒、第一限位盘202和第一锁紧件204在放料轴201上接触连接,如此反复操作。
在上述基础上,所述收料机构3包括收料薄膜的收料轴301,所述收料轴301上套设有防止薄膜筒跑偏的第三限位盘302和第四限位盘303,所述第三限位盘302和第四限位盘303均与收料轴301可拆卸方式连接,所述收料轴301上套设有用于锁紧第三限位盘302和第四限位盘303的第三锁紧件304和第四锁紧件305,所述第三锁紧件304位于第三限位盘302远离第四限位盘303的一侧,所述第四锁紧件305位于第四限位盘303远离第三限位盘302的一侧,所述第三锁紧件304与第四锁紧件305上均设置有贯通的螺纹孔,所述第三锁紧件304上还设置有与螺纹孔配合拧紧的第三拧紧件306,所述第四锁紧件305上还设置有与螺纹孔配合拧紧的第四拧紧件307,所述电机5设置在收料轴301靠近机身1的一侧,所述第三限位盘302和第四限位盘303用于限制收料卷筒在收料轴301上的位置,防止收料卷筒在收料的过程中跑偏,所述第三锁紧件304和第四锁紧件305用于限制第三限位盘302和第四限位盘303在收料轴301上的位置即限位第三限位盘302和第四限位盘303之间的距离,本实施案例中的第三拧紧件306和第四拧紧件307可以是螺丝或螺栓,当需要复卷时,首先确定第四限位盘303的位置,然后使用第四拧紧件307将第四锁紧件305固定在收料轴301上即固定第四限位盘303的位置,然后依次将放料卷筒、第三限位盘302套设在收料轴301上,所述第三限位盘302的位置要根据收料卷筒的宽度确定,进而将第三锁紧件304套设在收料轴301上,用第三拧紧件306将第三锁紧件304固定在收料轴301上,当复卷结束需要更换收料卷筒时将第三拧紧件306拧开将第三锁紧件304取下,然后依次将第三限位盘302和收料卷筒取下,更换新的收料卷筒,然后依次将收料卷筒、第三限位盘302和第三锁紧件304套设在收料轴301上,使用第三拧紧件306将第三锁紧件304锁紧,所述第四锁紧件305、第四限位盘303、收料卷筒、第三限位盘302和第三锁紧件304在收料轴301上接触连接,如此反复操作。
在上述基础上,所述放线机构4包括放置放线卷筒的放线轴401和缠绕在放线卷筒上的线,所述放线轴401上设置有防止放线卷筒跑偏的第五限位盘402和第六限位盘403,所述第五限位盘402和第六限位盘403均与放线轴401可拆卸方式连接,所述放线轴401上套设有用于锁紧第五限位盘402和第六限位盘403的第五锁紧件404和第六锁紧件405,所述第五锁紧件404位于第五限位盘402远离第六限位盘403的一侧,所述第六锁紧件405位于第六限位盘403远离第五限位盘402的一侧,所述第五锁紧件404与第六锁紧件405上均设置有贯通的螺纹孔,所述第五锁紧件404上还设置有与螺纹孔配合拧紧的第五拧紧件406,所述第六锁紧件405上还设置有与螺纹孔配合拧紧的第六拧紧件407,所述第五限位盘402和第六限位盘403用于限制放线卷筒在放线轴401上的位置,防止放线卷筒在放线的过程中跑偏,所述第五锁紧件404和第六锁紧件405用于限制第五限位盘402和第六限位盘403在放线轴401上的位置即限位第五限位盘402和第六限位盘403之间的距离,本实施案例中的第五拧紧件406和第六拧紧件407可以是螺丝或螺栓,当需要复卷时,首先确定第六限位盘403的位置,然后使用第六拧紧件407将第六锁紧件405固定在收料轴301上进而固定第六限位盘403的位置,然后依次将带有线的放线卷筒、第五限位盘402套设在放线轴401上,所述第五限位盘402的位置要根据放线卷筒的宽度确定,进而将第五锁紧件404套设在放线轴401上,用第五拧紧件406将第五锁紧件404固定在放线轴401上,当放线卷筒需要更换时将第五拧紧件406拧开将第五锁紧件404取下,然后依次将第五限位盘402和放线卷筒取下,更换新的放线卷筒,然后依次将放线卷筒、第五限位盘402和第五锁紧件404套设在收料轴301上,使用第五拧紧件406将第五锁紧件404锁紧,所述第六锁紧件405、第六限位盘403、放线卷筒、第五限位盘402和第五锁紧件404在放线轴401上接触连接,如此反复操作。
本发明还公开了薄膜复卷机的复卷方法:首先将第二锁紧件205、第二限位盘203、放料卷筒、第一限位盘202和第一锁紧件204依次套设在放料轴201上、将第四锁紧件305、第四限位盘303、收料卷筒、第三限位盘302和第三锁紧件304依次套设在收料轴301上、将第六锁紧件405、第六限位盘403、放线卷筒、第五限位盘402和第五锁紧件404依次套设在放线轴401上,然后确定第一限位盘202和第二限位盘203在放料轴201上的位置、第三限位盘302和第四限位盘303在收料轴301上的位置、第五限位盘402和第六限位盘403在放线轴401上的位置,使得放线卷筒、放料卷筒和收料卷筒对齐,然后锁紧第一锁紧件204使第一锁紧件204与确认好位置的第一限位盘202接触、锁紧第二锁紧件205使第二锁紧件205与确认好的位置的第二限位盘203接触、锁紧第三锁紧件304使第三锁紧件304与确认好位置的第三限位盘302接触、锁紧第四锁紧件305使第四锁紧件305与确认好位置的第四限位盘303接触、锁紧第五锁紧件404使第五锁紧件404与确认好位置的第五限位盘402接触、锁紧第六锁紧件405使第六锁紧件405与第六限位盘403接触,打开电机,所述电机带动收料轴301旋转从而带动收料卷筒旋转将薄膜和线缠绕在收料卷筒上,从而给薄膜和线一个传动的力,进而带动放线轴401和放料轴201转动,使线脱离放线卷筒、薄膜脱离放料卷筒均向收料轴301方向传动,所述静电消除器6消除传动的薄膜上的静电,所述薄膜和线传动到收料卷筒处时缠绕在收料卷筒上,当复卷完成后将放线轴401上的第五锁紧件404、第五限位盘402和放线卷筒取下,更换新的放线卷筒,然后将新的放线卷筒、第五限位盘402和第五锁紧件404依次套设在放线轴401上,使放线卷筒分别与第五限位盘402和第六限位盘403接触、第五锁紧件404与第五限位盘402接触,然后锁紧第五锁紧件404,将放料轴201上的第一锁紧件204、第一限位盘202和放料卷筒取下,更换新的放料卷筒,然后将新的放料卷筒、第一限位盘202和第一锁紧件204依次套设在放料轴201上,使放料卷筒分别与第一限位盘202和第二限位盘203接触、第一锁紧件204与第一限位盘202接触,然后锁紧第一锁紧件204,将收料轴301上的收料卷筒、第三限位盘302和第三锁紧件304取下,将取下的收料卷筒上薄膜层与层之间的线取出,更换新的收料卷筒,然后将新的收料卷筒、第三限位盘302和第三锁紧件304依次套设置在收料轴301上,使收料卷筒分别与第三限位盘302和第四限位盘303接触、第三锁紧件304与第三限位盘302接触,然后锁紧第三锁紧件304,打开电机,所述电机带动收料轴301旋转从而带动收料卷筒旋转将薄膜和线缠绕在收料卷筒上,如此反复工作。
以上所述的具体实施例,对本发明的目的、技术方案和有益效果进行了进一步详细说明,所应理解的是,以上所述仅为本发明的具体实施例而已,并不用于限制本发明,凡在本发明的精神和原则之内,所做的任何修改、等同替换、改进等,均应包含在本发明的保护范围之内。
技术特征:
技术总结
本发明公开了薄膜复卷机及复卷方法,涉及复卷机领域,包括机身,所述机身上设置有放薄膜的放料机构、收薄膜的收料机构、放线的放线机构和驱动收料机构转动的电机,所述放料机构设置在放线机构和收料机构之间,所述放线机构上设置有使薄膜层与层之间产生相同间隙的线,本发明可以实现复卷后的薄膜的层与层之间的间隙为指定值并能够保证层与层之间的间隙相同。
技术研发人员:杨文斌;吴永飞;陈夫忠;李健;陈浩;王亚东
受保护的技术使用者:世星科技股份有限公司
技术研发日:2019.07.31
技术公布日:2019.11.08