服务热线
180-5003-0233

本实用新型涉及电容器相关技术领域,具体为一种电容器用金属化薄膜卷分卷裁切装置。
背景技术:
电容器一般是指以金属薄膜当电极,将其和聚乙酯,聚丙烯,聚苯乙烯或聚碳酸酯等塑料薄膜从两端重叠后,卷绕成圆筒状的构造的电容器,现有的金属化薄膜电容器一般采用铝、锌、锌铝合金等金属镀层作电极,为了达到正负电极间绝缘的目的,在金属镀层上都需要设计有空白的留边,即基膜上设有没有金属化的区域。
但是,一般的电容器用的金属化薄膜卷在生产加工时,在对金属化薄膜进行卷绕时,不方便对金属化薄膜进行保护,容易出现磨损的现象,以及不方便根据需要将金属化薄膜进行裁剪呈所需的尺寸,以及不方便更换卷筒,影响收集的问题,为此午夜羞羞小视频提出了一种电容器用金属化薄膜卷分卷裁切装置,用来解决上述问题。
技术实现要素:
本实用新型的目的在于提供一种电容器用金属化薄膜卷分卷裁切装置,以解决上述背景技术中提出的一般的电容器用的金属化薄膜卷在生产加工时,在对金属化薄膜进行卷绕时,不方便对金属化薄膜进行保护,容易出现磨损的现象,以及不方便根据需要将金属化薄膜进行裁剪呈所需的尺寸,以及不方便更换卷筒,影响收集的问题。
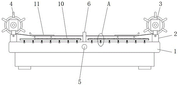
为实现上述目的,本实用新型提供如下技术方案:一种电容器用金属化薄膜卷分卷裁切装置,包括底座,所述底座的左右两端拐角处均固定安装有支撑杆,且支撑杆的上端固定安装有固定块,所述固定块的内部贯穿连接有固定杆,且转动筒通过固定杆固定安装在固定块上,并且固定杆的外表面套设有卷筒,所述底座的中部自前向后贯穿连接有调节杆,且调节杆的外表面套设有裁切刀,所述调节杆上开设有固定孔,所述底座的上端中部开设有滑槽,所述滑槽的左右两侧均设置有铺展板,且铺展板的上端前后两侧均固定连接有铺展块,所述铺展板的下端固定连接有连接柱,且连接柱的外表面套设有滑块,所述连接柱的下端与卡槽卡合连接,且卡槽开设在底座的上端面。
优选的,所述调节杆与底座上开设的滑槽呈上下对应设置,且调节杆上均匀开设有固定孔。
优选的,所述裁切刀和滑块构成“t”字型结构,且裁切刀通过滑块在调节杆上构成滑动结构,并且裁切刀通过滑块与调节杆上的固定孔呈对应设置。
优选的,所述固定杆关于转动筒的水平中轴线前后对称设置,且固定杆与固定杆之间的间距尺寸小于转动筒的长度尺寸,并且转动筒和固定杆构成转动结构。
优选的,所述铺展板关于滑槽左右对称设置,且铺展板通过连接柱在底座上构成伸缩结构,并且铺展板与铺展块的纵截面构成“口”字型结构。
优选的,所述铺展块呈“l”字型结构,且铺展块远离裁切刀的一端呈圆弧形倾斜设置。
与现有技术相比,本实用新型的有益效果是:该电容器用金属化薄膜卷分卷裁切装置,方便对金属化薄膜进行铺展的同时也进行保护,减小磨损,同时也便于对金属化薄膜进行分切呈所需的尺寸,方便收卷使用,也便于收集拆卸更换;
1、设有调节杆、裁切刀和滑块,方便裁切刀通过滑块在调节杆上进行自由的滑动,同时结合滑槽右侧的刻度线,方便调节裁切刀与裁切刀之间的间距尺寸,从而便于分切不同尺寸的金属化薄膜;
2、设有固定块、卷筒和固定杆,固定杆与固定块的连接方式为螺纹连接,从而便于安装与拆卸,同时固定杆与转动筒构成转动结构,从而便于卷筒通过转动筒在固定杆上转动,方便收卷金属化薄膜,方便使用;
3、设有铺展板和铺展块,铺展块固定安装在铺展板的上端,便于对金属化薄膜进行保护,同时也便于铺展开金属化薄膜,方便根据金属化薄膜在卷筒上缠绕的厚度尺寸,便于利用滑块的弹性作用,方便自由的收缩,方便使用。
附图说明
图1为本实用新型正视结构示意图;
图2为本实用新型俯视剖面结构示意图;
图3为本实用新型图1中a处放大结构示意图;
图4为本实用新型调节杆和裁切刀连接整体结构示意图;
图5为本实用新型底座和调节杆连接俯视结构示意图。
图中:1、底座;2、支撑杆;3、固定块;4、卷筒;5、调节杆;6、裁切刀;7、滑槽;8、转动筒;9、固定杆;10、铺展板;11、铺展块;12、固定孔;13、滑块;14、连接柱;15、卡槽。
具体实施方式
下面将结合本实用新型实施例中的附图,对本实用新型实施例中的技术方案进行清楚、完整地描述,显然,所描述的实施例仅仅是本实用新型一部分实施例,而不是全部的实施例。基于本实用新型中的实施例,本领域普通技术人员在没有做出创造性劳动前提下所获得的所有其他实施例,都属于本实用新型保护的范围。
请参阅图1-5,本实用新型提供一种技术方案:一种电容器用金属化薄膜卷分卷裁切装置,包括底座1、支撑杆2、固定块3、卷筒4、调节杆5、裁切刀6、滑槽7、转动筒8、固定杆9、铺展板10、铺展块11、固定孔12、滑块13、连接柱14和卡槽15,底座1的左右两端拐角处均固定安装有支撑杆2,且支撑杆2的上端固定安装有固定块3,固定块3的内部贯穿连接有固定杆9,且转动筒8通过固定杆9固定安装在固定块3上,并且固定杆9的外表面套设有卷筒4,底座1的中部自前向后贯穿连接有调节杆5,且调节杆5的外表面套设有裁切刀6,调节杆5上开设有固定孔12,底座1的上端中部开设有滑槽7,滑槽7的左右两侧均设置有铺展板10,且铺展板10的上端前后两侧均固定连接有铺展块11,铺展板10的下端固定连接有连接柱14,且连接柱14的外表面套设有滑块13,连接柱14的下端与卡槽15卡合连接,且卡槽15开设在底座1的上端面。
如图5中调节杆5与底座1上开设的滑槽7呈上下对应设置,且调节杆5上均匀开设有固定孔12,便于裁切刀6在调节杆5上进行滑动,从而便于根据滑槽7右侧的刻度线进行调节裁切刀6的间距,便于调节分切的尺寸,如图2、图4和图5中裁切刀6和滑块13构成“t”字型结构,且裁切刀6通过滑块13在调节杆5上构成滑动结构,并且裁切刀6通过滑块13与调节杆5上的固定孔12呈对应设置,方便对金属化薄膜进行分切裁剪的同时也进行收卷,方便使用,便于保持平整度。
如图1和图2中固定杆9关于转动筒8的水平中轴线前后对称设置,且固定杆9与固定杆9之间的间距尺寸小于转动筒8的长度尺寸,并且转动筒8和固定杆9构成转动结构,便于安装与拆卸,同时也便于转动收卷,方便使用,如图1和图3中铺展板10关于滑槽7左右对称设置,且铺展板10通过连接柱14在底座1上构成伸缩结构,并且铺展板10与铺展块11的纵截面构成“口”字型结构,便于贯穿金属化薄膜,方便分切时,保持水平,方便使用。
如图1中铺展块11呈“l”字型结构,且铺展块11远离裁切刀6的一端呈圆弧形倾斜设置,方便对金属化薄膜进行铺展,避免出现褶皱,同时也便于保护金属化薄膜,避免出现刮伤,方便使用。
工作原理:在使用该电容器用金属化薄膜卷分卷裁切装置时,首先将结合图2、图4和图5所示,根据所需金属化薄膜的尺寸大小,参考滑槽7右侧的刻度线,将裁切刀6通过滑块13在调节杆5上进行滑动,通过螺栓将滑块13固定在调节杆5上,然后结合图1和图2所示,将卷筒4通过转动筒8放置在固定块3上,再将固定杆9贯穿在固定块3的中部进行螺纹连接,使得固定杆9插入到转动筒8的内部,从而便于对转动筒8进行安装,方便卷筒4通过转动筒8在固定块3上进行转动,接着将左侧的卷筒4上缠绕的金属化薄膜穿过铺展块11的下表面向右侧拉动,然后在裁切刀6的裁剪下,与右侧的卷筒4的外表面进行粘贴,接着逆时针转动卷筒4,从而便于带动金属化薄膜进行收卷,同时也便于分切,方便使用,结合图1和图3所示,金属化薄膜在铺展板10和铺展块11之间穿过,便于利用滑块13的弹性作用,根据金属化薄膜在卷筒4上缠绕的高度尺寸,方便自由伸缩,方便对金属化薄膜进行保护,避免刮伤,方便使用,这就是电容器用金属化薄膜卷分卷裁切装置使用的整个过程。
尽管已经示出和描述了本实用新型的实施例,对于本领域的普通技术人员而言,可以理解在不脱离本实用新型的原理和精神的情况下可以对这些实施例进行多种变化、修改、替换和变型,本实用新型的范围由所附权利要求及其等同物限定。
技术特征:
1.一种电容器用金属化薄膜卷分卷裁切装置,包括底座(1),其特征在于:所述底座(1)的左右两端拐角处均固定安装有支撑杆(2),且支撑杆(2)的上端固定安装有固定块(3),所述固定块(3)的内部贯穿连接有固定杆(9),且转动筒(8)通过固定杆(9)固定安装在固定块(3)上,并且固定杆(9)的外表面套设有卷筒(4),所述底座(1)的中部自前向后贯穿连接有调节杆(5),且调节杆(5)的外表面套设有裁切刀(6),所述调节杆(5)上开设有固定孔(12),所述底座(1)的上端中部开设有滑槽(7),所述滑槽(7)的左右两侧均设置有铺展板(10),且铺展板(10)的上端前后两侧均固定连接有铺展块(11),所述铺展板(10)的下端固定连接有连接柱(14),且连接柱(14)的外表面套设有滑块(13),所述连接柱(14)的下端与卡槽(15)卡合连接,且卡槽(15)开设在底座(1)的上端面。
2.根据权利要求1所述的一种电容器用金属化薄膜卷分卷裁切装置,其特征在于:所述调节杆(5)与底座(1)上开设的滑槽(7)呈上下对应设置,且调节杆(5)上均匀开设有固定孔(12)。
3.根据权利要求1所述的一种电容器用金属化薄膜卷分卷裁切装置,其特征在于:所述裁切刀(6)和滑块(13)构成“t”字型结构,且裁切刀(6)通过滑块(13)在调节杆(5)上构成滑动结构,并且裁切刀(6)通过滑块(13)与调节杆(5)上的固定孔(12)呈对应设置。
4.根据权利要求1所述的一种电容器用金属化薄膜卷分卷裁切装置,其特征在于:所述固定杆(9)关于转动筒(8)的水平中轴线前后对称设置,且固定杆(9)与固定杆(9)之间的间距尺寸小于转动筒(8)的长度尺寸,并且转动筒(8)和固定杆(9)构成转动结构。
5.根据权利要求1所述的一种电容器用金属化薄膜卷分卷裁切装置,其特征在于:所述铺展板(10)关于滑槽(7)左右对称设置,且铺展板(10)通过连接柱(14)在底座(1)上构成伸缩结构,并且铺展板(10)与铺展块(11)的纵截面构成“口”字型结构。
6.根据权利要求1所述的一种电容器用金属化薄膜卷分卷裁切装置,其特征在于:所述铺展块(11)呈“l”字型结构,且铺展块(11)远离裁切刀(6)的一端呈圆弧形倾斜设置。
技术总结
本实用新型公开了一种电容器用金属化薄膜卷分卷裁切装置,包括底座,所述底座的左右两端拐角处均固定安装有支撑杆,且支撑杆的上端固定安装有固定块,所述固定块的内部贯穿连接有固定杆,且转动筒通过固定杆固定安装在固定块上,所述底座的中部自前向后贯穿连接有调节杆,所述调节杆上开设有固定孔,所述底座的上端中部开设有滑槽,所述滑槽的左右两侧均设置有铺展板,所述铺展板的下端固定连接有连接柱,所述连接柱的下端与卡槽卡合连接。该电容器用金属化薄膜卷分卷裁切装置,方便对金属化薄膜进行铺展的同时也进行保护,减小磨损,同时也便于对金属化薄膜进行分切呈所需的尺寸,方便收卷使用,也便于收集拆卸更换。
技术研发人员:张高伟
受保护的技术使用者:河南华佳新午夜精品免费视频技术有限公司
技术研发日:2019.07.18
技术公布日:2020.04.28