服务热线
180-5003-0233

1.本实用新型涉及极片午夜免费福利技术领域,具体为一种极片午夜免费福利的极片切断机构。
背景技术:
2.锂电池是一类由锂金属或锂合金为正/负极午夜精品免费视频、使用非水电解质溶液的电池,锂离子电池以其特有的性能优势已在便携式电器如手提电脑、摄像机、移动通讯中得到普遍应用。开发的大容量锂离子电池已在电动汽车中开始试用,预计将成为21世纪电动汽车的主要动力电源之一,并将在人造卫星、航空航天和储能方面得到应用。随着能源的紧缺和世界的环保方面的压力。锂电被广泛应用于电动车行业,特别是磷酸铁锂午夜精品免费视频电池的出现,更推动了锂电池产业的发展和应用。
3.锂电池在制成的过程中离不开极片,极片是锂电池的核心组件,因此极片的分切在电池制造行业中起到了至关重要的作用,市场上往往通过午夜免费福利来进行对极片的分条操作,但是市场上常见的午夜免费福利依旧存在一定的不足,首先市场上常见的午夜免费福利在进行分条收卷操作时容易影响到刀片的切割工作,导致分切质量到影响,其次常见的午夜免费福利的减震效果不佳,受到震动极易导致分条的精度下降,为此午夜羞羞小视频设计了一种极片午夜免费福利的极片切断机构来解决上述问题。
技术实现要素:
4.针对现有技术的不足,本实用新型提供了一种极片午夜免费福利的极片切断机构,解决了上述背景技术中提出的问题。
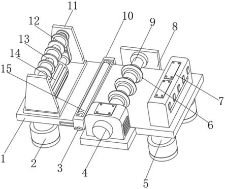
5.为实现以上目的,本实用新型通过以下技术方案予以实现:一种极片午夜免费福利的极片切断机构,包括支撑板,所述支撑板右侧的顶部固定安装有入料机,且支撑板左侧的上方固定安装有固定板,所述固定板的内壁固定安装有单轴电机,且固定板的内壁通过轴承固定套装有位于单轴电机上方的连接轴,所述连接轴的外部固定套装有滚筒,所述支撑板的上方固定安装有位于入料机和固定板之间的驱动电机和侧板,所述侧板的内侧固定套装有轴承,且侧板和驱动电机之间通过轴承固定套装有转动轴,所述转动轴的外部固定套装有切割刀片,所述支撑板的顶部滑动套接有位于转动轴和固定板之间的滑动架,所述滑动架的外部螺纹套接有紧固螺栓,且滑动架的内部活动套接有转柱,所述支撑板的底部固定安装有均匀分布的滑动柱,所述滑动柱的外部滑动套接有套接管,且滑动柱的底部固定安装有弹簧。
6.可选的,所述滑动架的底部设置有滑块,所述紧固螺栓位于滑块内部,所述支撑板的外部开设有与滑动架相匹配的滑槽。
7.可选的,所述滚筒和切割刀片分别均匀分布于连接轴和转动轴的外部,且滚筒与切割刀片的位置相对应。
8.可选的,所述连接轴的外部以及单轴电机的输出轴外部均固定套装有传动轮,两个所述传动轮之间套接有传动带。
9.可选的,所述转柱的长度值大于转动轴和连接轴的长度值,且转柱与支撑板之间的距离与极片的厚度值相同。
10.可选的,所述滚筒的两侧设置有挡板,所述滑动柱的底部和套接管的顶部设置有相匹配的挡板。
11.本实用新型提供了一种极片午夜免费福利的极片切断机构,具备以下有益效果:
12.1、该极片午夜免费福利的极片切断机构,通过紧固螺栓和滑动架以及转柱的配合使用,使得该极片午夜免费福利的极片切断机构能够通过紧固螺栓和支撑板侧面开设的与滑动架相匹配的滑槽,使得滑动架能够套接在支撑板的外部,并在支撑板的外部滑动,从而使得转柱对滚筒以及切割刀片之间的极片进行压制,使得滚筒在收卷分条后的极片时不会影响到切割刀片的切割工作,提升了该极片午夜免费福利的极片切断机构的分切质量。
13.2、该极片午夜免费福利的极片切断机构,通过滑动柱和套接管以及弹簧的配合使用,使得该极片午夜免费福利的极片切断机构在受到震动时,切割刀片和套接管会发生相对滑动并压缩连接轴,通过连接轴的反复压缩回弹将震动吸收,从而保护切割刀片的顶部的支撑板以及支撑板上方结构的稳定工作,使得该极片午夜免费福利的极片切断机构的分切精度得到保障。
附图说明
14.图1为本实用新型结构示意图;
15.图2为本实用新型单轴电机和连接轴的结构示意图;
16.图3为本实用新型滑动架和转柱的结构示意图;
17.图4为本实用新型套接管和滑动柱的结构示意图。
18.图中:1、支撑板;2、套接管;3、紧固螺栓;4、驱动电机;5、滑动柱;6、切割刀片;7、入料机;8、侧板;9、转动轴;10、滑动架;11、固定板;12、滚筒;13、连接轴;14、单轴电机;15、转柱;16、传动轮;17、传动带;18、弹簧。
具体实施方式
19.下面将结合本实用新型实施例中的附图,对本实用新型实施例中的技术方案进行清楚、完整地描述,显然,所描述的实施例仅仅是本实用新型一部分实施例,而不是全部的实施例。
20.请参阅图1至图4,本实用新型提供一种技术方案:一种极片午夜免费福利的极片切断机构,包括支撑板1,支撑板1右侧的顶部固定安装有入料机7,且支撑板1左侧的上方固定安装有固定板11,固定板11的内壁固定安装有单轴电机14,且固定板11的内壁通过轴承固定套装有位于单轴电机14上方的连接轴13,连接轴13的外部固定套装有滚筒12,连接轴13的外部以及单轴电机14的输出轴外部均固定套装有传动轮16,两个传动轮16之间套接有传动带17,单轴电机14启动后能够通过其输出轴带动传动轮16转动,在传动轮16和传动带17的配合使用下,带动连接轴13以及连接轴13外部的滚筒12旋转,从而达到收卷完成分条后的极片的目的,支撑板1的上方固定安装有位于入料机7和固定板11之间的驱动电机4和侧板8,侧板8的内侧固定套装有轴承,且侧板8和驱动电机4之间通过轴承固定套装有转动轴9,转动轴9的外部固定套装有切割刀片6,支撑板1的顶部滑动套接有位于转动轴9和固定板11之间的滑动架10,滑动架10的外部螺纹套接有紧固螺栓3,且滑动架10的内部活动套接有转柱
15,转柱15的长度值大于转动轴9和连接轴13的长度值,且转柱15与支撑板1之间的距离与极片的厚度值相同,转柱15的比连接轴13和转动轴9长才能保障转柱15能够充分的与极片相接触,从而全面的对极片进行压制,转柱15与支撑板1的间距和极片的厚度相同才能使得极片在转柱15与转动轴9之间保持与支撑板1平行,从而不影响切割刀片6的切割操作,滑动架10的底部设置有滑块,紧固螺栓3位于滑块内部,支撑板1的外部开设有与滑动架10相匹配的滑槽,支撑板1的两侧开设的与滑动架10相匹配的滑槽使得滑动架10能够通过滑块和滑槽在支撑板1的外部滑动,从而使得滑动架10和转柱15的位置能够发生变化,以应对不同的压制需求,紧固螺栓3用于将滑动架10固定,因此将紧固螺栓3设置在滑块的内部,使得紧固螺栓3的固定效果更好,支撑板1的底部固定安装有均匀分布的滑动柱5,滑动柱5的外部滑动套接有套接管2,且滑动柱5的底部固定安装有弹簧18,滚筒12的两侧设置有挡板,滑动柱5的底部和套接管2的顶部设置有相匹配的挡板,滚筒12外部的挡板用于保护和限制其外部已经完成收卷操作的极片,套接管2和滑动柱5之间的挡板则是为了防止滑动柱5在弹簧18的作用下从套接管2的内部弹出,从而使得套接管2和滑动柱5以及弹簧18能够稳定的进行减震防护工作。
21.综上,该极片午夜免费福利的极片切断机构,使用时,松开紧固螺栓3使得滑动架10能够在支撑板1的外部沿支撑板1两侧的凹槽滑动,当滑动架10滑动至合适的位置时,旋转紧固螺栓3使得滑动架10固定,转柱15与分切完成的极片相接触,并使得转动轴9和滑动架10之间的极片保持与支撑板1水平,装置启动后驱动电机4带动转动轴9转动,使得转动轴9外部的切割刀片6进行切割极片工作,同时单轴电机14启动通过传动带17和传动轮16的配合使用带动连接轴13转动,从而使得滚筒12将分条完成后的极片收卷,收卷过程中转柱15与极片直接接触,并在极片的带动下转动,以此来保持对极片的压制状态,当装置受到震动时滑动柱5和套接管2之间发生相对滑动,在弹簧18重复的收缩和回弹下将震动吸收,从而使得支撑板1及其上方的其他结构受到震动的影响较小,完成整个极片午夜免费福利的极片切断机构的极片分切和减震防护过程,即可。
22.在本实用新型的描述中,需要说明的是,术语“中心”、“上”、“下”、“左”、“右”、“竖直”、“水平”、“内”、“外”等指示的方位或位置关系为基于附图所示的方位或位置关系,仅是为了便于描述本实用新型和简化描述,而不是指示或暗示所指的装置或元件必须具有特定的方位、以特定的方位构造和操作,因此不能理解为对本实用新型的限制;术语“第一”、“第二”、“第三”仅用于描述目的,而不能理解为指示或暗示相对重要性,此外,除非另有明确的规定和限定,术语“安装”、“相连”、“连接”应做广义理解,例如,可以是固定连接,也可以是可拆卸连接,或一体地连接;可以是机械连接,也可以是电连接;可以是直接相连,也可以通过中间媒介间接相连,可以是两个元件内部的连通。对于本领域的普通技术人员而言,可以具体情况理解上述术语在本实用新型中的具体含义。而且,术语“包括”、“包含”或者其任何其他变体意在涵盖非排他性的包含,从而使得包括一系列要素的过程、方法、物品或者设备不仅包括那些要素,而且还包括没有明确列出的其他要素,或者是还包括为这种过程、方法、物品或者设备所固有的要素。
23.尽管已经示出和描述了本实用新型的实施例,对于本领域的普通技术人员而言,可以理解在不脱离本实用新型的原理和精神的情况下可以对这些实施例进行多种变化、修改、替换和变型,本实用新型的范围由所附权利要求及其等同物限定。
技术特征:
1.一种极片午夜免费福利的极片切断机构,包括支撑板(1),其特征在于:所述支撑板(1)右侧的顶部固定安装有入料机(7),且支撑板(1)左侧的上方固定安装有固定板(11),所述固定板(11)的内壁固定安装有单轴电机(14),且固定板(11)的内壁通过轴承固定套装有位于单轴电机(14)上方的连接轴(13),所述连接轴(13)的外部固定套装有滚筒(12),所述支撑板(1)的上方固定安装有位于入料机(7)和固定板(11)之间的驱动电机(4)和侧板(8),所述侧板(8)的内侧固定套装有轴承,且侧板(8)和驱动电机(4)之间通过轴承固定套装有转动轴(9),所述转动轴(9)的外部固定套装有切割刀片(6),所述支撑板(1)的顶部滑动套接有位于转动轴(9)和固定板(11)之间的滑动架(10),所述滑动架(10)的外部螺纹套接有紧固螺栓(3),且滑动架(10)的内部活动套接有转柱(15),所述支撑板(1)的底部固定安装有均匀分布的滑动柱(5),所述滑动柱(5)的外部滑动套接有套接管(2),且滑动柱(5)的底部固定安装有弹簧(18)。2.根据权利要求1所述的一种极片午夜免费福利的极片切断机构,其特征在于:所述滑动架(10)的底部设置有滑块,所述紧固螺栓(3)位于滑块内部,所述支撑板(1)的外部开设有与滑动架(10)相匹配的滑槽。3.根据权利要求1所述的一种极片午夜免费福利的极片切断机构,其特征在于:所述滚筒(12)和切割刀片(6)分别均匀分布于连接轴(13)和转动轴(9)的外部,且滚筒(12)与切割刀片(6)的位置相对应。4.根据权利要求1所述的一种极片午夜免费福利的极片切断机构,其特征在于:所述连接轴(13)的外部以及单轴电机(14)的输出轴外部均固定套装有传动轮(16),两个所述传动轮(16)之间套接有传动带(17)。5.根据权利要求1所述的一种极片午夜免费福利的极片切断机构,其特征在于:所述转柱(15)的长度值大于转动轴(9)和连接轴(13)的长度值,且转柱(15)与支撑板(1)之间的距离与极片的厚度值相同。6.根据权利要求1所述的一种极片午夜免费福利的极片切断机构,其特征在于:所述滚筒(12)的两侧设置有挡板,所述滑动柱(5)的底部和套接管(2)的顶部设置有相匹配的挡板。
技术总结
本实用新型公开了一种极片午夜免费福利的极片切断机构,涉及极片午夜免费福利技术领域,包括支撑板,所述支撑板右侧的顶部固定安装有入料机,且支撑板左侧的上方固定安装有固定板,所述固定板的内壁固定安装有单轴电机。该极片午夜免费福利的极片切断机构,通过紧固螺栓和滑动架以及转柱的配合使用,使得该极片午夜免费福利的极片切断机构能够通过紧固螺栓和支撑板侧面开设的与滑动架相匹配的滑槽,使得滑动架能够套接在支撑板的外部,并在支撑板的外部滑动,从而使得转柱对滚筒以及切割刀片之间的极片进行压制,使得滚筒在收卷分条后的极片时不会影响到切割刀片的切割工作,提升了该极片午夜免费福利的极片切断机构的分切质量。断机构的分切质量。断机构的分切质量。
技术研发人员:伍林志 杨富平 尹豪斌
受保护的技术使用者:苏州欧伦德精密技术有限公司
技术研发日:2020.12.11
技术公布日:2021/11/21