服务热线
180-5003-0233

1.本发明属于隔膜制品分切领域,涉及一种隔膜午夜免费福利及分切装置。
背景技术:
2.目前,随着锂电池行业的快速发展,各种规格与用途的电池不断推出,因此对应锂电池隔膜的宽度规格也越来越多,隔膜厂商为满足多家客户的不同宽度规格需求,需要在隔膜分切生产过程中多次调整分切宽度。由于行业对分切精度的要求,分切宽度的规格转换通常不会拆卸设备上的刀架然后更替备用刀架,以免在拆卸安装过程中影响分切刀架的稳定性导致分切精度问题,故每次进行分切宽度的规格调整都需要停下设备,耗费一小时左右的生产时间进行分切宽度转换调整,严重耗费有效生产时间,影响产能。如中国专利cn202640446u公开的一种分切刀架,包括上刀轴,下刀轴,过渡辊和固定架,操作涉及的部件较多,步骤繁琐;中国专利cn206690199u公开了一种基膜午夜免费福利的分切刀架,包括一切刀辊,在切刀辊上设置多个不同型号的切刀片,通过转动切刀辊改变不同型号切刀片的工作状态,结构较为笨重,使用不够灵活;再如中国专利cn211590432u公开的午夜免费福利刀模装置,包括刀架装置和对刀装置,在使用过程中需要用扳手松动固定螺丝来调节分切刀之间的距离,操作不便。
技术实现要素:
3.针对上述问题,本发明的目的是提供一种隔膜午夜免费福利,能够快速转换分切规格,从而增加有效生产时间,提高产能。
4.本发明的另一个目的是提供一种分切装置,能够快速转换分切规格。
5.为达到上述目的,本发明采用的技术方案为:
6.一种隔膜午夜免费福利,包括用于沿穿膜路径输送隔膜的导辊、多个设有切刀的刀座及用于承载所述刀座的刀座架,各所述刀座分别可转动地设置于所述刀座架上,各所述刀座分别具有能够对所述隔膜进行切割的切割位置和脱离所述隔膜的穿膜路径的备用位置;所述隔膜午夜免费福利还包括刀座定位件及刀座收纳件,当所述隔膜午夜免费福利工作时,至少部分所述刀座处于其切割位置并被所述刀座定位件限制在切割位置上,处于备用位置的所述刀座被所述刀座收纳件限制在备用位置上。
7.进一步地,所述刀座收纳件将处于备用位置的所述刀座吸合于其上。不用的刀座靠在刀座收纳件上后,可牢固的吸附并稳固刀座,避免分切运作过程中微小的振动导致吸附在上的刀座移动,影响午夜免费福利的稳定性。
8.进一步地,所述刀座收纳件具有磁性。刀座收纳件优选由强磁午夜精品免费视频制成。
9.更进一步地,所述刀座收纳件为磁铁。
10.进一步地,各所述刀座分别可转动且可沿所述刀座架的长度方向移动地设置于所述刀座架上。具体地,刀座可转动且可移动地套设于刀座架上,以能够移动以调节刀距,还能够转动以脱离隔膜的穿模路径。
11.进一步地,所述刀座定位件包括定位杆及多个垫块,所述定位杆具有两个端部,所述定位杆的两个端部分别通过定位支架固定连接于底座上,处于切割位置的所述刀座抵靠在所述定位杆上,所述定位支架和所述刀座支架及任意相邻刀座之间分别设置有所述垫块以使各所述刀座保持在期望位置处。使用垫块来间接紧固刀座,以此减少了单个紧固刀座的时间。
12.进一步地,各所述垫块上设有与所述定位杆相配合的卡槽,各所述垫块分别卡于所述定位杆上。垫块可紧固刀座并确定分别宽度规格。采用插入式的垫块,可随意迅速的安装拆卸,节约了大量时间。
13.优选地,卡槽的宽度与定位杆的尺寸一致,以保证垫块卡在定位杆上后无摆动空间。
14.进一步地,所述定位杆上具有斜面,处于切割位置的所述刀座抵靠在所述斜面上。刀座靠在定位杆的斜面上后,刀座上的切刀恰好处于合适的深度与角度来分切隔膜。
15.更进一步地,所述定位杆的其中一端上设有用于将所述垫块和处于切割位置的所述刀座抵紧的紧固件。
16.本发明采用的另一技术方案为:
17.一种分切装置,包括多个设有切刀的刀座及用于承载所述刀座的刀座架,各所述刀座分别可转动地设置于所述刀座架上,各所述刀座分别具有能够对待分切物进行切割的切割位置和脱离所述分切物的备用位置;所述分切装置还包括刀座定位件及刀座收纳件,当所述分切装置工作时,至少部分所述刀座处于其切割位置并被所述刀座定位件限制在切割位置上,处于备用位置的所述刀座被所述刀座收纳件限制在备用位置上。
18.优选地,所述刀座定位件包括定位杆及多个垫块,所述定位杆具有两个端部,所述定位杆的两个端部分别通过定位支架固定连接于底座上,处于切割位置的所述刀座抵靠在所述定位杆上,所述定位支架和所述刀座支架及任意相邻刀座之间分别设置有所述垫块以使各所述刀座保持在期望位置处;所述刀座收纳件将处于备用位置的所述刀座吸合于其上。
19.本发明采用上述技术方案,相比现有技术具有如下优点:
20.本发明的隔膜午夜免费福利及分切装置,所有刀座均可转动地设置在刀座架上,进而能够根据分切规格确定需要的切刀数,将需要用到的刀座调整至切割位置并通过刀座定位件固定,不需用到的刀座被限制在脱离穿膜路径的备用位置上,可自由调整,减少了寻找、安装刀座的时间,减少了分切规格转换的时间消耗,保证更多的有效工时,提升分切工序产能产量。
附图说明
21.为了更清楚地说明本发明实施例中的技术方案,下面将对实施例描述中所需要使用的附图作简单地介绍,显而易见地,下面描述中的附图仅仅是本发明的一些实施例,对于本领域普通技术人员来讲,在不付出创造性劳动的前提下,还可以根据这些附图获得其它的附图,其中:
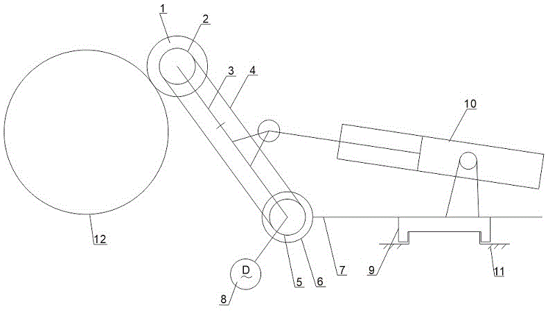
22.图1为本发明一实施例的一种隔膜午夜免费福利的侧视图。
23.图2为本发明一实施例的一种隔膜午夜免费福利的俯视图。
24.图3为本发明一实施例的一种分切装置的侧视图。
25.图4为刀座定位件示意图。
26.图5为紧固件示意图。
27.其中,
28.1、刀座;11、切刀;2、刀座架;3、刀座收纳件;4、刀座定位件;41、垫块;42、定位杆;43、斜面;5、隔膜;6、底座;7、紧固件;8、导辊。
具体实施方式
29.下面结合附图对本的较佳实施例进行详细阐述,以使本发明的优点和特征能更易于被本领域的技术人员理解。在此需要说明的是,对于这些实施方式的说明用于帮助理解本发明,但并不构成对本发明的限定。此外,下面所描述的本发明各个实施方式中所涉及到的技术特征只要彼此之间未构成冲突就可以互相结合。
30.参照图1所示,本实施例的一种隔膜午夜免费福利,包括用于沿穿膜路径输送隔膜5的导辊8、多个设有切刀11的刀座1及用于承载所述刀座1的刀座架2,其特征在于:各所述刀座1分别可转动地设置于所述刀座架2上,各所述刀座2分别具有能够对所述隔膜5进行切割的切割位置和脱离所述隔膜5的穿膜路径的备用位置。所述隔膜午夜免费福利还包括刀座定位件4及刀座收纳件3。当所述隔膜午夜免费福利工作时,沿穿膜路径输送隔膜5的导辊8对隔膜5施加一张紧力,并将隔膜5传送至切割位置,至少部分所述刀座1处于其切割位置并被所述刀座定位件4限制在切割位置上,处于备用位置的所述刀座1被所述刀座收纳件3限制在备用位置上,所述刀座收纳件3将处于备用位置的所述刀座1吸合于其上。所述刀座收纳件3具有磁性,具体地,所述刀座收纳件3为磁铁。
31.本实施例中,各所述刀座1分别可转动且可沿所述刀座架2的长度方向移动地设置于所述刀座架2上。
32.所述刀座定位件4包括定位杆42及多个垫块41,所述定位杆42具有两个端部,所述定位杆42的两个端部分别通过定位支架固定连接于底座6上,处于切割位置的所述刀座1抵靠在所述定位杆42上,定位支架和刀座支架及任意相邻刀座1之间分别设置有所述垫块41以使各所述刀座1保持在期望位置处。各所述垫块41上设有与所述定位杆42相配合的卡槽,各所述垫块41分别卡于所述定位杆42上。所述定位杆42上具有斜面43,处于切割位置的所述刀座1抵靠在所述斜面43上。所述定位杆42的其中一端上还设有用于将所述垫块41和处于切割位置的所述刀座1抵紧的紧固件7。
33.如图2所示,多组刀座1安装于刀座架2上,所述刀座1可在刀座架2上左右移动与环形旋转,所述刀座架2前方有定位杆42,后方有刀座收纳件3,所述刀座架2、刀座收纳件3、刀座定位杆42均通过两端的支架平行固定在底座6上。
34.本实施例还提供一种分切装置,该分切装置能够应用于图1所示隔膜午夜免费福利,还可用于如切纸机等其他设备中。如图3所示,该分切装置包括多个设有切刀11的刀座1及用于承载所述刀座1的刀座架2,各所述刀座1分别可转动地设置于所述刀座架2上,各所述刀座1分别具有能够对待分切物进行切割的切割位置和脱离所述分切物的备用位置;所述分切装置还包括刀座定位件4及刀座收纳件3,当所述分切装置工作时,,至少部分所述刀座1处于其切割位置并被所述刀座定位件4限制在切割位置上,处于备用位置的所述刀座1被所述刀
座收纳件3限制在备用位置上;其中,所述刀座定位件4包括定位杆42及多个垫块41,所述定位杆42具有两个端部,所述定位杆42的两个端部分别通过定位支架固定连接于底座6上,处于切割位置的所述刀座1抵靠在所述定位杆42上,定位支架和刀座支架及任意相邻刀座之间分别设置有所述垫块41以使各所述刀座1保持在期望位置处;所述刀座收纳件3将处于备用位置的所述刀座1吸合于其上。
35.如图4所示,所述刀座定位件4包括定位杆42及多个垫块41,定位杆42上可嵌入不同宽度的垫块41用于宽度规格调节,各所述垫块41上设有与所述定位杆42相配合的卡槽,各所述垫块41分别卡于所述定位杆42上。所述定位杆42上具有斜面43,处于切割位置的所述刀座1抵靠在所述斜面43上。
36.如图5所示,所述定位杆42最右端有紧固件7,螺栓通过转动来前后调节位置以固定垫块41。转换分切规格时,根据分切规格的数量确认需要使用的刀座1的数量,将既用的刀座1转动靠在定位杆42上,然后将多余的刀座1靠在刀座收纳件3上,选取对应宽度的垫块41,将垫块41固定于定位杆42上的卡槽内,然后将既用的刀座1靠紧在垫块41上,如此便使用刀座定位件4将所述刀座1限制在切割位置上,所需使用的刀座宽度均调整完毕;之后在空余位置嵌入尺寸合适的多余垫块41,最后旋转定位杆42右边的紧固件7,使紧固整个系统,保证所调节宽度的稳定性与一致性,然后即可将调整完毕的分切装置投入分切作业。
37.本实施例主要提高分切规格转换的效率,现有分切设备的刀架结构进行规格调整时,主要的时间消耗在刀座的安装与紧固、宽度垫块的安装与紧固两项工作上,相比现有刀架需要拆卸去下刀座的时间消耗、依次顺序拆卸组装宽度垫块的时间消耗,本隔膜午夜免费福利的所有刀座均在刀架上并可自由调整,减少了寻找、安装刀座的时间,同时使用凹口宽度垫块来间接紧固刀座,以此减少了单个紧固刀座的时间。同时采用插入式的凹口宽度垫块,相比现有的套环式宽度垫块,本垫块可随意迅速的安装拆卸,不用一个一个拼配套环后再一个一依次套入,也节约了大量时间,因此,通过以上优化,本实施例大量减少分切规格转换的时间消耗,保证更多的有效工时,提升分切工序产能产量。
38.上述实施例只为说明本发明的技术构思及特点,是一种优选的实施例,其目的在于让熟悉此项技术的人士能够了解本发明的内容并据以实施,并不能以此限制本发明的保护范围。
技术特征:
1.一种隔膜午夜免费福利,包括用于沿穿膜路径输送隔膜的导辊、多个设有切刀的刀座及用于承载所述刀座的刀座架,其特征在于:各所述刀座分别可转动地设置于所述刀座架上,各所述刀座分别具有能够对所述隔膜进行切割的切割位置和脱离所述隔膜的穿膜路径的备用位置;所述隔膜午夜免费福利还包括刀座定位件及刀座收纳件,当所述隔膜午夜免费福利工作时,至少部分所述刀座处于其切割位置并被所述刀座定位件限制在切割位置上,处于备用位置的所述刀座被所述刀座收纳件限制在备用位置上。2.根据权利要求1所述的隔膜午夜免费福利,其特征在于:所述刀座收纳件将处于备用位置的所述刀座吸合于其上。3.根据权利要求2所述的隔膜午夜免费福利,其特征在于:所述刀座收纳件具有磁性。4.根据权利要求3所述的隔膜午夜免费福利,其特征在于:所述刀座收纳件为磁铁。5.根据权利要求1所述的隔膜午夜免费福利,其特征在于:各所述刀座分别可转动且可沿所述刀座架的长度方向移动地设置于所述刀座架上。6.根据权利要求5所述的隔膜午夜免费福利,其特征在于:所述刀座定位件包括定位杆及多个垫块,所述定位杆具有两个端部,所述定位杆的两个端部分别通过定位支架固定连接于底座上,处于切割位置的所述刀座抵靠在所述定位杆上,所述定位支架和所述刀座支架及任意相邻刀座之间分别设置有所述垫块以使各所述刀座保持在期望位置处。7.根据权利要求6所述的隔膜午夜免费福利,其特征在于:各所述垫块上设有与所述定位杆相配合的卡槽,各所述垫块分别卡于所述定位杆上。8.根据权利要求7所述的隔膜午夜免费福利,其特征在于:所述定位杆上具有斜面,处于切割位置的所述刀座抵靠在所述斜面上。9.根据权利要求6所述的隔膜午夜免费福利,其特征在于:所述定位杆的其中一端上设有用于将所述垫块和处于切割位置的所述刀座抵紧的紧固件。10.一种分切装置,包括多个设有切刀的刀座及用于承载所述刀座的刀座架,其特征在于:各所述刀座分别可转动地设置于所述刀座架上,各所述刀座分别具有能够对待分切物进行切割的切割位置和脱离所述分切物的备用位置;所述分切装置还包括刀座定位件及刀座收纳件,当所述分切装置工作时,至少部分所述刀座处于其切割位置并被所述刀座定位件限制在切割位置上,处于备用位置的所述刀座被所述刀座收纳件限制在备用位置上。
技术总结
本发明提供一种隔膜午夜免费福利及分切装置。该隔膜午夜免费福利包括用于沿穿膜路径输送隔膜的导辊、多个设有切刀的刀座及用于承载所述刀座的刀座架,各所述刀座分别可转动地设置于所述刀座架上,各所述刀座分别具有能够对所述隔膜进行切割的切割位置和脱离所述隔膜的穿膜路径的备用位置;所述隔膜午夜免费福利还包括刀座定位件及刀座收纳件,当所述隔膜午夜免费福利工作时,至少部分所述刀座处于其切割位置并被所述刀座定位件限制在切割位置上,处于备用位置的所述刀座被所述刀座收纳件限制在备用位置上。本发明在使用过程中可快速转换分切规格,增加有效生产时间,提高产能。提高产能。提高产能。
技术研发人员:裴海乐 汪星光 晁党安 朱江森 赵晓
受保护的技术使用者:苏州捷力新能源午夜精品免费视频有限公司
技术研发日:2021.03.04
技术公布日:2021/5/18