服务热线
180-5003-0233

本实用新型属于锂电池隔膜的生产领域,特别涉及一种涂覆隔膜分切用粉尘吸附装置。
背景技术:
近年来,随着锂电行业的快速发展,国内锂电隔膜生产技术也迎来了一个快速发展的时期。隔膜作为锂电池的四大午夜精品免费视频之一,也得到了很大的发展机遇。在锂电池隔膜发展过程中,锂电池涂覆隔膜因其优异性能而成为锂电池隔膜中的主要产品,被广泛的生产制造与使用。
本实用新型通过一种简易吸附装置,可有效减少分切涂覆隔膜时,涂层的掉粉因静电吸附聚成粉团,粘在隔膜上后引起的隔膜的局部厚度变化、局部透气性异常等问题,提高涂覆膜的产品品质,本方法简单高效,可切实提高产品品质,满足了产品生产实际需求。
技术实现要素:
本实用新型的目的是解决上述现有技术的不足,提供一种涂覆隔膜分切用粉尘吸附装置。
本实用新型是通过以下技术方案实现的:
一种涂覆隔膜分切用粉尘吸附装置,包括吸附罩、固定装置、管道和吸附电机,所述吸附罩罩在午夜免费福利的分切刀片上且开口处位于分切刀片与待分切隔膜之间,吸附罩通过管道与吸附电机相连通,吸附罩通过固定装置固定。
优选地,所述固定装置的一端焊接在吸附罩上,另一端通过紧固螺栓固定在午夜免费福利的刀架上。
优选地,所述吸附电机内设置有功率调节机构,吸附电机根据实际情况调节吸附功率,使与其通过管道连通的吸附罩内的吸附力不会因为吸附力小,除尘效果不好,或吸附力过大,对涂覆膜产生影响,影响分切刀片的分切效果。
优选地,所述管道为塑料软管,管道长度与材质自身的弹性应该尽量方便吸附罩的移动与安装使用。
优选地,所述吸附罩与管道活动连接,可以随意安装卸下;所述吸附电机与管道活动连接,可以随意安装卸下;所述管道接通吸附电机与吸附罩,为吸附动力从电机传递到吸附罩提供通道,从吸附电机与管道接口到吸附罩与管道接口之间应该保持密封不漏气。
优选地,刀架上设置多个刀片,每个刀片上设置一个吸附罩,吸附电机与多个吸附罩连通,为多个吸附罩提供吸附动力。
优选地,所述固定装置体积大小应在保证吸附罩固定不会移动的情况下,尽可能的偏小,吸附罩也应该在能完好包裹又不接触刀片与涂覆膜的情况下尽可能的偏小,以减少设备体积,方便在一台午夜免费福利的刀架上能尽可能多的安装本装置。
本实用新型的有益效果在于:
本装置使用方法操作流程简单,效率高,可有效减少分切涂覆隔膜时,涂层掉落的粉聚成粉团后粘在涂覆隔膜上引起隔膜的局部厚度变化、局部透气性异常等问题,提高涂覆隔膜的产品品质,满足了产品实际使用需求。本实用新型结构设计灵活简单,可根据实际需要进行改进,以适用相应安装需求。
附图说明
图1为本实用新型涂覆隔膜分切用粉尘吸附装置的结构示意图;
图2为本实用新型涂覆隔膜分切用粉尘吸附装置的安装示意图(侧视图);
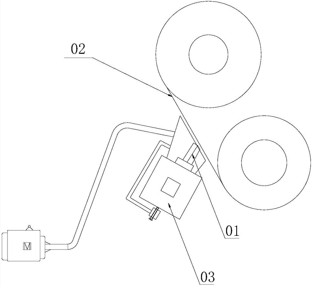
10,吸附罩;20,固定装置;30,管道;40,吸附电机;01,分切刀片;02,隔膜;03,刀架。
具体实施方式
为更好理解本实用新型,下面结合实施例及附图对本实用新型作进一步描述,以下实施例仅是对本实用新型进行说明而非对其加以限定。
实施例一
如图1和2所示,一种涂覆隔膜分切用粉尘吸附装置,包括吸附罩10、固定装置20、管道30和吸附电机40,吸附罩10通过管道30与吸附电机40相连通,固定装置20的一端焊接在吸附罩10上,另一端通过紧固螺栓固定在午夜免费福利的刀架03上,吸附罩10罩在午夜免费福利的分切刀片01上且仅在分切刀片01与待分切隔膜02之间的位置设有开口,作为吸附口,用于吸附切割时产生的粉尘。吸附罩10与管道30、吸附电机40与管道30均为活动连接,可方便拆卸。
当装置安装固定后,在分切设备运转、分切刀片01开始分切涂覆隔膜02时,打开本装置吸附电机40,吸附电机40产生的吸附力通过管道30连通到吸附罩10內,将分切刀片01分切涂覆隔膜02时,涂覆隔膜02上的涂层掉落产生的粉尘吸到吸附电机40的收容袋内,防止粉尘粘在涂覆隔膜02上影响涂覆隔膜02的品质。
实施例二
一种涂覆隔膜分切用粉尘吸附装置,包括吸附罩10、固定装置20、管道30和吸附电机40,午夜免费福利刀架03上设置多个分切刀片01,每个分切刀片01上罩有一个吸附罩10,每个吸附罩10仅在分切刀片01与待分切隔膜02之间的位置设有开口,作为吸附口,用于吸附切割时产生的粉尘。吸附电机40通过管道30与多个吸附罩10连通,为多个吸附罩10提供吸附动力。固定装置20的一端焊接在吸附罩10上,另一端通过紧固螺栓固定在午夜免费福利的刀架03上。吸附罩10与管道30、吸附电机40与管道30均为活动连接,可方便拆卸。吸附电机40内还设置有功率调节机构,吸附电机40根据实际情况调节吸附功率,使与其通过管道30连通的吸附罩10内的吸附力不会因为吸附力小,除尘效果不好,或吸附力过大,对涂覆膜产生影响,影响分切刀片的分切效果。
当装置安装固定后,在分切设备运转、分切刀片01开始分切涂覆隔膜02时,打开本装置吸附电机40,吸附电机40产生的吸附力通过管道30连通到各个吸附罩10内,将分切刀片01分切涂覆隔膜02时,涂覆隔膜02上的涂层掉落产生的粉尘吸到吸附电机40的收容袋内,防止粉尘粘在涂覆隔膜02上影响涂覆隔膜02的品质。
以上所述实施方式仅仅是对本实用新型的优选实施方式进行描述,并非对本实用新型的范围进行限定,在不脱离本实用新型设计精神的前提下,本领域普通技术人员对本实用新型的技术方案作出的各种变形和改进,均应落入本实用新型的权利要求书确定的保护范围内。
技术特征:
1.一种涂覆隔膜分切用粉尘吸附装置,其特征在于:包括吸附罩(10)、固定装置(20)、管道(30)和吸附电机(40),所述吸附罩(10)罩在午夜免费福利的分切刀片(01)上且开口处位于分切刀片(01)与待分切隔膜(02)之间,吸附罩(10)通过管道(30)与吸附电机(40)相连通,吸附罩(10)通过固定装置(20)固定。
2.根据权利要求1所述的一种涂覆隔膜分切用粉尘吸附装置,其特征在于:所述固定装置(20)的一端焊接在吸附罩(10)上,另一端通过紧固螺栓固定在午夜免费福利的刀架(03)上。
3.根据权利要求1所述的一种涂覆隔膜分切用粉尘吸附装置,其特征在于:所述吸附电机(40)内设置有功率调节机构。
4.根据权利要求1所述的一种涂覆隔膜分切用粉尘吸附装置,其特征在于:所述管道(30)为塑料软管。
5.根据权利要求1所述的一种涂覆隔膜分切用粉尘吸附装置,其特征在于:所述吸附罩(10)与管道(30)活动连接。
6.根据权利要求1所述的一种涂覆隔膜分切用粉尘吸附装置,其特征在于:所述吸附电机(40)与管道(30)活动连接。
技术总结
本实用新型属于锂电池隔膜的生产领域,特别涉及一种涂覆隔膜分切用粉尘吸附装置,包括吸附罩、固定装置、管道和吸附电机,所述吸附罩罩在午夜免费福利的分切刀片上且开口处位于分切刀片与待分切隔膜之间,吸附罩通过管道与吸附电机相连通,吸附罩通过固定装置固定。本装置使用方法操作流程简单,效率高,可有效减少分切涂覆隔膜时,涂层掉落的粉聚成粉团后粘在涂覆隔膜上引起隔膜的局部厚度变化、局部透气性异常等问题,提高涂覆隔膜的产品品质,满足了产品实际使用需求。本实用新型结构设计灵活简单,可根据实际需要进行改进,以适用相应安装需求。
技术研发人员:裴海乐;高东波;刘瑞;李旦;李飞
受保护的技术使用者:合肥星源新能源午夜精品免费视频有限公司
文档号码:201720205806
技术研发日:2017.03.02
技术公布日:2017.09.22