服务热线
180-5003-0233

1.本实用新型涉及午夜免费福利技术领域,尤其涉及一种薄膜午夜免费福利的自动废边回收装置。
背景技术:
2.午夜免费福利主要用于对大卷的薄膜类产品分切成小规格的薄膜产品,如胶带,修正带,塑料膜。行业内的传统午夜免费福利,对于废边回收有以下两种方式,都存在不足。
3.1、分切废边回收装置与午夜免费福利收卷装置采用同步机构实现传动,机构复杂,传动复杂,成本高,位于整机上方,张力不可控,易断带不能连续分切,不易取出换卷;
4.2、采用离心风机吸附收集,气流不稳定,噪音大,能耗高,易断带,易缠绕到牵引轴上并引起断带故障,不能连续分切。
5.因此,现有技术存在缺陷,需要改进。
技术实现要素:
6.本实用新型要解决的技术问题是:提供一种薄膜午夜免费福利的自动废边回收装置,实现自动化回收废边,方便连续分切。
7.本实用新型的技术方案如下:提供一种薄膜午夜免费福利的自动废边回收装置,包括:马达、废边收卷料盘、两个电机启停感应开关、张力平衡滑块、导向杆、第一导轮、第二导轮;所述马达的输出轴与所述废边收卷料盘的转轴连接,所述第一导轮安装在张力平衡滑块上,所述张力平衡滑块设置在导向杆上,所述导向杆与水平面的夹角范围为30°‑150°
,所述第二导轮、废边收卷设置在导向杆的同一侧,所述第二导轮的位置高于第一导轮在导向杆上的最低位置,所述废边收卷料盘的位置低于第二导轮的位置;所述电机启停感应开关分别设置在导向杆的两端并相对,两个所述电机启停感应开关均朝向所述张力平衡滑块。所述电机启停感应开关为接近开关或行程开关。
8.所述电机启停感应开关用于控制马达的启动和停止。应用时,将薄膜分切后的废边绕过安装在张力平衡滑块上的第一导轮导轮,然后绕过第二导轮,最后缠绕在废边收卷料盘上。薄膜分切的过程中,废边是不断产生的,马达启动后带动废边收卷料盘转动收取废边,在马达动力牵引下,废边产生内部张力,从而带动张力平衡滑块沿导向杆上升,直到位于最上方的接近开关感应到张力平衡滑块,马达即时停止转动,废边内部的张力消失,则张力平衡滑块重力作用带动废边向下自由落体运动,直到位于最下方的接近开关感应到张力平衡滑块,马达即时启动,收卷废边,如此往复循环,实现对废边收卷;当废边收卷料盘满料后,人工取下更换,简单方便。本方案结构简单,成本低、噪音也小;使用过程中断带概率小,方便实现连续生产、易清理、易更换,维护成本低。
9.进一步地,所述第二导轮的位置高于导向杆的最高位置。所述第二导轮设置在废边收卷料盘与导向杆之间。所述导向杆与水平面的夹角为90°±5°。
10.进一步地,所述薄膜午夜免费福利的自动废边回收装置,还包括:安装板、支撑柱、两个支
撑杆、安装座,所述马达、导向杆、第二导轮均安装在所述安装板上。所述第二导轮通过所述所述支撑柱安装在所述安装板上。所述导向杆通过两个所述支撑杆安装在安装板上。所述电机通过安装座安装在安装板上。
11.进一步地,两个所述电机启停感应开关分别安装在一个支撑杆上。
12.进一步地,所述导向杆为两个,所述第一导轮设置在两个导向杆之间。将第一导轮设置在两个导向杆之间,可以保证第一导轮的稳定,避免晃动。
13.采用上述方案,本实用新型提供一种薄膜午夜免费福利的自动废边回收装置,应用时,将薄膜分切后的废边绕过安装在张力平衡滑块上的第一导轮导轮,然后绕过第二导轮,最后缠绕在废边收卷料盘上。薄膜分切的过程中,废边是不断产生的,马达启动后带动废边收卷料盘转动收取废边,在马达动力牵引下,废边产生内部张力,从而带动张力平衡滑块沿导向杆上升,直到位于最上方的接近开关感应到张力平衡滑块,马达即时停止转动,废边内部的张力消失,则张力平衡滑块重力作用带动废边向下自由落体运动,直到位于最下方的接近开关感应到张力平衡滑块,马达即时启动,收卷废边,如此往复循环,实现对废边收卷;当废边收卷料盘满料后,人工取下更换,简单方便。
附图说明
14.图1为本实用新型的一实施例的结构示意图;
15.图2为图1实施例的另一视角的结构示意图。
具体实施方式
16.以下结合附图和具体实施例,对本实用新型进行详细说明。
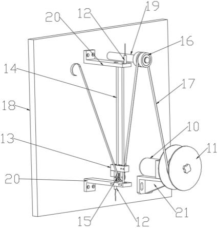
17.请参阅图1和图2,本实施例提供一种薄膜午夜免费福利的自动废边回收装置,包括:马达10、废边收卷料盘11、两个电机启停感应开关12、张力平衡滑块13、导向杆14、第一导轮15、第二导轮16;所述马达10的输出轴与所述废边收卷料盘11的转轴连接,所述第一导轮15安装在张力平衡滑块13上,所述张力平衡滑块13设置在导向杆14上,所述导向杆14与水平面的夹角范围为30°‑150°
,所述第二导轮16、废边收卷设置在导向杆14的同一侧,所述第二导轮16的位置高于第一导轮15在导向杆14上的最低位置,所述废边收卷料盘11的位置低于第二导轮16的位置;所述电机启停感应开关12分别设置在导向杆14的两端并相对,两个所述电机启停感应开关12均朝向所述张力平衡滑块13。
18.所述电机启停感应开关12用于控制马达10的启动和停止。应用时,将薄膜分切后的废边17绕过安装在张力平衡滑块13上的第一导轮15导轮,然后绕过第二导轮16,最后缠绕在废边收卷料盘上。薄膜分切的过程中,废边17是不断产生的,马达10启动后带动废边收卷料盘转动收取废边17,在马达10动力牵引下,废边17产生内部张力,从而带动张力平衡滑块13沿导向杆14上升,直到位于最上方的接近开关感应到张力平衡滑块13,马达10即时停止转动,废边17内部的张力消失,则张力平衡滑块13重力作用带动废边17向下自由落体运动,直到位于最下方的接近开关感应到张力平衡滑块13,马达10即时启动,收卷废边17,如此往复循环,实现对废边17收卷;当废边收卷料盘11满料后,人工取下更换,简单方便。本方案结构简单,成本低、噪音也小;使用过程中断带概率小,方便实现连续生产、易清理、易更换,维护成本低。
19.在本实施例中,所述第二导轮16的位置高于导向杆14的最高位置。所述第二导轮16设置在废边收卷料盘11与导向杆14之间。在本实施例中,所述导向杆14与水平面的夹角为90°。
20.在本实施例中,所述薄膜午夜免费福利的自动废边回收装置,还包括:安装板18、支撑柱19、两个支撑杆20、安装座21,所述马达10、导向杆14、第二导轮16均安装在所述安装板18上。所述第二导轮16通过所述所述支撑柱19安装在所述安装板18上。所述导向杆14通过两个所述支撑杆20安装在安装板18上。所述电机通过安装座21安装在安装板18上。
21.在本实施例中,两个所述电机启停感应开关12分别安装在一个支撑杆20上。
22.在本实施例中,所述导向杆14为两个,所述第一导轮15设置在两个导向杆14之间。将第一导轮15设置在两个导向杆14之间,可以保证第一导轮15的稳定,避免晃动。
23.综上所述,本实用新型提供一种薄膜午夜免费福利的自动废边回收装置,应用时,将薄膜分切后的废边绕过安装在张力平衡滑块上的第一导轮导轮,然后绕过第二导轮,最后缠绕在废边收卷料盘上。薄膜分切的过程中,废边是不断产生的,马达启动后带动废边收卷料盘转动收取废边,在马达动力牵引下,废边产生内部张力,从而带动张力平衡滑块沿导向杆上升,直到位于最上方的接近开关感应到张力平衡滑块,马达即时停止转动,废边内部的张力消失,则张力平衡滑块重力作用带动废边向下自由落体运动,直到位于最下方的接近开关感应到张力平衡滑块,马达即时启动,收卷废边,如此往复循环,实现对废边收卷;当废边收卷料盘满料后,人工取下更换,简单方便。
24.以上仅为本实用新型的较佳实施例而已,并不用于限制本实用新型,凡在本实用新型的精神和原则之内所作的任何修改、等同替换和改进等,均应包含在本实用新型的保护范围之内。
技术特征:
1.一种薄膜午夜免费福利的自动废边回收装置,其特征在于,包括:马达、废边收卷料盘、两个电机启停感应开关、张力平衡滑块、导向杆、第一导轮、第二导轮;所述马达的输出轴与所述废边收卷料盘的转轴连接,所述第一导轮安装在张力平衡滑块上,所述张力平衡滑块设置在导向杆上,所述导向杆与水平面的夹角范围为30°‑150°,所述第二导轮、废边收卷设置在导向杆的同一侧,所述第二导轮的位置高于第一导轮在导向杆上的最低位置,所述废边收卷料盘的位置低于第二导轮的位置;所述电机启停感应开关分别设置在导向杆的两端并相对,两个所述电机启停感应开关均朝向所述张力平衡滑块。2.根据权利要求1所述的一种薄膜午夜免费福利的自动废边回收装置,其特征在于,所述第二导轮的位置高于导向杆的最高位置。3.根据权利要求1所述的一种薄膜午夜免费福利的自动废边回收装置,其特征在于,所述第二导轮设置在废边收卷料盘与导向杆之间。4.根据权利要求1所述的一种薄膜午夜免费福利的自动废边回收装置,其特征在于,所述导向杆与水平面的夹角为90°±5°。5.根据权利要求1所述的一种薄膜午夜免费福利的自动废边回收装置,其特征在于,还包括:安装板,所述马达、导向杆、第二导轮均安装在所述安装板上。6.根据权利要求5所述的一种薄膜午夜免费福利的自动废边回收装置,其特征在于,还包括:两个支撑柱,所述第二导轮通过两个所述支撑柱安装在所述安装板上。7.根据权利要求5所述的一种薄膜午夜免费福利的自动废边回收装置,其特征在于,还包括:支撑杆,所述导向杆通过支撑杆安装在安装板上。8.根据权利要求7所述的一种薄膜午夜免费福利的自动废边回收装置,其特征在于,两个所述电机启停感应开关分别安装在一个支撑杆上。9.根据权利要求5所述的一种薄膜午夜免费福利的自动废边回收装置,其特征在于,还包括:安装座,所述电机通过安装座安装在安装板上。10.根据权利要求1所述的一种薄膜午夜免费福利的自动废边回收装置,其特征在于,所述导向杆为两个,所述第一导轮设置在两个导向杆之间。
技术总结
本实用新型公开一种薄膜午夜免费福利的自动废边回收装置,包括:马达、废边收卷料盘、两个电机启停感应开关、张力平衡滑块、导向杆、第一导轮、第二导轮;所述马达的输出轴与所述废边收卷料盘的转轴连接,所述第一导轮安装在张力平衡滑块上,所述张力平衡滑块设置在导向杆上。薄膜分切的过程中,在马达动力牵引下,废边会带动张力平衡滑块沿导向杆上升,直到位于最上方的接近开关感应到张力平衡滑块,马达停止工作,张力平衡滑块在重力作用下自由落体,直到接触到最下方的接近开关,马达即时启动,收卷废边,如此往复循环,实现对废边收卷;当废边收卷料盘满料后,人工取下更换,简单方便。简单方便。简单方便。
技术研发人员:张景宏
受保护的技术使用者:深圳市英诺维信自动化设备有限公司
技术研发日:2022.11.16
技术公布日:2023/3/24