服务热线
180-5003-0233

本实用新型涉及锂电池技术领域,具体为一种带静电消除的锂电池薄膜限位午夜免费福利。
背景技术:
锂电池的结构中,隔膜是关键的内层组件之一。隔膜的性能决定了电池的界面结构、内阻等,直接影响电池的容量、循环以及安全性能等特性,性能优异的隔膜对提高电池的综合性能具有重要的作用。隔膜的主要作用是使电池的正、负极分隔开来,防止两极接触而短路,此外还具有能使电解质离子通过的功能。隔膜材质是不导电的,其物理化学性质对电池的性能有很大的影响。电池的种类不同,采用的隔膜也不同。对于锂电池系列,由于电解液为有机溶剂体系,因而需要有耐有机溶剂的隔膜午夜精品免费视频,一般采用高强度薄膜化的聚烯烃多孔膜。
现在为了对锂电池薄膜进行分切设计一些分切装置,但是还存在一些问题。
例如中国专利申请号为CN201621298765.9一种锂电池薄膜辊压分切装置,包括传动导入装置、辊压装置、分切装置、收卷装置;所述辊压装置和分切装置之间还设有纠偏装置;纠偏装置包括传动轮、一对光电感应器、控制单元和第一驱动电机;第一驱动电机设有推轴,用于推动传动轮轴向运动;光电感应器电性连接控制单元;一对光电感应器位于传动轮两端;传动导入装置包括第二驱动电机和导轮,导轮连接速度传感器,第二驱动电机驱动导轮运动,所述速度传感器电性连接控制单元。本实用新型在辊压装置和分切装置之间采用纠偏装置,且纠偏装置可以控制导轮的转速,调整辊压后薄膜的位置和运转速度,使其精度符合分切装置要求,实现了辊压分切一体化的装置,但是装置没有除静电的功能,锂电池薄膜在加工时会产生静电,静电会吸附粉尘,容易影响电池的质量。
基于此,本实用新型设计了具体为一种带静电消除的锂电池薄膜限位午夜免费福利,以解决上述问题。
技术实现要素:
本实用新型的目的在于提供一种带静电消除的锂电池薄膜限位午夜免费福利,以解决上述背景技术中提出的虽然能够起到辊压分切一体化的装置,但是装置没有除静电的功能的问题。
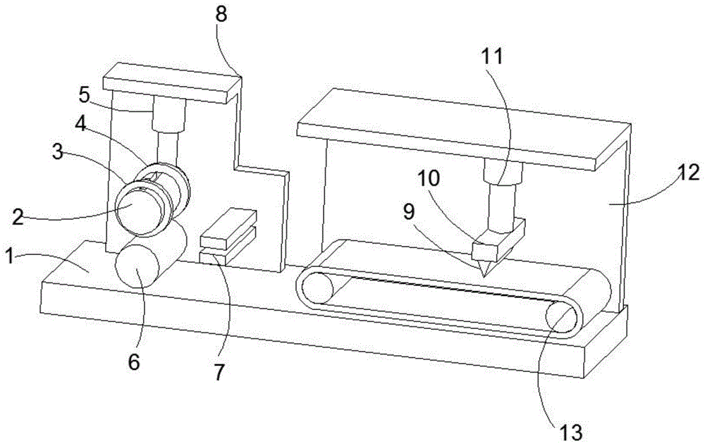
为实现上述目的,本实用新型提供如下技术方案:一种带静电消除的锂电池薄膜限位午夜免费福利,包括工作台、纵向切割辊、活动竖向刀片、固定刀片、支撑辊、除静电板、控制器、插块、卡紧螺栓和滑块,所述工作台顶部左侧固定连接有第一L形支撑板,所述第一L形支撑板内壁底部通过轴承转动连接有支撑辊,所述第一L形支撑板的横向部位固定安装有第一气缸,所述第一气缸底部设有纵向切割辊,所述纵向切割辊后侧上固定连接有固定刀片,所述纵向切割辊上开设有滑槽,所述滑槽内滑动连接有滑块,所述滑块上固定连接有活动竖向刀片,所述第一L形支撑板在支撑辊右侧壁通过盲孔滑动连接有插块,所述插块前端固定连接有除静电板。
优选的,所述纵向切割辊与第一气缸的输出端转动连接。
优选的,所述滑块上螺纹连接有卡紧螺栓。
优选的,所述工作台在第一L形支撑板右侧固定连接有第二L形支撑板,所述第二L形支撑板后壁通过安装板固定连接有安装有电机,所述电机的输出端连接有传送带,所述第二L形支撑板的横板部位固定连接有第二气缸,所述第二气缸底部固定连接有横板,所述横板底部固定连接有横向刀片。
优选的,所述第二L形支撑板后侧壁上固定连接有控制器,所述控制器与外界电源电性连接,所述控制器分别与第一气缸、第二气缸和电机电性连接。
与现有技术相比,本实用新型的有益效果是:本实用新型通过设置两组除静电板,使得装置可对锂电池薄膜上的静电进行清除,避免静电吸附粉尘,提升锂电池的质量,同时除静电板通过插块与第一L形支撑板滑动连接,使得装置方便更换除静电板。本实用新型通过滑块在滑槽内滑动,通过卡紧螺栓对其进行固定连接,可对活动竖向刀片进行限位,使得活动竖向刀片和固定刀片之间的距离可调节,再通过控制器控制电机和第二气缸作用,使得装置可分切不同宽度和长度的锂电池薄膜。
本实用新型的其它优点、目标和特征将部分通过下面的说明体现,部分还将通过对本发明的研究和实践而为本领域的技术人员所理解。
附图说明
为了更清楚地说明本实用新型实施例的技术方案,下面将对实施例描述所需要使用的附图作简单地介绍,显而易见地,下面描述中的附图仅仅是本实用新型的一些实施例,对于本领域普通技术人员来讲,在不付出创造性劳动的前提下,还可以根据这些附图获得其他的附图。
图1为本实用新型结构示意图;
图2为本实用新型结构后视图;
图3为本实用新型第一L形支撑板及其连接结构示意图;
图4为本实用新型功能示意图;
附图中,各标号所代表的部件列表如下:
1.工作台 2.纵向切割辊 3.活动竖向刀片 4.固定刀片 5.第一气缸 6.支撑辊 7.除静电板 8.第一L形支撑板 9.横向刀片 10.横板 11.第二气缸 12.第二L形支撑板 13.传送带 14.滑槽 15.电机 16.控制器 17.插块 18.卡紧螺栓 19.滑块。
具体实施方式
下面将结合本实用新型实施例中的附图,对本实用新型实施例中的技术方案进行清楚、完整地描述,显然,所描述的实施例仅仅是本实用新型一部分实施例,而不是全部的实施例。基于本实用新型中的实施例,本领域普通技术人员在没有作出创造性劳动前提下所获得的所有其它实施例,都属于本实用新型保护的范围。
请参阅图1-4,本实用新型提供一种技术方案:一种带静电消除的锂电池薄膜限位午夜免费福利,包括工作台1、纵向切割辊2、活动竖向刀片3、固定刀片4、支撑辊6、除静电板7、控制器16、插块17、卡紧螺栓18和滑块19,工作台1顶部左侧固定连接有第一L形支撑板8,第一L形支撑板8内壁底部通过轴承转动连接有支撑辊6,第一L形支撑板8的横向部位固定安装有第一气缸5,第一气缸5底部设有纵向切割辊2,纵向切割辊2后侧上固定连接有固定刀片4,纵向切割辊2上开设有滑槽14,滑槽14内滑动连接有滑块19,滑块19上固定连接有活动竖向刀片3,通过滑块19在滑槽14内滑动,通过卡紧螺栓18对其进行固定连接,可对活动竖向刀片3进行限位,使得活动竖向刀片3和固定刀片4之间的距离可调节,再通过控制器16控制电机15和第二气缸11作用,使得装置可分切不同宽度和长度的锂电池薄膜;第一L形支撑板8在支撑辊6右侧壁通过盲孔滑动连接有插块17,插块17前端固定连接有除静电板7,通过设置两组除静电板7,使得装置可对锂电池薄膜上的静电进行清除,避免静电吸附粉尘,提升锂电池的质量,同时除静电板7通过插块17与第一L形支撑板8滑动连接,使得装置方便更换除静电板7。
纵向切割辊2与第一气缸5的输出端转动连接。
滑块19上螺纹连接有卡紧螺栓18,便于将活动竖向刀片3进行固定。
工作台1在第一L形支撑板8右侧固定连接有第二L形支撑板12,第二L形支撑板12后壁通过安装板固定连接有安装有电机15,电机15的输出端连接有传送带13,第二L形支撑板12的横板部位固定连接有第二气缸11,第二气缸11底部固定连接有横板10,横板10底部固定连接有横向刀片9,方便对锂电池薄膜进行切割。
第二L形支撑板12后侧壁上固定连接有控制器16,控制器16与外界电源电性连接,控制器16分别与第一气缸5、第二气缸11和电机15电性连接,控制器16选用STM系列控制器,第一气缸5和第二气缸11选用MGPM20-100气缸,电机15选用YE2355M-4电机。
本实施例的一个具体应用为:根据分切宽度要求,滑动滑槽14内的滑块19,使得活动竖向刀片3和固定刀片4之间的距离符合分切宽度要求,同时转动卡紧螺栓18,对活动竖向刀片3进行限位,将活动竖向刀片3与纵向切割辊2固定好,将锂电池薄膜一端摆放到传送带13上,通过控制器16启动第一气缸5,第一气缸5带动纵向切割辊2向下移动至固定刀片4与锂电池薄膜接触,根据分切长度要求,在控制器16设定电机15的转速和第二气缸11切割周期,第二气缸11带动横板10底部的横向刀片9切割周期正好为电机周期性带动传动带13移动时间,使得传动带13带动上锂电池薄膜移动的长度等于分切长度要求,通过控制器16启动电机15和第二气缸11,电机15带动传送带13转动,传动带13带动锂电池薄膜移动,活动竖向刀片3和固定刀片4对锂电池薄膜进行宽度切割,锂电池薄膜穿过两组除静电板7,除静电板7对锂电池薄膜上的静电进行清除,第二气缸11带动横板10底部的横向刀片9进行分切,使得装置可分切不同宽度和长度的锂电池薄膜。其中,除静电板7通过插块17与第一L形支撑板8滑动连接,使得装置方便更换除静电板7。
在本说明书的描述中,参考术语“一个实施例”、“示例”、“具体示例”等的描述意指结合该实施例或示例描述的具体特征、结构、午夜精品免费视频或者特点包含于本实用新型的至少一个实施例或示例中。在本说明书中,对上述术语的示意性表述不一定指的是相同的实施例或示例。而且,描述的具体特征、结构、午夜精品免费视频或者特点可以在任何的一个或多个实施例或示例中以合适的方式结合。
以上公开的本实用新型优选实施例只是用于帮助阐述本实用新型。优选实施例并没有详尽叙述所有的细节,也不限制该实用新型仅为所述的具体实施方式。显然,根据本说明书的内容,可作很多的修改和变化。本说明书选取并具体描述这些实施例,是为了更好地解释本实用新型的原理和实际应用,从而使所属技术领域技术人员能很好地理解和利用本实用新型。本实用新型仅受权利要求书及其全部范围和等效物的限制。
技术特征:
1.一种带静电消除的锂电池薄膜限位午夜免费福利,包括工作台、纵向切割辊、活动竖向刀片、固定刀片、支撑辊、除静电板、控制器、插块、卡紧螺栓和滑块,其特征在于:所述工作台顶部左侧固定连接有第一L形支撑板,所述第一L形支撑板内壁底部通过轴承转动连接有支撑辊,所述第一L形支撑板的横向部位固定安装有第一气缸,所述第一气缸底部设有纵向切割辊,所述纵向切割辊后侧上固定连接有固定刀片,所述纵向切割辊上开设有滑槽,所述滑槽内滑动连接有滑块,所述滑块上固定连接有活动竖向刀片,所述第一L形支撑板在支撑辊右侧壁通过盲孔滑动连接有插块,所述插块前端固定连接有除静电板。
2.根据权利要求1所述的一种带静电消除的锂电池薄膜限位午夜免费福利,其特征在于:所述纵向切割辊与第一气缸的输出端转动连接。
3.根据权利要求1所述的一种带静电消除的锂电池薄膜限位午夜免费福利,其特征在于:所述滑块上螺纹连接有卡紧螺栓。
4.根据权利要求1所述的一种带静电消除的锂电池薄膜限位午夜免费福利,其特征在于:所述工作台在第一L形支撑板右侧固定连接有第二L形支撑板,所述第二L形支撑板后壁通过安装板固定连接有安装有电机,所述电机的输出端连接有传送带,所述第二L形支撑板的横板部位固定连接有第二气缸,所述第二气缸底部固定连接有横板,所述横板底部固定连接有横向刀片。
5.根据权利要求1所述的一种带静电消除的锂电池薄膜限位午夜免费福利,其特征在于:所述第二L形支撑板后侧壁上固定连接有控制器,所述控制器与外界电源电性连接,所述控制器分别与第一气缸、第二气缸和电机电性连接。
技术总结
本实用新型公开了锂电池技术领域的一种带静电消除的锂电池薄膜限位午夜免费福利,包括工作台,工作台连接有第一L形支撑板,第一L形支撑板连接有支撑辊,第一L形支撑板的横向部位固定安装有第一气缸,第一气缸底部设有纵向切割辊,纵向切割辊后侧上固定连接有固定刀片,纵向切割辊上开设有滑槽,滑槽内滑动连接有滑块,滑块上固定连接有活动竖向刀片,第一L形支撑板在支撑辊右侧壁通过盲孔滑动连接有插块,插块前端固定连接有除静电板,本实用新型通过设置两组除静电板,使得装置可对锂电池薄膜上的静电进行清除,避免静电吸附粉尘,提升锂电池的质量,同时除静电板通过插块与第一L形支撑板滑动连接,使得装置方便更换除静电板。
技术研发人员:蔡高宏;刘伟明;曾柏炼
受保护的技术使用者:佛山市东航光电科技股份有限公司
技术研发日:2018.10.12
技术公布日:2019.05.31