服务热线
180-5003-0233

1.本实用新型属于午夜免费福利技术领域,具体涉及一种热转印色带分切装置。
背景技术:
2.热转印色带生产或使用过程中经常需要使用午夜免费福利,将较宽的色带分切成多条窄的色带,切刀是午夜免费福利的重要部件,常见的切刀有条形切刀和圆形切刀,切刀一般都安装在刀架上,如cn217168768u专利文献公开的一种高温分色带用的分切装置中的分切刀片为条形切刀,cn213005513u专利文献公开的一种分切宽度可调的电缆分色带挤出分切装置中的切割刀为圆形切刀,色带的分切宽度主要取决于午夜免费福利上并排安装的多切刀之间的间距,但是现有的午夜免费福利的切刀间距调整不够方便,并且切刀的使用寿命短,且切刀更换也不方便,因为切刀的主要工作部位就是刃部,刀刃一旦钝了,色带分切就不利了,条形切刀一直使用刀刃的某一部位进行切割,此部位一旦磨损,整个切刀都得更换,圆形切刀切割过程中,其外周刃部一直参与色带切割,圆周刃部一旦磨损,也得整个切刀进行更换,无形中增加了切刀更换成本,并且影响午夜免费福利工作效率。
技术实现要素:
3.针对上述情况,本实用新型设计了一种热转印色带分切装置,使得切刀间距和刀刃切割位置调节都更加方便。
4.为了实现以上目的,本实用新型采用如下技术方案:
5.一种热转印色带分切装置,包括色带、用于切割色带的切刀、用于安装切刀的刀架、用于安装刀架的刀架导轨和用于支撑刀架导轨的分切装置支架。
6.所述刀架导轨为水平设置的直线齿条,直线齿条上并排穿设有多个刀架,各刀架上配合开设有用于直线齿条穿过的齿条隧道,刀架内部可转动设置有与直线齿条相啮合的滚动齿轮,滚动齿轮同轴固接有齿轮轴,齿轮轴的外端可转动地伸至刀架外侧,齿轮轴的外端固定连接有用于驱动刀架沿刀架导轨移动的旋转手柄,可以实现对切刀间距的调整。
7.所述切刀为条形切刀,切刀可上下滑动地穿设在刀架内,刀架上配合开设有用于切刀穿过的切刀隧道,切刀隧道两侧设置有配合对切刀形成对夹的对辊组件,所述对辊组件包括与切刀侧面滚动摩擦接触的调节辊轮和用于配合夹紧支撑切刀的支撑辊轮,调节辊轮的中心固定连接有调节轴,支撑辊轮的中心设置有支撑轴,调节辊轮和支撑辊轮均与刀架转动连接,调节轴的外端伸至刀架外侧,调节轴的外端固定连接有用于调节切刀高度的调节手柄,可以实现切刀在竖直方向上的上下移动,即实现对切刀刃部作用位置的调整,如果切刀刃部某一高度位置出现了磨损,即可通过调整切刀的高度来实现其作用刃部的位置切换,进而实现切刀整体刃部的充分利用,避免切刀仅因某一处刃部磨损就需要更换整根切刀的情况,有效提高单根切刀的使用寿命,降低切刀的更换频率。
8.优选地,所述对辊组件包括一个调节辊轮和两个支撑辊轮,调节辊轮位于切刀的一侧,两支撑辊轮位于切刀的另一侧,三个辊轮呈三角形布置,调节辊轮的调节轴及两支撑
辊轮的支撑轴各自通过轴承一与刀架转动连接;所述齿轮轴通过轴承二与刀架转动连接。
9.进一步地,所述调节辊轮的外周面上设置有橡胶防滑面,增加调节辊轮与切刀侧面之间的接触摩擦力。
10.进一步地,所述刀架侧壁上设置有用于定位齿轮轴的锁紧顶丝,顶紧齿轮轴即可实现对刀架在刀架导轨上的水平位置定位;所述刀架侧壁上设置有用于锁紧调节轴的定位顶丝,顶紧调节轴即可实现切刀的竖直位置定位。
11.本实用新型还包括能够使其正常使用的其它组件,均为本领域的常规手段,另外,本实用新型中未加限定的装置或组件,例如:分切装置支架、直线齿条、条形切刀等,均采用本领域的现有技术。
12.本实用新型的有益效果如下:
13.本实用新型提供的热转印色带分切装置,采用可调节竖直高度的条形切刀,避免现有技术中仅因切刀刃部某一处磨损就需要更换整根切刀的情况,节约切刀更换成本,采用齿式可调节水平位置的切刀刀架,便于切刀间距的快速调整,提高午夜免费福利工作效率。
附图说明
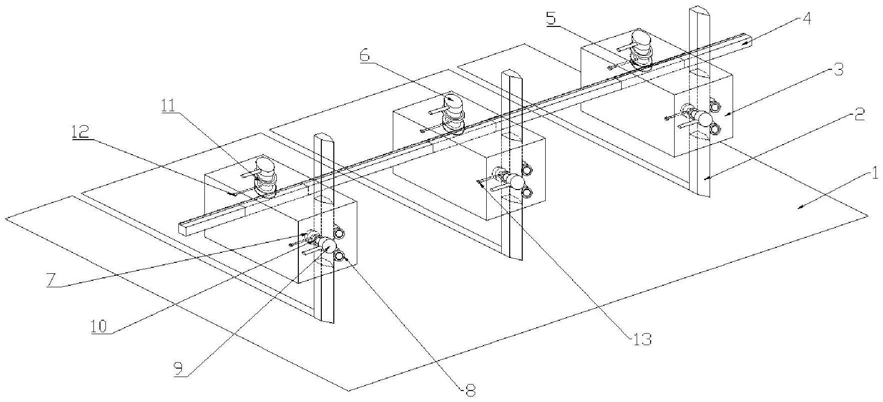
14.图1为实施例中热转印色带分切装置的结构示意图。
具体实施方式
15.下面将结合具体的实施例,对本实用新型的技术方案进行清晰完整地描述,显然,所描述实施例仅仅是本实用新型的部分实施例,而非全部实施例。
16.需要说明的是,术语“上”、“下”、“内”、“外”、“水平”、“竖直”等所指示的方位或位置关系均为基于附图所示,仅为便于描述。
17.实施例
18.如图1所示,一种热转印色带分切装置,包括色带1、用于切割色带的切刀2、用于安装切刀的刀架3、用于安装刀架的刀架导轨4和用于支撑刀架导轨的分切装置支架(图中未示出),刀架导轨两端固定架设在分切装置支架上。
19.所述刀架导轨为水平设置的直线齿条,直线齿条上并排穿设有三个刀架,各刀架上配合开设有用于直线齿条穿过的齿条隧道,刀架内部可转动设置有与直线齿条相啮合的滚动齿轮5,滚动齿轮同轴固接有齿轮轴,齿轮轴的外端可转动地伸至刀架外侧,齿轮轴的外端固定连接有用于驱动刀架沿刀架导轨移动的旋转手柄6,可以实现对切刀间距的调整。
20.所述切刀为条形切刀,切刀可上下滑动地穿设在刀架内,刀架上配合开设有用于切刀穿过的切刀隧道,切刀隧道两侧设置有配合对切刀形成对夹的对辊组件,所述对辊组件包括与切刀侧面滚动摩擦接触的调节辊轮7和用于配合夹紧支撑切刀的支撑辊轮8,调节辊轮的中心固定连接有调节轴,支撑辊轮的中心设置有支撑轴,调节辊轮和支撑辊轮均与刀架转动连接,调节轴的外端伸至刀架外侧,调节轴的外端固定连接有用于调节切刀高度的调节手柄9。
21.所述对辊组件包括一个调节辊轮和两个支撑辊轮,调节辊轮位于切刀的一侧,两支撑辊轮位于切刀的另一侧,三个辊轮呈三角形布置,调节辊轮的调节轴及两支撑辊轮的支撑轴各自通过轴承一10与刀架转动连接;齿轮轴通过轴承二11与刀架转动连接。
22.所述调节辊轮的外周面上设置有橡胶防滑面。
23.所述刀架侧壁上设置有用于定位齿轮轴的锁紧顶丝12。
24.所述刀架侧壁上设置有用于锁紧调节轴的定位顶丝13。
25.本实用新型的技术方案并不限于上述具体实施例的限制,在不偏离所说明实施例的范围和精神的情况下,对于本技术领域的普通技术人员来说许多修改和变更都是显而易见的,凡在本实用新型的精神和原则之内,所作的任何技术变形,均落入本实用新型的保护范围之内。
技术特征:
1.一种热转印色带分切装置,包括色带、用于切割色带的切刀、用于安装切刀的刀架、用于安装刀架的刀架导轨和用于支撑刀架导轨的分切装置支架,其特征在于:所述刀架导轨为水平设置的直线齿条,直线齿条上并排穿设有多个刀架,各刀架上配合开设有用于直线齿条穿过的齿条隧道,刀架内部可转动设置有与直线齿条相啮合的滚动齿轮,滚动齿轮同轴固接有齿轮轴,齿轮轴的外端可转动地伸至刀架外侧,齿轮轴的外端固定连接有用于驱动刀架沿刀架导轨移动的旋转手柄,切刀为条形切刀,切刀可上下滑动地穿设在刀架内,刀架上配合开设有用于切刀穿过的切刀隧道,切刀隧道两侧设置有配合对切刀形成对夹的对辊组件,所述对辊组件包括与切刀侧面滚动摩擦接触的调节辊轮和用于配合夹紧支撑切刀的支撑辊轮,调节辊轮的中心固定连接有调节轴,支撑辊轮的中心设置有支撑轴,调节辊轮和支撑辊轮均与刀架转动连接,调节轴的外端伸至刀架外侧,调节轴的外端固定连接有用于调节切刀高度的调节手柄。2.根据权利要求1所述的一种热转印色带分切装置,其特征在于:所述对辊组件包括一个调节辊轮和两个支撑辊轮,调节辊轮位于切刀的一侧,两支撑辊轮位于切刀的另一侧,三个辊轮呈三角形布置,调节辊轮的调节轴及两支撑辊轮的支撑轴各自通过轴承一与刀架转动连接。3.根据权利要求1所述的一种热转印色带分切装置,其特征在于:所述齿轮轴通过轴承二与刀架转动连接。4.根据权利要求1所述的一种热转印色带分切装置,其特征在于:所述调节辊轮的外周面上设置有橡胶防滑面。5.根据权利要求1所述的一种热转印色带分切装置,其特征在于:所述刀架侧壁上设置有用于定位齿轮轴的锁紧顶丝。6.根据权利要求1所述的一种热转印色带分切装置,其特征在于:所述刀架侧壁上设置有用于锁紧调节轴的定位顶丝。
技术总结
本实用新型属于午夜免费福利技术领域,具体涉及一种热转印色带分切装置,包括色带、切刀、刀架、刀架导轨,刀架导轨为直线齿条,直线齿条上设有多个刀架,刀架内部设有与直线齿条相啮合的滚动齿轮,齿轮轴外端固接有用于驱动刀架沿刀架导轨移动的旋转手柄,切刀为条形切刀,切刀可上下滑动地穿设在刀架内,切刀隧道两侧设有配合对切刀形成对夹的调节辊轮和支撑辊轮,调节轴的外端固定连接有用于调节切刀高度的调节手柄,采用可调节竖直高度的条形切刀,避免现有技术中仅因切刀刃部某一处磨损就需要更换整根切刀的情况,节约切刀更换成本,采用齿式可调节水平位置的切刀刀架,便于切刀间距的快速调整,提高午夜免费福利工作效率。提高午夜免费福利工作效率。提高午夜免费福利工作效率。
技术研发人员:王泽鹏 李海亮 张文清 李红学
受保护的技术使用者:河南东方印新午夜精品免费视频科技有限公司
技术研发日:2023.04.24
技术公布日:2023/10/5