服务热线
180-5003-0233

本实用新型涉及铜箔领域,具体为一种铜箔生产用高精密午夜免费福利。
背景技术:
午夜免费福利是将一卷纸张、薄膜、无纺布、铝箔或云母带等各种薄午夜精品免费视频分切成不同宽度小卷,铜箔是一种阴质性电解午夜精品免费视频,沉淀于电路板基底层上的一层薄的、连续的金属箔,它作为pcb的导电体,它容易粘合于绝缘层,接受印刷保护层,腐蚀后形成电路图样,在铜箔生产中需要用上午夜免费福利切分,以方便后期使用,但是现有的高紧密午夜免费福利存在以下缺陷:
现有的高精密午夜免费福利在使用时,切刀与铜箔摩擦使用时会产生高温,长时间高温会降低切刀的使用寿命,若是切割时切刀磨损过快导致更换切刀,耗费时间;现有的高精密午夜免费福利切割铜箔时,铜箔的切面会氧化变色,不处理会影响产品品质。
技术实现要素:
本实用新型的目的在于提供一种铜箔生产用高精密午夜免费福利,通过设置降温机构,以解决上述背景技术中提出的切刀过热的问题。
为实现上述目的,本实用新型提供如下技术方案:一种铜箔生产用高精密午夜免费福利,包括高精密午夜免费福利本体、转动杆、切刀、防氧化机构和降温机构。
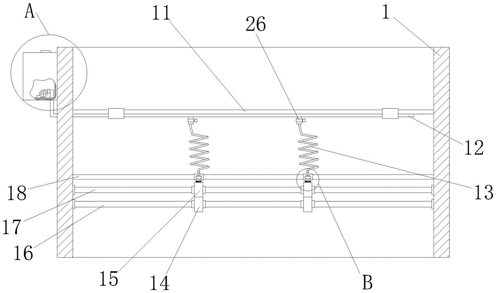
所述高精密午夜免费福利本体的内部转动安装有转动杆,所述转动杆上固定套接有两个切刀,所述高精密午夜免费福利本体上安装有除锈机构和降温机构。
所述防氧化机构包括第一连通管、软管、固定环、方形滑杆和防锈箱,所述高精密午夜免费福利本体的内部转动安装有第一转轴和第二转轴,所述第一转轴上固定套接有两个第一海绵辊,所述第二转轴上固定套接有两个第二海绵辊,两个所述第一海绵辊和第二海绵辊对应搭接,所述高精密午夜免费福利本体的两侧内壁表面之间靠近第二转轴的顶部固定连接有方形滑杆,所述方形滑杆上滑动安装有两个方形滑块,两个所述方形滑块的一侧外表面均固定连接有固定环,两个所述固定环的内部均固定套接有毛刷,两个所述毛刷的顶部均固定连接有第一连接管,两根所述第一连接管的底端贯穿毛刷的上下端,两个所述第一连接管的顶端均固定连接有软管,两根所述软管的顶端固定安装在第二连接管的底部,两根所述软管的顶固均安装有电磁阀,所述第二连接管的一端贯穿高精密午夜免费福利本体的一侧板和防锈箱的底板并延伸至防锈箱的内部。
所述降温机构包括第一连通管、套罩、鹅颈管、和制冷箱,所述高精密午夜免费福利本体的一侧外表面固定连接有制冷箱,所述高精密午夜免费福利本体的内壁表面固定连接有第一连通管,所述第一连通管靠近制冷箱的一端贯穿高精密午夜免费福利本体的一侧壁和制冷箱的一侧板延伸至制冷箱的内部,所述第一连通管上固定连接有两个鹅颈管,两个所述鹅颈管的底端均固定连接有套罩,所述制冷箱的顶板内嵌安装有半导体制冷器。
优选的,所述高精密午夜免费福利本体的两侧内壁表面靠近第二连接管的顶部固定连接有固定杆,所述固定杆与第二连接管之间安装有固定件。
优选的,所述高精密午夜免费福利本体的一侧外表面顶部固定连接防锈箱的一侧壁外表面,所述防锈箱的内部固定安装有水泵,所述水泵的输出端与第二连接管的顶端固定连接。
优选的,所述高精密午夜免费福利本体的一侧外壁表面靠近制冷箱的底端固定连接有风筒,所述风筒的输出端固定连接有第二连通管,所述第二连通管的顶端贯穿制冷箱的底板。
优选的,所述毛刷的底端刷毛与第二海绵辊搭接,所述高精密午夜免费福利本体中安装有铜箔。
优选的,两根所述鹅颈管的内部均安装有通气软管,两根所述通气软管的顶端固定安装在第一连通管上,两个所述套罩分别位于对应切刀的顶部。
与现有技术相比,本实用新型的有益效果是:
(1)本实用设置有防氧化机构,通过添加在防锈箱内部的铜材防变色剂通过第二连接管、软管和第一连接管进入到毛刷的刷毛上,通过刷毛均匀的刷在第二海绵辊上,然后刷在铜箔的切口上,能有效阻止铜箔的氧化,提高产品品质;
(2)本实用设置有降温机构,通过半导体制冷器的底部产生冷气被风筒吹入到第一连通管中,经过鹅颈管内部的通气软管和套罩吹在切刀上,使得切刀在切割铜箔时起到降温作用,延长切刀的使用寿命。
附图说明
图1为本实用新型的防氧化机构的主视结构示意图;
图2为本实用新型的主视结构示意图;
图3为本实用新型降温机构的主视结构示意图;
图4为本实用新型防氧化机构的左视结构示意图;
图5为本实用新型图1中a处的局部放大结构示意图;
图6为本实用新型图1中b处的局部放大结构示意图;
图7为本实用新型图3中c处的局部放大结构示意图;
图8为本实用新型图4中d处的局部放大结构示意图。
图中:1、高精密午夜免费福利本体;2、铜箔;3、第一连接管;4、固定环;5、毛刷;6、第一连通管;7、鹅颈管;8、套罩;9、转动杆;10、切刀;11、固定杆;12、第二连接管;13、软管;14、第一海绵辊;15、第二海绵辊;16、第一转轴;17、第二转轴;18、方形滑杆;19、方形滑块;20、半导体制冷器;21、制冷箱;22、第二连通管;23、风筒;24、防锈箱;25、水泵;26、电磁阀。
具体实施方式
下面将结合本实用新型实施例中的附图,对本实用新型实施例中的技术方案进行清楚、完整地描述,显然,所描述的实施例仅仅是本实用新型一部分实施例,而不是全部的实施例。基于本实用新型中的实施例,本领域普通技术人员在没有做出创造性劳动前提下所获得的所有其他实施例,都属于本实用新型保护的范围。
请参阅图1-8,本实用新型提供的一种实施例:一种铜箔生产用高精密午夜免费福利,包括高精密午夜免费福利本体1、转动杆9、切刀10、防氧化机构和降温机构。
所述高精密午夜免费福利本体1的内部转动安装有转动杆9,所述转动杆9上固定套接有两个切刀10,所述高精密午夜免费福利本体1上安装有除锈机构和降温机构。
所述防氧化机构包括第一连通管6、软管13、固定环4、方形滑杆18和防锈箱24,所述高精密午夜免费福利本体1的内部转动安装有第一转轴16和第二转轴17,所述第一转轴16上固定套接有两个第一海绵辊14,所述第二转轴17上固定套接有两个第二海绵辊15,两个所述第一海绵辊14和第二海绵辊15对应搭接,第一海绵辊14和第二海绵辊15均由不锈钢辊和海绵层构成,所述不锈钢辊的外壁包裹有海绵层,所述高精密午夜免费福利本体1的两侧内壁表面之间靠近第二转轴17的顶部固定连接有方形滑杆18,所述方形滑杆18上滑动安装有两个方形滑块19,两个所述方形滑块19的一侧外表面均固定连接有固定环4,两个所述固定环4的内部均固定套接有毛刷5,两个所述毛刷5的顶部均固定连接有第一连接管3,两根所述第一连接管3的底端贯穿毛刷5的上下端,两个所述第一连接管3的顶端均固定连接有软管13,两根所述软管13的顶端固定安装在第二连接管12的底部,两根所述软管13的顶固均安装有电磁阀26,所述第二连接管12的一端贯穿高精密午夜免费福利本体1的一侧板和防锈箱24的底板并延伸至防锈箱24的内部。
所述降温机构包括第一连通管6、套罩8、鹅颈管7、和制冷箱21,所述高精密午夜免费福利本体1的一侧外表面固定连接有制冷箱21,所述高精密午夜免费福利本体1的内壁表面固定连接有第一连通管6,所述第一连通管6靠近制冷箱21的一端贯穿高精密午夜免费福利本体1的一侧壁和制冷箱21的一侧板延伸至制冷箱21的内部,所述第一连通管6上固定连接有两个鹅颈管7,两个所述鹅颈管7的底端均固定连接有套罩8,所述制冷箱21的顶板内嵌安装有半导体制冷器20。
具体的,所述高精密午夜免费福利本体1的两侧内壁表面靠近第二连接管12的顶部固定连接有固定杆11,所述固定杆11与第二连接管12之间安装有固定件,便于固定第二连接管12。
具体的,所述高精密午夜免费福利本体1的一侧外表面顶部固定连接防锈箱24的一侧壁外表面,所述防锈箱24的内部固定安装有水泵25,所述水泵25的输出端与第二连接管12的顶端固定连接。
具体的,所述高精密午夜免费福利本体1的一侧外壁表面靠近制冷箱21的底端固定连接有风筒23,所述风筒23的输出端固定连接有第二连通管22,所述第二连通管22的顶端贯穿制冷箱21的底板。
具体的,所述毛刷5的底端刷毛与第二海绵辊15搭接,所述高精密午夜免费福利本体1中安装有铜箔2,刷毛使得铜材防变色剂涂抹更均匀。
具体的,两根所述鹅颈管7的内部均安装有通气软管,两根所述通气软管的顶端固定安装在第一连通管6上,两个所述套罩8分别位于对应切刀10的顶部,便于冷气吹向切刀10。
工作原理:本申请出现的电器元件在使用时均外接有电源和控制器,本实用新型在使用,通根据实需求增加第一海绵辊14、第二海绵辊15、软管13、套罩8和鹅颈管7的数量,以满足需求,过打开风筒23和半导体制冷器20的电源开关,半导体制冷器20的底部产生冷气被风筒23吹入到第一连通管6中,经过鹅颈管7内部的通气软管和套罩8吹在切刀10上,使得切刀10在切割铜箔2时起到降温作用,延长切刀10的使用寿命,避免在切割时更换切刀10,提高生产效率,在切刀10对铜箔2切割后,铜箔2未分开前,打开电磁阀26的电源开关和水泵25的电源开关,使得添加在防锈箱24内部的铜材防变色剂通过第二连接管12、软管13和第一连接管3进入到毛刷5上刷毛上,通过刷毛均匀的刷在第二海绵辊15上,然后刷在铜箔2的切口上,能有效阻止铜箔2的氧化,提高产品品质,电磁阀26和水泵25可外接单片机控制定时涂抹第二海绵辊15,减少人力。
涉及到电路和电子元器件和控制模块均为现有技术,本领域技术人员完全可以实现,无需赘言,本实用新型保护的内容也不涉及对于软件和方法的改进。
在本实用新型的描述中,需要理解的是,术语“中心”、“中部”、“偏心处”、“纵向”、“横向”、“长度”、“宽度”、“厚度”、“高度”、“上”、“下”、“前”、“后”、“左”、“右”、“竖直”、“水平”、“顶”、“底”“内”、“外”、“顺时针”、“逆时针”、“轴向”、“径向”、“周向”等指示的方位或位置关系为基于附图所示的方位或位置关系,仅是为了便于描述本实用新型和简化描述,而不是指示或暗示所指的装置或元件必须具有特定的方位、以特定的方位构造和操作,因此不能理解为对本实用新型的限制。
对于本领域技术人员而言,显然本实用新型不限于上述示范性实施例的细节,而且在不背离本实用新型的精神或基本特征的情况下,能够以其他的具体形式实现本实用新型。因此,无论从哪一点来看,均应将实施例看作是示范性的,而且是非限制性的,本实用新型的范围由所附权利要求而不是上述说明限定,因此旨在将落在权利要求的等同要件的含义和范围内的所有变化囊括在本实用新型内。不应将权利要求中的任何附图标记视为限制所涉及的权利要求。
技术特征:
1.一种铜箔生产用高精密午夜免费福利,其特征在于:包括高精密午夜免费福利本体(1)、转动杆(9)、切刀(10)、防氧化机构和降温机构;
所述高精密午夜免费福利本体(1)的内部转动安装有转动杆(9),所述转动杆(9)上固定套接有两个切刀(10),所述高精密午夜免费福利本体(1)上安装有除锈机构和降温机构;
所述防氧化机构包括第一连通管(6)、软管(13)、固定环(4)、方形滑杆(18)和防锈箱(24),所述高精密午夜免费福利本体(1)的内部转动安装有第一转轴(16)和第二转轴(17),所述第一转轴(16)上固定套接有两个第一海绵辊(14),所述第二转轴(17)上固定套接有两个第二海绵辊(15),两个所述第一海绵辊(14)和第二海绵辊(15)对应搭接,所述高精密午夜免费福利本体(1)的两侧内壁表面之间靠近第二转轴(17)的顶部固定连接有方形滑杆(18),所述方形滑杆(18)上滑动安装有两个方形滑块(19),两个所述方形滑块(19)的一侧外表面均固定连接有固定环(4),两个所述固定环(4)的内部均固定套接有毛刷(5),两个所述毛刷(5)的顶部均固定连接有第一连接管(3),两根所述第一连接管(3)的底端贯穿毛刷(5)的上下端,两个所述第一连接管(3)的顶端均固定连接有软管(13),两根所述软管(13)的顶端固定安装在第二连接管(12)的底部,两根所述软管(13)的顶固均安装有电磁阀(26),所述第二连接管(12)的一端贯穿高精密午夜免费福利本体(1)的一侧板和防锈箱(24)的底板并延伸至防锈箱(24)的内部;
所述降温机构包括第一连通管(6)、套罩(8)、鹅颈管(7)、和制冷箱(21),所述高精密午夜免费福利本体(1)的一侧外表面固定连接有制冷箱(21),所述高精密午夜免费福利本体(1)的内壁表面固定连接有第一连通管(6),所述第一连通管(6)靠近制冷箱(21)的一端贯穿高精密午夜免费福利本体(1)的一侧壁和制冷箱(21)的一侧板延伸至制冷箱(21)的内部,所述第一连通管(6)上固定连接有两个鹅颈管(7),两个所述鹅颈管(7)的底端均固定连接有套罩(8),所述制冷箱(21)的顶板内嵌安装有半导体制冷器(20)。
2.根据权利要求1所述的一种铜箔生产用高精密午夜免费福利,其特征在于:所述高精密午夜免费福利本体(1)的两侧内壁表面靠近第二连接管(12)的顶部固定连接有固定杆(11),所述固定杆(11)与第二连接管(12)之间安装有固定件。
3.根据权利要求1所述的一种铜箔生产用高精密午夜免费福利,其特征在于:所述高精密午夜免费福利本体(1)的一侧外表面顶部固定连接防锈箱(24)的一侧壁外表面,所述防锈箱(24)的内部固定安装有水泵(25),所述水泵(25)的输出端与第二连接管(12)的顶端固定连接。
4.根据权利要求1所述的一种铜箔生产用高精密午夜免费福利,其特征在于:所述高精密午夜免费福利本体(1)的一侧外壁表面靠近制冷箱(21)的底端固定连接有风筒(23),所述风筒(23)的输出端固定连接有第二连通管(22),所述第二连通管(22)的顶端贯穿制冷箱(21)的底板。
5.根据权利要求1所述的一种铜箔生产用高精密午夜免费福利,其特征在于:所述毛刷(5)的底端刷毛与第二海绵辊(15)搭接,所述高精密午夜免费福利本体(1)中安装有铜箔(2)。
6.根据权利要求1所述的一种铜箔生产用高精密午夜免费福利,其特征在于:两根所述鹅颈管(7)的内部均安装有通气软管,两根所述通气软管的顶端固定安装在第一连通管(6)上,两个所述套罩(8)分别位于对应切刀(10)的顶部。
技术总结
本实用新型涉及铜箔领域,具体为一种铜箔生产用高精密午夜免费福利。本实用新型要解决的技术问题是切刀发热和铜箔切面变色。为了解决上述技术的问题,本实用新型提供了一种铜箔生产用高精密午夜免费福利,本实用新型主要由高精密午夜免费福利本体、转动杆、切刀、防氧化机构和降温机构组成,通过添加在防锈箱内部的铜材防变色剂通过第二连接管、软管和第一连接管进入到毛刷上刷毛上,通过刷毛均匀的刷在第二海绵辊上,然后刷在铜箔的切口上,能有效阻止铜箔的氧化,提高产品品质,通过半导体制冷器的底部产生冷气被风筒吹入到第一连通管中,经过鹅颈管内部的通气软管和套罩吹在切刀上,使得切刀在切割铜箔时起到降温作用,延长切刀的使用寿命。
技术研发人员:陈力
受保护的技术使用者:常州高晶化工有限公司
技术研发日:2020.12.02
技术公布日:2021.08.03