服务热线
180-5003-0233

1.本实用新型涉及午夜免费福利技术领域,具体为一种结构简单的午夜免费福利。
背景技术:
2.午夜免费福利是一种将宽幅纸张、云母带或薄膜分切成多条窄幅午夜精品免费视频的机械设备,常用于造纸机械、电线电缆云母带及印刷包装机械。午夜免费福利主要的运用于:无纺布;云母带、纸张、绝缘午夜精品免费视频及各种薄膜午夜精品免费视频分切、特别适宜于窄带(无纺布,纸张,绝缘午夜精品免费视频、云母带、薄膜等等)的分切。
3.午夜免费福利是将一大卷纸张,薄膜,无纺布,铝箔,云母带等各种薄午夜精品免费视频分切成不同宽度小卷的印前,印后设备,常用于造纸机械及印刷包装机械,但是现在的午夜免费福利设备结构复杂、体积大不方便移动、分切效果差。
技术实现要素:
4.本实用新型的目的在于提供一种结构简单的午夜免费福利,具有结构简单、方便移动、分切效果好的优点,解决了现有技术中的问题。
5.为实现上述目的,本实用新型提供如下技术方案:一种结构简单的午夜免费福利,包括底座,所述午夜免费福利工作臂a顶部设有午夜免费福利工作臂a和午夜免费福利工作臂b,所述午夜免费福利工作臂a和午夜免费福利工作臂b左右分布,所述午夜免费福利工作臂a和午夜免费福利工作臂b顶部均设有固定块,所述固定块之间通过轴承固定有上料装置,所述上料装置下方设有辅助轴,所述辅助轴两端均通过轴承分别固定在午夜免费福利工作臂a和午夜免费福利工作臂b上,所述辅助轴下方设有紧固轴,所述紧固轴两端均通过轴承分别固定在午夜免费福利工作臂a和午夜免费福利工作臂b上,所述紧固轴下方设有圆刀分切轴,所述圆刀分切轴两端均通过轴承分别固定在午夜免费福利工作臂a和午夜免费福利工作臂b上,所述圆刀分切轴下方设有主动轴,所述主动轴两端均通过轴承分别固定在午夜免费福利工作臂a和午夜免费福利工作臂b上,所述主动轴下方设有从动轴,所述从动轴两端均通过轴承分别固定在午夜免费福利工作臂a和午夜免费福利工作臂b上,所述从动轴下方设有收料卷轴,所述收料卷轴两端均通过轴承分别固定在午夜免费福利工作臂a和午夜免费福利工作臂b上。
6.优选的,所述圆刀分切轴表面通过焊接固定有十一个切割刀,所述切割刀左右均匀分布。
7.优选的,所述午夜免费福利工作臂a和午夜免费福利工作臂b内侧中央均开设有凹槽且凹槽里面固定有弹簧,所述弹簧连接紧固轴两端的轴承。
8.优选的,所述午夜免费福利工作臂a、底座和午夜免费福利工作臂b均采用合金制成,所述主动轴和从动轴相切且表面套有橡胶圈。
9.优选的,所述底座底部通过螺栓固定有四个万向轮,所述万向轮均匀分布在底座底部的四个角,所述午夜免费福利工作臂a前面中央通过内嵌固定有控制面板,所述控制面板下方设有按键,所述午夜免费福利工作臂a内部设有四个伺服电机,所述伺服电机通过联轴器分别与对应的辅助轴、圆刀分切轴、主动轴和收料卷轴连接。
10.优选的,所述控制面板通过线缆连接伺服电机。
11.与现有技术相比,本实用新型的有益效果如下:
12.1.本一种结构简单的午夜免费福利采用合金进行制作午夜免费福利工作臂a、底座和午夜免费福利工作臂b,保证了午夜免费福利工作臂a、底座和午夜免费福利工作臂b的耐用性,通过上料装置进行放置需要分切的物料,保证了分切物料的放置,通过伺服电机进行辅助物料的滚动,有利于分切物料的排放,通过紧固轴和弹簧进行组合工作,保证了物料在分切时依然保持紧绷状态,通过圆刀分切轴和切割刀进行组合工作,保证了分切物料的分切。
13.2.本一种结构简单的午夜免费福利通过主动轴和从动轴进行组合工作,保证了分切完成后物料的紧绷,通过在主动轴和从动轴表面套装橡胶,防止分切后物料出现打滑,通过收料卷轴进行收料,保证了分切后物料的收集,通过控制面板和按键进行控制本装置,保证了本装置部件的有序工作,通过伺服电机进行提供动力,保证了本装置的正常工作。
附图说明
14.图1为本实用新型一种结构简单的午夜免费福利的整体结构示意图;
15.图2为本实用新型一种结构简单的午夜免费福利的切面示意图。
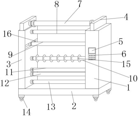
16.图中标注说明:1、午夜免费福利工作臂a;2、底座;3、午夜免费福利工作臂b;4、固定块;5、控制面板;6、按键;7、上料转轴;8、辅助轴;9、紧固轴;10、圆刀分切轴;11、主动轴;12、从动轴;13、收料卷轴;14、万向轮;15、切割刀;16、弹簧;17、伺服电机。
具体实施方式
17.下面将结合本实用新型实施例中的附图,对本实用新型实施例中的技术方案进行清楚、完整地描述,显然,所描述的实施例仅仅是本实用新型一部分实施例,而不是全部的实施例,基于本实用新型中的实施例,本领域普通技术人员在没有做出创造性劳动前提下所获得的所有其他实施例,都属于本实用新型保护的范围。
18.在本实用新型的描述中,需要理解的是,术语“上”、“下”、“前”、“后”、“左”、“右”、“顶”、“底”、“内”、“外”等指示的方位或位置关系为基于附图所示的方位或位置关系,仅是为了便于描述本实用新型和简化描述,而不是指示或暗示所指的装置或元件必须具有特定的方位、以特定的方位构造和操作,因此不能理解为对本实用新型的限制。
19.实施例1:
20.请参阅图1、2,一种结构简单的午夜免费福利,包括底座2,午夜免费福利工作臂a1顶部设有午夜免费福利工作臂a1和午夜免费福利工作臂b3,午夜免费福利工作臂a1和午夜免费福利工作臂b3左右分布,午夜免费福利工作臂a1和午夜免费福利工作臂b3顶部均设有固定块4,固定块4之间通过轴承固定有上料装置7,上料装置7下方设有辅助轴8,辅助轴8两端均通过轴承分别固定在午夜免费福利工作臂a1和午夜免费福利工作臂b3上,辅助轴8下方设有紧固轴9,紧固轴9两端均通过轴承分别固定在午夜免费福利工作臂a1和午夜免费福利工作臂b3上,紧固轴9下方设有圆刀分切轴10,圆刀分切轴10两端均通过轴承分别固定在午夜免费福利工作臂a1和午夜免费福利工作臂b3上,圆刀分切轴10下方设有主动轴11,主动轴11两端均通过轴承分别固定在午夜免费福利工作臂a1和午夜免费福利工作臂b3上,圆刀分切轴10表面通过焊接固定有十一个切割刀15,切割刀15左右均匀分布,午夜免费福利工作臂a1和午夜免费福利工作臂b3内侧中央均开设有凹槽且凹槽里面固定有弹簧16,弹簧16连接紧固轴9两端的轴承。
21.具体的,采用合金进行制作午夜免费福利工作臂a1、底座2和午夜免费福利工作臂b3,保证了午夜免费福利工作臂a1、底座2和午夜免费福利工作臂b3的耐用性,通过上料装置7进行放置需要分切的物料,保证了分切物料的放置,通过伺服电机17进行辅助物料的滚动,有利于分切物料的排放,通过紧固轴9和弹簧16进行组合工作,保证了物料在分切时依然保持紧绷状态,通过圆刀分切轴10和切割刀15进行组合工作,保证了分切物料的分切。
22.实施例2:
23.请参阅图1、2,一种结构简单的午夜免费福利,包括主动轴11,主动轴11下方设有从动轴12,从动轴12两端均通过轴承分别固定在午夜免费福利工作臂a1和午夜免费福利工作臂b3上,从动轴12下方设有收料卷轴13,收料卷轴13两端均通过轴承分别固定在午夜免费福利工作臂a1和午夜免费福利工作臂b3上,午夜免费福利工作臂a1、底座2和午夜免费福利工作臂b3均采用合金制成,主动轴11和从动轴12相切且表面套有橡胶圈,底座2底部通过螺栓固定有四个万向轮14,万向轮14均匀分布在底座2底部的四个角,午夜免费福利工作臂a1前面中央通过内嵌固定有控制面板5,控制面板5下方设有按键6,午夜免费福利工作臂a1内部设有四个伺服电机17,伺服电机17通过联轴器分别与对应的辅助轴8、圆刀分切轴10、主动轴11和收料卷轴13连接,控制面板5通过线缆连接伺服电机17。
24.具体的,通过主动轴11和从动轴12进行组合工作,保证了分切完成后物料的紧绷,通过在主动轴11和从动轴12表面套装橡胶,防止分切后物料出现打滑,通过收料卷轴13进行收料,保证了分切后物料的收集,通过控制面板5和按键6进行控制本装置,保证了本装置部件的有序工作,通过伺服电机17进行提供动力,保证了本装置的正常工作。
25.工作原理:本实用新型一种结构简单的午夜免费福利,将本装置通电后,将需要分切的物料放置在上料装置7上,然后将物料的一端依次穿过辅助轴8前面
紧固轴9后面
圆刀分切轴10前面
主动轴11后面
从动轴12前面
收料卷轴13后面并在收料卷轴13上缠绕两圈,完成后通过控制面板5和按键6进行控制伺服电机17工作,紧固轴9受到弹簧16的拉力使需要分切的物料一直处于紧绷状态,然后圆刀分切轴10和切割刀15对物料进行分切,完成后主动轴11和从动轴12对分切后的物料进行夹紧,收料卷轴13对分切后的物料进行旋转收纳。
26.以上显示和描述了本实用新型的基本原理和主要特征和本实用新型的优点,对于本领域技术人员而言,显然本实用新型不限于上述示范性实施例的细节,而且在不背离本实用新型的精神或基本特征的情况下,能够以其他的具体形式实现本实用新型;因此,无论从哪一点来看,均应将实施例看作是示范性的,而且是非限制性的,本实用新型的范围由所附权利要求而不是上述说明限定,因此旨在将落在权利要求的等同要件的含义和范围内的所有变化囊括在本实用新型内,不应将权利要求中的任何附图标记视为限制所涉及的权利要求。
27.此外,应当理解,虽然本说明书按照实施方式加以描述,但并非每个实施方式仅包含一个独立的技术方案,说明书的这种叙述方式仅仅是为清楚起见,本领域技术人员应当将说明书作为一个整体,各实施例中的技术方案也可以经适当组合,形成本领域技术人员可以理解的其他实施方式。
技术特征:
1.一种结构简单的午夜免费福利,其特征在于:包括底座(2),所述午夜免费福利工作臂a(1)顶部设有午夜免费福利工作臂a(1)和午夜免费福利工作臂b(3),所述午夜免费福利工作臂a(1)和午夜免费福利工作臂b(3)左右分布,所述午夜免费福利工作臂a(1)和午夜免费福利工作臂b(3)顶部均设有固定块(4),所述固定块(4)之间通过轴承固定有上料装置(7),所述上料装置(7)下方设有辅助轴(8),所述辅助轴(8)两端均通过轴承分别固定在午夜免费福利工作臂a(1)和午夜免费福利工作臂b(3)上,所述辅助轴(8)下方设有紧固轴(9),所述紧固轴(9)两端均通过轴承分别固定在午夜免费福利工作臂a(1)和午夜免费福利工作臂b(3)上,所述紧固轴(9)下方设有圆刀分切轴(10),所述圆刀分切轴(10)两端均通过轴承分别固定在午夜免费福利工作臂a(1)和午夜免费福利工作臂b(3)上,所述圆刀分切轴(10)下方设有主动轴(11),所述主动轴(11)两端均通过轴承分别固定在午夜免费福利工作臂a(1)和午夜免费福利工作臂b(3)上,所述主动轴(11)下方设有从动轴(12),所述从动轴(12)两端均通过轴承分别固定在午夜免费福利工作臂a(1)和午夜免费福利工作臂b(3)上,所述从动轴(12)下方设有收料卷轴(13),所述收料卷轴(13)两端均通过轴承分别固定在午夜免费福利工作臂a(1)和午夜免费福利工作臂b(3)上。2.根据权利要求1所述的一种结构简单的午夜免费福利,其特征在于:所述圆刀分切轴(10)表面通过焊接固定有十一个切割刀(15),所述切割刀(15)左右均匀分布。3.根据权利要求1所述的一种结构简单的午夜免费福利,其特征在于:所述午夜免费福利工作臂a(1)和午夜免费福利工作臂b(3)内侧中央均开设有凹槽且凹槽里面固定有弹簧(16),所述弹簧(16)连接紧固轴(9)两端的轴承。4.根据权利要求1所述的一种结构简单的午夜免费福利,其特征在于:所述午夜免费福利工作臂a(1)、底座(2)和午夜免费福利工作臂b(3)均采用合金制成,所述主动轴(11)和从动轴(12)相切且表面套有橡胶圈。5.根据权利要求1所述的一种结构简单的午夜免费福利,其特征在于:所述底座(2)底部通过螺栓固定有四个万向轮(14),所述万向轮(14)均匀分布在底座(2)底部的四个角,所述午夜免费福利工作臂a(1)前面中央通过内嵌固定有控制面板(5),所述控制面板(5)下方设有按键(6),所述午夜免费福利工作臂a(1)内部设有四个伺服电机(17),所述伺服电机(17)通过联轴器分别与对应的辅助轴(8)、圆刀分切轴(10)、主动轴(11)和收料卷轴(13)连接。6.根据权利要求5所述的一种结构简单的午夜免费福利,其特征在于:所述控制面板(5)通过线缆连接伺服电机(17)。
技术总结
本实用新型公开了一种结构简单的午夜免费福利,包括底座,午夜免费福利工作臂A顶部设有午夜免费福利工作臂A和午夜免费福利工作臂B,午夜免费福利工作臂A和午夜免费福利工作臂B左右分布,午夜免费福利工作臂A和午夜免费福利工作臂B顶部均设有固定块,固定块之间通过轴承固定有上料装置,上料装置下方设有辅助轴,辅助轴两端均通过轴承分别固定在午夜免费福利工作臂A和午夜免费福利工作臂B上,辅助轴下方设有紧固轴,紧固轴两端均通过轴承分别固定在午夜免费福利工作臂A和午夜免费福利工作臂B上,紧固轴下方设有圆刀分切轴,圆刀分切轴两端均通过轴承分别固定在午夜免费福利工作臂A和午夜免费福利工作臂B上;本一种结构简单的午夜免费福利具有结构简单、方便移动、分切效果好的优点。优点。优点。
技术研发人员:肖春 李兴周
受保护的技术使用者:青岛美德午夜精品免费视频科技有限公司
技术研发日:2022.01.13
技术公布日:2022/8/5