服务热线
180-5003-0233

1.本发明涉及反光膜领域,尤其涉及一种反光膜午夜免费福利。
背景技术:
2.反光膜,是一种已制成薄膜可直接应用的逆反射午夜精品免费视频。
3.现在的反光膜在生产成成品后需要使用午夜免费福利对反光膜进行切割收卷,但是现在的午夜免费福利上的反光膜在进行切割收卷时,需要多名人工手动将反光膜的一侧粘接在收卷杆上在进行收卷操作,从而导致操作人员需要时刻看守在午夜免费福利上旁进行操作。
4.因此,有必要提供一种反光膜午夜免费福利解决上述技术问题。
技术实现要素:
5.本发明提供一种反光膜午夜免费福利,解决了现在的反光膜在切割收卷时需要操作人员手动粘接在收卷杆上进行固定,从而导致操作人员需要时刻看守在午夜免费福利上旁进行操作的问题。
6.为解决上述技术问题,本发明提供的一种反光膜午夜免费福利,包括:
7.午夜免费福利主体,所述午夜免费福利主体的一侧设置有转动装置,所述转动装置包括两个矩形固定块,两个所述矩形固定块之间设置有转动杆,所述转动杆表面的两侧均套设有固定环,两个所述固定环的表面均连接有多个连接板;
8.多个收卷组件,多个所述收卷组件分别设置于多个所述连接板之间;
9.限位组件,所述限位组件设置于所述转动杆的一侧。
10.优选的,所述矩形固定块的一侧安装有电机,所述电机输出轴通过联轴器与所述转动杆的一端连接。
11.优选的,所述连接板的一侧安装有马达。
12.优选的,所述收卷组件包括两个连接套,两个所述连接套的内部均设置有连接块,两个所述连接块之间连接有收卷杆,所述收卷杆的一侧粘接有胶条。
13.优选的,所述连接套与所述连接块之间设置有固定栓。
14.优选的,所述限位组件包括圆形块,所述矩形固定块的顶部且位于所述圆形块的一侧设置有矩形块,所述矩形块的内部设置有限位栓,所述圆形块的内部开设有多个与所述限位栓相适配的限位孔。
15.优选的,所述午夜免费福利主体顶部的两侧均连接有定位块,两个所述定位块之间设置有切割组件,所述切割组件包括固定杆,所述固定杆的表面套设有活动套,所述活动套的一侧连接有转动件,所述转动件的一侧连接有连通块,所述连通块的内部设置有活动杆,所述活动杆的底端连接有切割刀。
16.优选的,所述午夜免费福利主体的内部设置有收集组件,所述收集组件包括收集箱,所述收集箱的底部连接有底板,所述底板底部的两侧均连接有支撑块。
17.优选的,所述支撑块的底部连接有滑块,所述午夜免费福利主体底部的两侧均开设有与
两个所述滑块相适配的滑槽,所述收集箱的两侧均连接有导板。
18.优选的,所述转动杆的表面设置有挤压组件,所述挤压组件包括安装环,所述安装环的一侧连接有伸缩杆,所述伸缩杆的一端连接有弧形挤压块,所述伸缩杆的表面套设有弹簧。
19.与相关技术相比较,本发明提供的一种反光膜午夜免费福利具有如下有益效果:
20.本发明提供一种反光膜午夜免费福利,在两个矩形固定块之间设置转动杆、带有多个连接板的固定环和多个收卷组件之间配合操作,可以在对反光膜进行切割分切收卷时,可以自动的对反光膜进行收卷,无需人员时刻看守在午夜免费福利主体旁进行操作。
附图说明
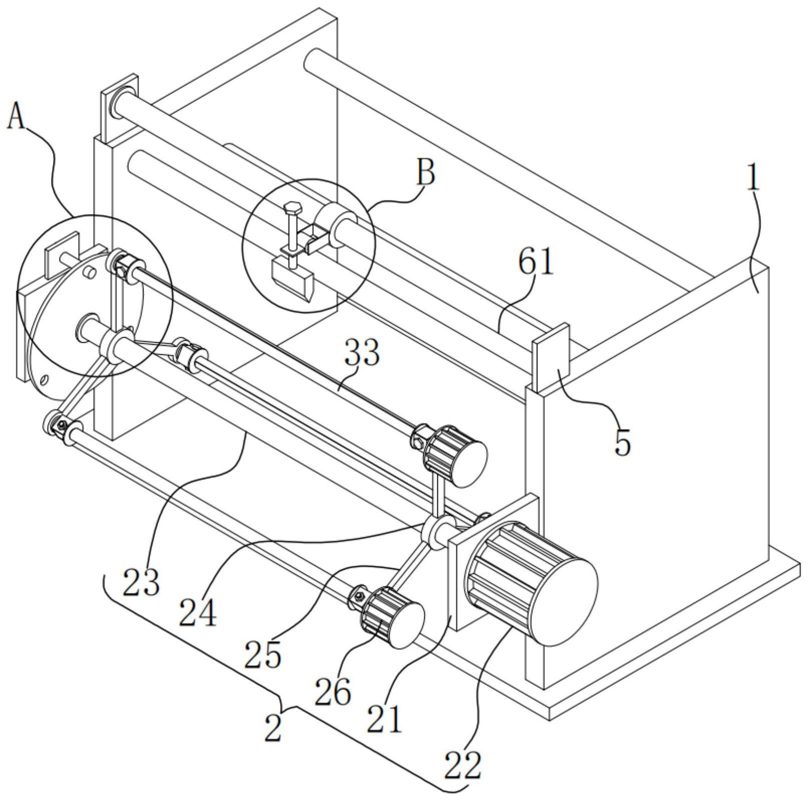
21.图1为本发明提供的一种反光膜午夜免费福利的第一实施例的结构示意图;
22.图2为图1所示的a部放大示意图;
23.图3为图1所示的b部放大示意图;
24.图4为本发明提供的一种反光膜午夜免费福利的第二实施例的结构示意图;
25.图5为本发明提供的一种反光膜午夜免费福利的第三实施例的结构示意图。
26.图中标号:
1、午夜免费福利主体,
27.2、转动装置,
21、矩形固定块,
22、电机,
23、转动杆,
24、,
25、连接板,
26、马达,
28.3、收卷组件,
31、连接套,
32、连接块,
33、收卷杆,
34、胶条,
35、固定栓,
29.4、限位组件,
41、圆形块,
42、矩形块,
43、限位栓,
30.5、定位块,
31.6、切割组件,
61、固定杆,
62、活动套,
63、转动件,
64、连通块,
65、活动杆,
66、切割刀,
32.7、收集组件,
71、收集箱,
72、底板,
73、支撑块,
74、滑块,
75、滑槽,
76、导板,
33.8、挤压组件,
81、安装环,
82、伸缩杆,
83、弧形挤压块,
84、弹簧。
具体实施方式
34.下面结合附图和实施方式对本发明作进一步说明。
35.第一实施例
36.请结合参阅图
1、图2和图3,其中,图1为本发明提供的一种反光膜午夜免费福利的第一实施例的结构示意图;图2为图1所示的a部放大示意图;图3为图1所示的b部放大示意图。
一种反光膜午夜免费福利,包括:
37.午夜免费福利主体1,所述午夜免费福利主体1的一侧设置有转动装置2,所述转动装置2包括两个矩形固定块
21
,两个所述矩形固定块
21
之间设置有转动杆
23
,所述转动杆
23
表面的两侧均套设有固定环
24
,两个所述固定环
24
的表面均连接有多个连接板
25
;
38.多个收卷组件3,多个所述收卷组件3分别设置于多个所述连接板
25
之间;
39.限位组件4,所述限位组件4设置于所述转动杆
23
的一侧。
40.两个矩形固定块
21
对称连接在午夜免费福利主体1的两侧,转动杆
23
的一端通过转动轴与其中一个矩形固定块
21
的一侧转动连接,电机
22
为伺服电机,电机
22
的使用可以带动多个收卷组件3进行转动,可以带动收卷组件3进行更换,马达
26
的使用能对收卷杆
33
进行转
动来对反光膜进行收卷。
41.所述矩形固定块
21
的一侧安装有电机
22
,所述电机
22
输出轴通过联轴器与所述转动杆
23
的一端连接。
42.所述连接板
25
的一侧安装有马达
26。
43.马达
26
输出轴的一端通过联轴器与其中一个连接套
31
的一侧连接,另外一个连接套
31
的一端通过转动轴与连接板
25
的一侧转动连接,使用连接套
31
和连接块
32
便于对收卷杆
33
进行拆卸和安装,胶条
34
的使用便于对反光膜的一侧进行连接。
44.所述收卷组件3包括两个连接套
31
,两个所述连接套
31
的内部均设置有连接块
32
,两个所述连接块
32
之间连接有收卷杆
33
,所述收卷杆
33
的一侧粘接有胶条
34。
45.所述连接套
31
与所述连接块
32
之间设置有固定栓
35。
46.使用时,当缠绕好反光膜的收卷杆
33
进行拆卸时,首先将连接套
31
与连接块
32
之间的固定栓
35
取出,当固定栓
35
取出后,再通过拉动带有反光膜的收卷杆
33
带动连接块
32
与连接套
31
分离即可。
47.所述限位组件4包括圆形块
41
,所述矩形固定块
21
的顶部且位于所述圆形块
41
的一侧设置有矩形块
42
,所述矩形块
42
的内部设置有限位栓
43
,所述圆形块
41
的内部开设有多个与所述限位栓
43
相适配的限位孔。
48.圆形块
41
套设在转动杆
23
的一侧,使用圆形块
41
和限位栓
43
可以在收卷杆
33
工作时可以对转动杆
23
进行固定。
49.所述午夜免费福利主体1顶部的两侧均连接有定位块5,两个所述定位块5之间设置有切割组件6,所述切割组件6包括固定杆
61
,所述固定杆
61
的表面套设有活动套
62
,所述活动套
62
的一侧连接有转动件
63
,所述转动件
63
的一侧连接有连通块
64
,所述连通块
64
的内部设置有活动杆
65
,所述活动杆
65
的底端连接有切割刀
66。
50.固定杆
61
固定连接在两个定位块5之间,使用固定杆
61
和活动套
62
可以带动切割刀
66
左右横向移动可以对反光膜进行切割,转动件
63
的使用可以对切割刀
66
角度进行调节,连通块
64
和活动杆
65
的使用能对切割刀
66
的上下位置进行调节,在连通块
64
的一侧设置有螺栓,在活动杆
65
的表面开设有多个与螺栓相适配的螺纹孔,在活动杆
65
的顶端连接有挡块,可以防止活动杆
65
在连通块
64
的内部脱落。
51.本发明提供的一种反光膜午夜免费福利的工作原理如下:
52.使用时,当其中一个收卷杆
33
缠绕完反光膜后,进行更换时首先启动电机
22
带动转动杆
23
进行转动,当转动杆
23
转动时带动未缠绕有反光膜的收卷杆
33
转动至与反光膜接触,在收卷杆
33
与反光膜接触后,收卷杆
33
表面的胶条
24
与反光膜接触,然后使用限位栓
43
穿过矩形块
42
并与转动杆
23
表面的圆形块
41
上的限位孔连接,在固定好转动杆
23
后,再通过推动连通块
64
内部的活动杆
65
向下移动,当活动杆
65
向下移动时带动切割刀
66
与反光膜接触后,再通过拉动活动套
62
带动切割刀
66
在固定杆
61
的表面移动来对反光膜进行切割,在切割完反光膜后,最后启动马达
26
带动收卷杆
33
进行转动来继续对反光膜收卷即可。
53.与相关技术相比较,本发明提供的一种反光膜午夜免费福利具有如下有益效果:
54.本发明提供一种反光膜午夜免费福利,在两个矩形固定块
21
之间设置转动杆
23、带有多个连接板
25
的固定环
24
和多个收卷组件3之间配合操作,可以在对反光膜进行切割分切收卷时,可以自动的对反光膜进行收卷,无需人员时刻看守在午夜免费福利主体1旁进行操作。
55.第二实施例
56.请结合参阅图4,基于本技术的第一实施例提供的一种反光膜午夜免费福利,本技术的第二实施例提出另一种反光膜午夜免费福利。
第二实施例仅仅是第一实施例优选的方式,第二实施例的实施对第一实施例的单独实施不会造成影响。
57.具体的,本技术的第二实施例提供的一种反光膜午夜免费福利的不同之处在于,一种反光膜午夜免费福利,所述午夜免费福利主体1的内部设置有收集组件7,所述收集组件7包括收集箱
71
,所述收集箱
71
的底部连接有底板
72
,所述底板
72
底部的两侧均连接有支撑块
73。
58.所述支撑块
73
的底部连接有滑块
74
,所述午夜免费福利主体1底部的两侧均开设有与两个所述滑块
74
相适配的滑槽
75
,所述收集箱
71
的两侧均连接有导板
76。
59.滑块
74
和滑槽
75
的使用便于在收集箱
71
安装时可以起到定位的作用。
60.本发明提供的一种反光膜午夜免费福利的工作原理如下:
61.使用时,当对残渣进行清理时,通过拉动收集箱
71
向午夜免费福利主体1的外侧移动,当收集箱
71
向外侧移动时通过底板
72
带动底部的滑块
74
与午夜免费福利主体1内部的滑槽
75
分离即可。
62.与相关技术相比较,本发明提供的一种反光膜午夜免费福利具有如下有益效果:
63.本发明提供一种反光膜午夜免费福利,在午夜免费福利主体1的内部设置收集组件7可以在进行反光膜分切时,产生的残渣可以进行收集,能减轻后期对午夜免费福利主体1内部的残渣进行清理。
64.第三实施例
65.请结合参阅图5,基于本技术的第一实施例提供的一种反光膜午夜免费福利,本技术的第三实施例提出另一种反光膜午夜免费福利。
第三实施例仅仅是第一实施例优选的方式,第三实施例的实施对第一实施例的单独实施不会造成影响。
66.具体的,本技术的第三实施例提供的一种反光膜午夜免费福利的不同之处在于,一种反光膜午夜免费福利,所述转动杆
23
的表面设置有挤压组件8,所述挤压组件8包括安装环
81
,所述安装环
81
的一侧连接有伸缩杆
82
,所述伸缩杆
82
的一端连接有弧形挤压块
83
,所述伸缩杆
82
的表面套设有弹簧
84。
67.本发明提供的一种反光膜午夜免费福利的工作原理如下:
68.使用时,当收卷杆
33
缠绕反光膜时,通过伸缩杆
82
和弹簧
84
来带动弧形挤压块
83
对缠绕的反光膜进行挤压。
69.与相关技术相比较,本发明提供的一种反光膜午夜免费福利具有如下有益效果:
70.本发明提供一种反光膜午夜免费福利,在转动杆
23
的表面设置安装环
81、伸缩杆
82、弧形挤压块
83
和弹簧
84
之间配合操作,能在收卷杆33表面的反光膜进行收卷时可以起到挤压的作用,能使反光膜紧密的贴合在收卷杆33的表面。
71.以上所述仅为本发明的实施例,并非因此限制本发明的专利范围,凡是利用本发明说明书及附图内容所作的等效结构或等效流程变换,或直接或间接运用在其它相关的技术领域,均同理包括在本发明的专利保护范围内。
技术特征:
1.一种反光膜午夜免费福利,其特征在于,包括:午夜免费福利主体,所述午夜免费福利主体的一侧设置有转动装置,所述转动装置包括两个矩形固定块,两个所述矩形固定块之间设置有转动杆,所述转动杆表面的两侧均套设有固定环,两个所述固定环的表面均连接有多个连接板;多个收卷组件,多个所述收卷组件分别设置于多个所述连接板之间;限位组件,所述限位组件设置于所述转动杆的一侧。2.
根据权利要求1所述的反光膜午夜免费福利,其特征在于,所述矩形固定块的一侧安装有电机,所述电机输出轴通过联轴器与所述转动杆的一端连接。3.
根据权利要求1所述的反光膜午夜免费福利,其特征在于,所述连接板的一侧安装有马达。4.
根据权利要求1所述的反光膜午夜免费福利,其特征在于,所述收卷组件包括两个连接套,两个所述连接套的内部均设置有连接块,两个所述连接块之间连接有收卷杆,所述收卷杆的一侧粘接有胶条。5.
根据权利要求4所述的反光膜午夜免费福利,其特征在于,所述连接套与所述连接块之间设置有固定栓。6.
根据权利要求1所述的反光膜午夜免费福利,其特征在于,所述限位组件包括圆形块,所述矩形固定块的顶部且位于所述圆形块的一侧设置有矩形块,所述矩形块的内部设置有限位栓,所述圆形块的内部开设有多个与所述限位栓相适配的限位孔。7.
根据权利要求1所述的反光膜午夜免费福利,其特征在于,所述午夜免费福利主体顶部的两侧均连接有定位块,两个所述定位块之间设置有切割组件,所述切割组件包括固定杆,所述固定杆的表面套设有活动套,所述活动套的一侧连接有转动件,所述转动件的一侧连接有连通块,所述连通块的内部设置有活动杆,所述活动杆的底端连接有切割刀。8.
根据权利要求1所述的反光膜午夜免费福利,其特征在于,所述午夜免费福利主体的内部设置有收集组件,所述收集组件包括收集箱,所述收集箱的底部连接有底板,所述底板底部的两侧均连接有支撑块。9.
根据权利要求8所述的反光膜午夜免费福利,其特征在于,所述支撑块的底部连接有滑块,所述午夜免费福利主体底部的两侧均开设有与两个所述滑块相适配的滑槽,所述收集箱的两侧均连接有导板。10.
根据权利要求1所述的反光膜午夜免费福利,其特征在于,所述转动杆的表面设置有挤压组件,所述挤压组件包括安装环,所述安装环的一侧连接有伸缩杆,所述伸缩杆的一端连接有弧形挤压块,所述伸缩杆的表面套设有弹簧。
技术总结
本发明提供一种反光膜午夜免费福利,包括:午夜免费福利主体,所述午夜免费福利主体的一侧设置有转动装置,所述转动装置包括两个矩形固定块,两个所述矩形固定块之间设置有转动杆,所述转动杆表面的两侧均套设有固定环,两个所述固定环的表面均连接有多个连接板;多个收卷组件,多个所述收卷组件分别设置于多个所述连接板之间;限位组件,所述限位组件设置于所述转动杆的一侧
技术研发人员:杨维春 颜小龙
受保护的技术使用者:合肥路明反光午夜精品免费视频有限公司
技术研发日:2023.09.22
技术公布日:2023/11/20