服务热线
180-5003-0233

1.本实用新型涉及纸张裁切技术领域,具体为一种高效纸张分切纸机。
背景技术:
2.纸张午夜免费福利是印前和印后经常使用的一种比较重要的设备,在印前主要分切原午夜精品免费视频,如纸张、塑料薄膜等等,纸张午夜免费福利主要有切刀片、机架、工作油缸、底座、辅佐工作台和液压系统、电气系统等有些组成。
3.申请号cn202222762041.7公开了一种高效纸张分切纸机,通过设置在底座上表面第一滑槽内部的两组第二滑槽与移动块内部第一限位机构中的限位块和第二滑槽内侧壁开设的限位槽相互配合,从而能够在更换不同间距的刀轮时避免拆卸原有的刀轮,因此减少了工作人员的工作量,且比较省时省力,同时提高了纸张午夜免费福利的生产效率,其次本技术避免将刀轮安装在刀轴上,从而提高了刀轮在分切纸张时的稳定性,因此提高了分切后纸张的质量。
4.上述申请的切割结构中,刀轮通过更换的方式,满足纸张的切割需求,但是之间的距离无法自由进行调节,进行数量的增加或者减少,局限性较大。
技术实现要素:
5.针对现有技术的不足,本实用新型提供了一种高效纸张分切纸机,解决了上述背景技术中提出的问题。
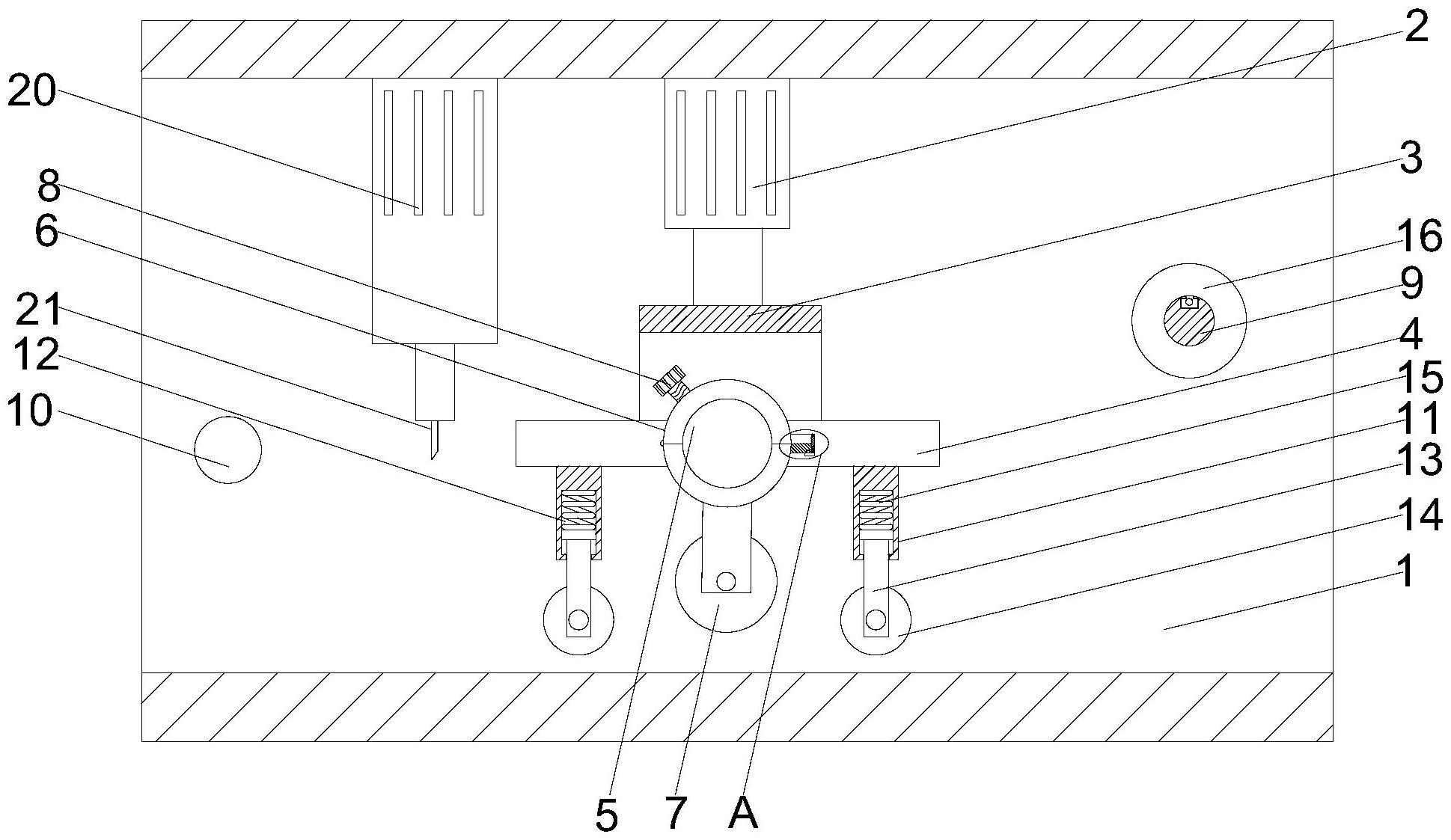
6.为实现以上目的,本实用新型通过以下技术方案予以实现:一种高效纸张分切纸机,包括支撑架,所述支撑架的顶部固定安装有第一气缸,所述第一气缸的输出端固定连接有支架,所述支架底部相对应的两侧均安装有安装架,两个所述安装架之间转动连接有刀辊,所述刀辊的外壁设置有刻度值,所述刀辊的外壁套接有多个固定器,多个所述固定器的底部均安装有刀轮,所述固定器的一侧螺纹连接有锁紧螺栓,所述固定器包括第一夹具和第二夹具,所述第一夹具和第二夹具之间转动连接,所述第一夹具和第二夹具的一侧分别连接有第一锁紧件和第二锁紧件,所述第一锁紧件的一侧转动连接有固定件,所述固定件的内部开设有限位槽,所述限位槽的内部滑动连接有插栓,所述插栓的外壁套接有第二弹簧,所述第二锁紧件的底部开设有与插栓相配合的限位孔。
7.优选的,所述支撑架的内部且位于刀辊相对应的两侧分别转动连接有送料辊和收料辊。
8.优选的,两个所述安装架之间且位于刀辊相对应的两侧均安装有第一限位架,所述第一限位架的内部开设有两个滑槽,两个所述滑槽的内部均滑动连接有第二限位架,两个所述第二限位架之间转动连接有压辊,两个所述滑槽的内部均安装有第一弹簧,所述第一弹簧与第二限位架顶部固定连接。
9.优选的,所述送料辊外壁相对应的两端均套接有限位板,所述送料辊的内部开设有凸形槽,所述凸形槽的内部滑动连接有两个凸形块,两个所述凸形块分别与两个限位板
固定连接,所述凸形槽的内部转动连接有双向丝杆,所述双向丝杆贯穿两个凸形块并与两个凸形块螺纹连接。
10.优选的,所述支撑架的顶部且位于第一气缸的一侧固定安装有第二气缸,所述第二气缸的输出端固定连接有刀片。
11.优选的,所述第一夹具和第二夹具均为半环形。
12.优选的,所述送料辊的一侧固定安装有转扭,所述转扭与双向丝杆固定连接。
13.本实用新型提供了一种高效纸张分切纸机,具备以下有益效果:
14.1、该高效纸张分切纸机,通过刀辊外壁套接的多个固定器,配合刀辊外壁的刻度值,可以根据需求,分别活动多个固定器和刀轮的位置,对刀轮之间的距离进行自由调节,且固定器由两个半环形夹具组成,为可拆卸结构,便于增加或者减少刀辊的数量,有利于提高设备对纸张切割的实用性。
15.2、该高效纸张分切纸机,通过送料辊内丝杆的转动,可以对其两端限位板的间距进行调节,从而对不同尺寸的纸张进行限位,使其能够一直保持正中位置,且刀辊相对应的两侧均设置有伸缩式压辊,在弹簧的作用下,可以对分切前后的纸进行压平,有利于防止其起褶皱。
附图说明
16.图1为本实用新型结构示意图;
17.图2为本实用新型侧视图;
18.图3为本实用新型图1中a处放大图;
19.图4为本实用新分切结构示意图;
20.图5为本实用新型局部结构示意图。
21.图中:1、支撑架;2、第一气缸;3、支架;4、安装架;5、刀辊;6、固定器;61、第一夹具;62、第二夹具;63、第一锁紧件;64、第二锁紧件;65、固定件;66、限位槽;67、插栓;68、第二弹簧;69、限位孔;7、刀轮;8、锁紧螺栓;9、送料辊;10、收料辊;11、第一限位架;12、滑槽;13、第二限位架;14、压辊;15、第一弹簧;16、限位板;17、凸形槽;18、凸形块;19、双向丝杆;20、第二气缸;21、刀片;22、转扭。
具体实施方式
22.下面将结合本实用新型实施例中的附图,对本实用新型实施例中的技术方案进行清楚、完整地描述,显然,所描述的实施例仅仅是本实用新型一部分实施例,而不是全部的实施例。
23.请参阅图1至图5,本实用新型提供一种技术方案:一种高效纸张分切纸机,包括支撑架1,支撑架1的顶部固定安装有第一气缸2,第一气缸2的输出端固定连接有支架3,支架3底部相对应的两侧均安装有安装架4,两个安装架4之间转动连接有刀辊5,刀辊5的外壁设置有刻度值,刀辊5的外壁套接有多个固定器6,多个固定器6的底部均安装有刀轮7,固定器6的一侧螺纹连接有锁紧螺栓8,与刀辊5外壁的刻度值相配合,便于手动调节多个固定器6和刀轮7的间距,固定器6包括第一夹具61和第二夹具62,第一夹具61和第二夹具62均为半环形,使固定器6能够贴合刀辊5,第一夹具61和第二夹具62之间转动连接,第一夹具61和第
二夹具62的一侧分别连接有第一锁紧件63和第二锁紧件64,第一锁紧件63的一侧转动连接有固定件65,固定件65的内部开设有限位槽66,限位槽66的内部滑动连接有插栓67,插栓67的外壁套接有第二弹簧68,第二锁紧件64的底部开设有与插栓67相配合的限位孔69,可拆卸结构,使固定件65在旋转后,插栓67对准限位孔69,并在第二弹簧68的作用下,自动的复位插入至限位孔69内,固定住第一夹具61和第二夹具62,便于增加或者减少刀辊的数量,有利于提高设备对纸张切割的实用性,支撑架1的内部且位于刀辊5相对应的两侧分别转动连接有送料辊9和收料辊10,通过旋转,控制纸张的收放,送料辊9外壁相对应的两端均套接有限位板16,送料辊9的内部开设有凸形槽17,凸形槽17的内部滑动连接有两个凸形块18,两个凸形块18分别与两个限位板16固定连接,凸形槽17的内部转动连接有双向丝杆19,双向丝杆19贯穿两个凸形块18并与两个凸形块18螺纹连接,使双向丝杆19转动时,触发两个凸形块18位移,从而对两个限位板16的位置进行调节,对不同尺寸的纸张进行限位和规范,送料辊9的一侧固定安装有转扭22,转扭22与双向丝杆19固定连接,便于手动驱动双向丝杆19旋转,两个安装架4之间且位于刀辊5相对应的两侧均安装有第一限位架11,第一限位架11的内部开设有两个滑槽12,两个滑槽12的内部均滑动连接有第二限位架13,两个第二限位架13之间转动连接有压辊14,两个滑槽12的内部均安装有第一弹簧15,第一弹簧15与第二限位架13顶部固定连接,伸缩式结构,在第一弹簧15的作用下,随着第一气缸2的运行和安装架4的下降,对纸张进行压平,有利于避免其切割时发生褶皱,支撑架1的顶部且位于第一气缸2的一侧固定安装有第二气缸20,第二气缸20的输出端固定连接有刀片21,通过第二气缸20的运行,控制刀片21升降,从而对纸张进行切割。
24.综上,该高效纸张分切纸机,使用时根据需求切割的宽度,分别滑动刀辊5上的多个固定器6,并通过旋转固定器6一侧的锁紧螺栓8,固定住固定器6和刀轮7的位置,同理,当需要增加刀轮7的数量时,将第一夹具61和第二夹具62套在刀辊5的外壁后,转动第一锁紧件63一侧的固定件65,并向下拉动固定件65内插栓67,使其对齐第二锁紧件64内的限位孔69,在97外壁第二弹簧68的作用下复位并插入至限位孔69内,固定住第一锁紧件63和第二锁紧件64,使第一夹具61和第二夹具62安装在刀辊5上,随着送料辊9和收料辊10的旋转,以及第一气缸2的运行,使刀轮7和两侧的压辊14分别与纸张接触,对纸张收卷和分切,且对于不同尺寸的纸张,在收卷前,可以转动送料辊9一侧的转扭22,驱动送料辊9内双向丝杆19旋转,使两个凸形块18同时移动,带动两个限位板16位移对不同尺寸的纸张进行限位和规范,防止其展开和收卷时倾斜。
25.以上所述,仅为本实用新型较佳的具体实施方式,但本实用新型的保护范围并不局限于此,任何熟悉本技术领域的技术人员在本实用新型揭露的技术范围内,根据本实用新型的技术方案及其实用新型构思加以等同替换或改变,都应涵盖在本实用新型的保护范围之内。
技术特征:
1.一种高效纸张分切纸机,包括支撑架(1),其特征在于:所述支撑架(1)的顶部固定安装有第一气缸(2),所述第一气缸(2)的输出端固定连接有支架(3),所述支架(3)底部相对应的两侧均安装有安装架(4),两个所述安装架(4)之间转动连接有刀辊(5),所述刀辊(5)的外壁设置有刻度值,所述刀辊(5)的外壁套接有多个固定器(6),多个所述固定器(6)的底部均安装有刀轮(7),所述固定器(6)的一侧螺纹连接有锁紧螺栓(8),所述固定器(6)包括第一夹具(61)和第二夹具(62),所述第一夹具(61)和第二夹具(62)之间转动连接,所述第一夹具(61)和第二夹具(62)的一侧分别连接有第一锁紧件(63)和第二锁紧件(64),所述第一锁紧件(63)的一侧转动连接有固定件(65),所述固定件(65)的内部开设有限位槽(66),所述限位槽(66)的内部滑动连接有插栓(67),所述插栓(67)的外壁套接有第二弹簧(68),所述第二锁紧件(64)的底部开设有与插栓(67)相配合的限位孔(69)。2.根据权利要求1所述的一种高效纸张分切纸机,其特征在于:所述支撑架(1)的内部且位于刀辊(5)相对应的两侧分别转动连接有送料辊(9)和收料辊(10)。3.根据权利要求1所述的一种高效纸张分切纸机,其特征在于:两个所述安装架(4)之间且位于刀辊(5)相对应的两侧均安装有第一限位架(11),所述第一限位架(11)的内部开设有两个滑槽(12),两个所述滑槽(12)的内部均滑动连接有第二限位架(13),两个所述第二限位架(13)之间转动连接有压辊(14),两个所述滑槽(12)的内部均安装有第一弹簧(15),所述第一弹簧(15)与第二限位架(13)顶部固定连接。4.根据权利要求2所述的一种高效纸张分切纸机,其特征在于:所述送料辊(9)外壁相对应的两端均套接有限位板(16),所述送料辊(9)的内部开设有凸形槽(17),所述凸形槽(17)的内部滑动连接有两个凸形块(18),两个所述凸形块(18)分别与两个限位板(16)固定连接,所述凸形槽(17)的内部转动连接有双向丝杆(19),所述双向丝杆(19)贯穿两个凸形块(18)并与两个凸形块(18)螺纹连接。5.根据权利要求1所述的一种高效纸张分切纸机,其特征在于:所述支撑架(1)的顶部且位于第一气缸(2)的一侧固定安装有第二气缸(20),所述第二气缸(20)的输出端固定连接有刀片(21)。6.根据权利要求1所述的一种高效纸张分切纸机,其特征在于:所述第一夹具(61)和第二夹具(62)均为半环形。7.根据权利要求4所述的一种高效纸张分切纸机,其特征在于:所述送料辊(9)的一侧固定安装有转扭(22),所述转扭(22)与双向丝杆(19)固定连接。
技术总结
本实用新型公开了一种高效纸张分切纸机,涉及纸张裁切技术领域,包括支撑架,支撑架的顶部固定安装有第一气缸,第一气缸的输出端固定连接有支架,支架底部相对应的两侧均安装有安装架,两个安装架之间转动连接有刀辊,刀辊的外壁设置有刻度值,刀辊的外壁套接有多个固定器,多个固定器的底部均安装有刀轮。本实用新型的有益效果为:该高效纸张分切纸机,通过刀辊外壁套接的多个固定器,配合刀辊外壁的刻度值,可以根据需求,分别活动多个固定器和刀轮的位置,对刀轮之间的距离进行自由调节,且固定器由两个半环形夹具组成,为可拆卸结构,便于增加或者减少刀辊的数量,有利于提高设备对纸张切割的实用性。对纸张切割的实用性。对纸张切割的实用性。
技术研发人员:吕广恺
受保护的技术使用者:大连富鑫包装有限公司
技术研发日:2023.05.04
技术公布日:2023/11/21