服务热线
180-5003-0233

1.本实用新型涉及午夜免费福利技术领域,具体为一种午夜免费福利的飞刀切割装置。
背景技术:
2.午夜免费福利是薄膜、纸等类卷材按需要的宽度直接分割的设备。午夜免费福利对午夜精品免费视频进行分割时采用的是上刀和下刀的配合实现分切,即传统的剪刀原理,此种分切方式需要配备单独的上刀和下刀,且上刀和下刀的刀口部位要适配,对精度要求很高,过紧会导致刀口磨损,过松又起不到剪切的作用,在调刀过程中,下刀一般通过螺栓等于所套接的轴固定,调节刀距时需手动进行操作,不利于自动化设备的发展。
技术实现要素:
3.本实用新型的目的在于提供一种午夜免费福利的飞刀切割装置,以解决上述背景技术中提出的问题。
4.为实现上述目的,本实用新型提供如下技术方案:一种午夜免费福利的飞刀切割装置,包括刀架、刀架固定轴、飞刀、刀座总成、主动轴和电机,所述刀架一端与刀架固定轴固定套接,所述刀架的另一端通过轴承与刀座总成轴向转动连接,所述飞刀固定安装在刀座总成上,所述刀座总上成设有轴孔,刀座总成通过轴孔固定套接在主动轴上,所述主动轴与所述电机传动连接。
5.作为本实用新型的优选技术方案:所述刀座总成与主动轴之间设有第一自锁装置,刀座总成通过第一自锁装置与主动轴固定套接。
6.作为本实用新型的优选技术方案:所述刀架与刀架固定轴之间设有第二自锁装置,刀架通过第二自锁装置与刀架固定轴固定套接。
7.作为本实用新型的优选技术方案:所述第一自锁装置包括锁紧栓、推动弹簧和锁紧槽,所述锁紧槽设置在刀座总成轴孔的内壁上,所述锁紧槽为一端深、一端浅的弧面形状,所述锁紧栓横向设置在锁紧槽深的一端内,所述锁紧栓的直径大于锁紧槽浅的一端的深度小于锁紧槽深的一端的深度,所述锁紧槽深的一端设有与其端面垂直的弹簧孔,所述推动弹簧的一端安装在弹簧孔内,推动弹簧的另一端与锁紧栓抵触。
8.作为本实用新型的优选技术方案:所述锁金栓为圆柱状或球状。
9.作为本实用新型的优选技术方案:所述刀架与刀架固定轴通过轴承座固定套接,所述第二自锁装置包括锁紧杠杆、锁紧弹簧和锁紧块,所述锁紧杠杆的一端通过轴承与刀架轴向转动连接,所述轴承座上靠近锁紧杠杆的下端处设有孔,锁紧块活动穿过孔,锁紧块的长度大于孔的深度,锁紧块的一端与刀架固定轴抵触,锁紧块的另一端与锁紧杠杆抵触,所述锁紧弹簧位于锁紧杠杆的另一侧,所述锁紧弹簧的一端与锁紧杠杆的上端抵触,锁紧弹簧的另一端与刀架抵触,通过锁紧弹簧推动锁紧杠杆的上端使锁紧块与刀架固定轴抵触固定。
10.作为本实用新型的优选技术方案:所述主动轴的一端通过皮带与电机传动连接。
11.采用上述技术方案,本实用新型的有益效果是:通过飞刀对卷材直接进行切割,有效的防止了刀体之间的磨损,第一自锁装置和第二自锁装置的更便于对飞刀的移动调节和实现对刀距的自动化调整,同时也增加了飞刀的稳定性,防止飞刀的震动提高精准度。
附图说明
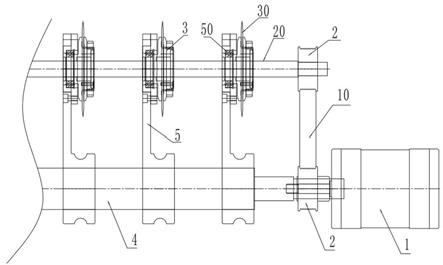
12.图1为本实用新型的结构示意图;
13.图2为本实用新型的刀座总成侧面剖视图;
14.图3为本实用新型刀架及刀座总成的侧面剖视图;
15.图4为本实用飞刀及刀座总成的结构示意图;
16.图中:1、电机;2、皮带轮;3、刀座总成;4、刀架固定轴;5、刀架;10、皮带;20、主动轴;30、飞刀;31、锁紧栓;32、推动弹簧;33、锁紧槽;320、弹簧孔;40、轴承座;50、轴承;51、锁紧杠杆;52、锁紧弹簧;510、锁紧块。
具体实施方式
17.下面详细描述本实用新型的实施例,所述实施例的示例在附图中示出,其中自始至终相同或类似的标号表示相同或类似的元件或具有相同或类似功能的元件。下面通过参考附图描述的实施例是示例性的,旨在用于解释本实用新型,而不能理解为对本实用新型的限制。在本实用新型的描述中,需要理解的是,术语“上”、“下”、“正面”、“上表面”等指示的方位或位置关系为基于附图所示的方位或位置关系,仅是为了便于描述本实用新型和简化描述,而不是指示或暗示所指的装置或元件必须具有特定的方位、以特定的方位构造和操作,因此不能理解为对本实用新型的限制。在本实用新型中,除非另有明确的规定和限定,术语“安装”、“相连”、“连接”、“固定”等术语应做广义理解,例如,可以是固定连接,也可以是可拆卸连接,或成一体;可以是机械连接,也可以是电连接或可以互相通讯;可以是直接相连,也可以通过中间媒介间接相连,可以是两个元件内部的连通或两个元件的相互作用关系。对于本领域的普通技术人员而言,可以根据具体情况理解上述术语在本实用新型中的具体含义。
18.请参阅图1
4,本实用新型提供的一种实施例:一种午夜免费福利的飞刀切割装置,包括刀架5,刀架5的一端与刀架固定轴4套接,刀架5与刀架固定轴优选的采用轴承座40固定套接,刀架5与刀架固定轴4的固定方式采用第二自锁装置固定,此方式便于刀架5在刀架固定轴4上进行移动调节,第二自锁装置包括锁紧杠杆51、锁紧弹簧52和锁紧块510;锁紧杠杆51的一端通过轴承与刀架5的下端轴向转动连接,锁紧杠杆51转动时可接触到轴承座40,对应的轴承座40上设有孔,锁紧块510穿过孔一端与刀架固定轴4抵触,锁紧块510的另一端与锁紧杠杆51抵触,锁紧块510的长度要大于孔的深度,锁紧杠杆51的另一侧上端设有锁紧弹簧52,锁紧弹簧52一端与锁紧杠杆51的上端抵触,锁紧弹簧52的另一端与刀架5抵触。通过锁紧弹簧52对锁紧杠杆51上端的推力,使得锁紧杠杆51以轴承为轴心向轴承座40方向转动,从而推动锁紧块510,使锁紧块510与刀架固定轴4抵触,同时采用了杠杆的原理,使得锁紧块510与刀架固定轴4抵触力相对于锁紧弹簧52的推力成倍的增加,加强刀架5与刀架固定轴之间的稳固性,反之,通过外力将锁紧杠杆51向锁紧弹簧52方向挤压,锁紧块510松动,刀架5与刀架固定轴4连接松动。
19.刀架5的另一端通过轴承50与刀座总成3固定连接,刀座总成3相对于刀架5可轴向转动,刀座总成3上固定安装有飞刀30,刀座总成3及飞刀30上均设有轴孔,刀座总成3固定套接在主动轴20上,通过主动轴20的转动可带动刀座总成3转动;刀座总成3通过第一自锁装置与主动轴20固定,第一自锁装置包括锁紧栓31、推动弹簧32和锁紧槽33,锁紧槽33设置在刀座总成3的轴孔内壁上,锁紧槽呈一端深、一端浅的弧面形状,锁紧栓31设置在锁紧槽33深的一端内,锁紧栓31优选的为圆柱状或球状,锁紧栓31的直径要小于锁紧槽33深的一端的深度,锁紧栓31的直径要大于锁紧槽33浅的一端的深度,锁金栓31可在锁紧槽33内沿着弧面滚动;锁紧栓31与主动轴20的轴面抵触;锁紧槽33深的一端的端面上设有弹簧孔320,推动弹簧32一端设置在弹簧孔320内,推动弹簧32的另一端与锁金栓31抵触,当锁金栓31为圆柱状时,锁金栓31横向设置在锁紧槽33内。主动轴20转动时,带动锁金栓31滚动,使锁金栓31由锁紧槽33深的一端滚向锁紧槽33浅的一端,实现将刀座总成3与主动轴20抱死固定,且转动速度越快抱紧强度越大,加强了刀座总成3的稳定性,有效的防止了飞刀30的震动;通过锁紧弹簧32的弹力起到进一步固定和辅助推力的作用。反之,锁金栓31由锁紧槽33浅的一端滚向锁紧槽33深的一端,刀座总成3与主动轴20连接松动。
20.刀架5的一端通过第二自锁装置与刀架固定轴4锁紧固定,刀架5的另一端通过轴承50与刀座总成3轴向固定连接,飞刀30固定安装在刀座总成3上,刀座总成3通过第一自锁装置与主动轴20固定连接,主动轴20的一端设有皮带轮,电机1的输出端设有皮带轮,主动轴20通过皮带10与电机1传动连接。通过电机1带动主动轴20转动,使刀座总成3转动,即飞刀30转动,实现对卷材的切割,刀座总成3转动时,第一自锁装置的锁金栓31与主动轴20抱死,保证了刀座总成3与主动轴20之间固定的稳定性;当需要调节刀距时,电机1停止转动或适当的反向转动,使锁金栓31与主动轴20之间接触松动,再通过外力向锁紧弹簧510方向推动锁紧杠杆51,使锁紧块510与刀架固定轴4之间松动,即可对刀架5的位置进行调节,操作方便,此种方式也有利于实现刀距的自动化调整。
21.以上结合附图对本实用新型的实施方式作了详细说明,但本实用新型不限于所描述的实施方式。对于本领域的技术人员而言,在不脱离本实用新型原理和精神的情况下,对这些实施方式进行多种变化、修改、替换和变型,仍落入本实用新型的保护范围内。
技术特征:
1.一种午夜免费福利的飞刀切割装置,其特征在于:包括刀架、刀架固定轴、飞刀、刀座总成、主动轴和电机,所述刀架一端与刀架固定轴固定套接,所述刀架的另一端通过轴承与刀座总成轴向转动连接,所述飞刀固定安装在刀座总成上,所述刀座总上成设有轴孔,刀座总成通过轴孔固定套接在主动轴上,所述主动轴与所述电机传动连接。2.根据权利要求1所述的一种午夜免费福利的飞刀切割装置,其特征在于:所述刀座总成与主动轴之间设有第一自锁装置,刀座总成通过第一自锁装置与主动轴固定套接。3.根据权利要求1或2所述的一种午夜免费福利的飞刀切割装置,其特征在于:所述刀架与刀架固定轴之间设有第二自锁装置,刀架通过第二自锁装置与刀架固定轴固定套接。4.根据权利要求2所述的一种午夜免费福利的飞刀切割装置,其特征在于:所述第一自锁装置包括锁紧栓、推动弹簧和锁紧槽,所述锁紧槽设置在刀座总成轴孔的内壁上,所述锁紧槽为一端深、一端浅的弧面形状,所述锁紧栓横向设置在锁紧槽深的一端内,锁紧栓可沿着锁紧槽的弧面滚动,所述锁紧栓的直径大于锁紧槽浅的一端的深度小于锁紧槽深的一端的深度,所述锁紧槽深的一端设有与其端面垂直的弹簧孔,所述推动弹簧的一端安装在弹簧孔内,推动弹簧的另一端与锁紧栓抵触。5.根据权利要求4所述的一种午夜免费福利的飞刀切割装置,其特征在于:所述锁紧栓为圆柱状或球状。6.根据权利要求3所述的一种午夜免费福利的飞刀切割装置,其特征在于:所述刀架与刀架固定轴通过轴承座固定套接,所述第二自锁装置包括锁紧杠杆、锁紧弹簧和锁紧块,所述锁紧杠杆的一端通过轴承与刀架轴向转动连接,所述轴承座上靠近锁紧杠杆的下端处设有孔,锁紧块活动穿过孔,锁紧块的长度大于孔的深度,锁紧块的一端与刀架固定轴抵触,锁紧块的另一端与锁紧杠杆抵触,所述锁紧弹簧位于锁紧杠杆的另一侧,所述锁紧弹簧的一端与锁紧杠杆的上端抵触,锁紧弹簧的另一端与刀架抵触,通过锁紧弹簧推动锁紧杠杆的上端使锁紧块与刀架固定轴抵触固定。7.根据权利要求1、2、4、5或6任一项所述的一种午夜免费福利的飞刀切割装置,其特征在于:所述主动轴的一端通过皮带与电机传动连接。
技术总结
本实用新型公开了一种午夜免费福利的飞刀切割装置,包括刀架、刀架固定轴、飞刀、刀座总成、主动轴和电机,所述刀架一端与刀架固定轴固定套接,所述刀架的另一端通过轴承与刀座总成轴向转动连接,所述飞刀固定安装在刀座总成上,所述刀座总上成设有轴孔,刀座总成通过轴孔固定套接在主动轴上,所述主动轴与所述电机传动连接。通过飞刀对卷材直接进行切割,有效的防止了刀体之间的磨损,第一自锁装置和第二自锁装置的更便于对飞刀的移动调节和实现对刀距的自动化调整,同时也增加了飞刀的稳定性,防止飞刀的震动提高精准度。飞刀的震动提高精准度。飞刀的震动提高精准度。
技术研发人员:安维凯
受保护的技术使用者:温州市维凯机械有限公司
技术研发日:2021.03.23
技术公布日:2021/10/23