服务热线
180-5003-0233

本实用新型涉及锂电子加工设备技术领域,尤其涉及一种二次锂离子电池极片分切装置。
背景技术:
锂离子电池具有高工作电压、高比能量、能量密度大、输出功率高、循环寿命长、无环境污染等优点,不仅在移动式通讯设备上得到广泛的应用,而且也广泛的应用于电动汽车、电动工具等领域,因此对锂电池的性能要求越来越高,是目前各大电池厂家发展的主要方向,锂离子电池的生产过程中用到需要锂离子电池极片分切装置进行分切;
专利文件(cn201889811u)公开了一种锂离子电池的负极片午夜免费福利,该午夜免费福利中的切刀固定板上只安装有一个刀片,在实际生产过程中,单次切割成型的极片个数少,导致工作效率低,而且该午夜免费福利不能降低切割后的极片毛边率,从而很难保证产品的质量。
技术实现要素:
为了解决上述的技术问题,本实用新型提供了一种二次锂离子电池极片分切装置,本实用新型中通过在分切刀片的上侧和下侧分别设置极片料板,可同时对上、下侧的极片料板进行切割,解决了现有午夜免费福利单次切割成型的极片个数少,工作效率低的技术问题;
该极片分切装置在切割过程中,通过按压辊对极片料板的按压,使极片料板处于绷紧状态,从而减少切边毛刺的产生,解决了现有午夜免费福利切割后极片毛边率高的技术问题;
通过设置第一挡板和第二挡板对切割碎屑的收集,解决了午夜免费福利工作时碎屑不便于收集,容易对午夜免费福利内部造成污染的技术问题。
本实用新型的目的可以通过以下技术方案实现:
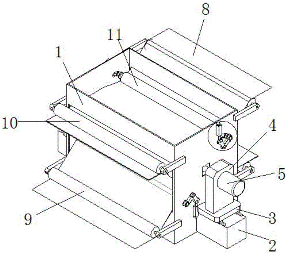
一种二次锂离子电池极片分切装置,包括壳体,所述壳体的两个对称侧面的底部均固定安装有固定底座,所述固定底座的上方固定安装有移动座,所述移动座的上表面固定安装有支撑板,两个所述支撑板之间横向设置有切割转轴,所述切割转轴上固定安装有若干个用于切割极片料板的分切刀片,且若干个所述分切刀片呈等距均匀分布,其中一个所述支撑板的外侧面处固定安装有驱动电机,所述驱动电机的输出轴与切割转轴的一端固定连接;
所述壳体的前、后侧壁均横向固定有两个第一安装臂和两个第二安装臂,所述壳体两侧相对应的两个第一安装臂之间转动连接有第一导向辊,所述壳体两侧相对应的两个第二安装臂之间转动连接有第二导向辊;
所述壳体的前、后侧壁均开设有两个弧形槽,所述壳体的内侧横向设置有两个按压辊,所述按压辊的两端分别贯穿相对应的弧形槽并延伸至壳体的外侧,所述按压辊上活动连接有两个对称分布的套环,所述套环设置于弧形槽内。
进一步的,所述壳体的前、后侧壁均铰接有两个驱动气缸,所述驱动气缸的一端铰接有l形的连接臂,所述连接臂的中部通过销轴与与壳体铰接,所述连接臂的一端与切割转轴的端部转动连接。
进一步的,所述壳体同一侧的两个第一安装臂、两个第二安装臂、两个弧形槽、两个驱动气缸、两个连接臂均关于切割转轴轴心线呈等距圆周阵列分布。
进一步的,所述极片料板的个数为两个,且两个所述极片料板呈上、下分布,上侧的所述极片料板的上表面与其中一个按压辊紧密接触,下方的所述极片料板的底面与另一个按压辊紧密接触。
进一步的,所述壳体的左、右侧壁均开设有通槽,所述极片料板通过通槽贯穿壳体,右侧的所述通槽槽口处横向固定有安装板,所述安装板的内侧固定安装有第一挡板,所述第一挡板位于下侧极片料板的上方,左侧的所述通槽下方的壳体内壁处固定安装有第二挡板。
本实用新型的有益效果:
本实用新型中通过在分切刀片的上侧和下侧分别设置极片料板,可同时对上、下侧的极片料板进行切割,增加了单次极片料板的切割数量,提高了生产效率;
通过两侧的驱动气缸收缩带动连接臂转动,从而使连接臂带动按压辊沿弧形槽向下移动对极片料板按压,从而控制极片料板与分切刀片的接触和非接触,该分切装置便于控制,操作方便;
通过按压辊对极片料板按压,使极片料板切割时处于绷紧状态,从而保证了切割效果,降低了极片的毛边率。
通过设置第一挡板和第二挡板对切割碎屑的收集,可以避免切割碎屑污染下侧的极片料板,同时也保证了该分切装置内部的清洁。
附图说明
下面结合附图对本实用新型作进一步的说明。
图1是本实用新型一种二次锂离子电池极片分切装置的结构示意图;
图2是图1的局部放大图;
图3是本实用新型一种二次锂离子电池极片分切装置的局部结构图;
图4是本实用新型一种二次锂离子电池极片分切装置的正视剖面图。
图中:1、壳体;2、固定底座;3、移动座;4、支撑板;5、驱动电机;6、切割转轴;7、分切刀片;8、极片料板;9、第一导向辊;10、第二导向辊;11、按压辊;12、通槽;13、安装板;14、第一挡板;15、第二挡板;16、第一安装臂;17、第二安装臂;18、驱动气缸;19、连接臂;20、套环;21、弧形槽。
具体实施方式
下面将结合本实用新型实施例中的附图,对本实用新型实施例中的技术方案进行清楚、完整地描述,显然,所描述的实施例仅仅是本实用新型一部分实施例,而不是全部的实施例。基于本实用新型中的实施例,本领域普通技术人员在没有作出创造性劳动前提下所获得的所有其它实施例,都属于本实用新型保护的范围。
如图1-4所示,一种二次锂离子电池极片分切装置,包括壳体1,所述壳体1的两个对称侧面的底部均固定安装有固定底座2,所述固定底座2的上方固定安装有移动座3,所述移动座3的上表面固定安装有支撑板4,两个所述支撑板4之间横向设置有切割转轴6,所述切割转轴6上固定安装有若干个用于切割极片料板8的分切刀片7,且若干个所述分切刀片7呈等距均匀分布,其中一个所述支撑板4的外侧面处固定安装有驱动电机5,所述驱动电机5的输出轴与切割转轴6的一端固定连接;
所述壳体1的前、后侧壁均横向固定有两个第一安装臂16和两个第二安装臂17,所述壳体1两侧相对应的两个第一安装臂16之间转动连接有第一导向辊9,所述壳体1两侧相对应的两个第二安装臂17之间转动连接有第二导向辊10;
所述壳体1的前、后侧壁均开设有两个弧形槽21,所述壳体1的内侧横向设置有两个按压辊11,所述按压辊11的两端分别贯穿相对应的弧形槽21并延伸至壳体1的外侧,所述按压辊11上活动连接有两个对称分布的套环20,所述套环20设置于弧形槽21内。
所述壳体1的前、后侧壁均铰接有两个驱动气缸18,所述驱动气缸18的一端铰接有l形的连接臂19,所述连接臂19的中部通过销轴与与壳体1铰接,所述连接臂19的一端与切割转轴6的端部转动连接。
所述壳体1同一侧的两个第一安装臂16、两个第二安装臂17、两个弧形槽21、两个驱动气缸18、两个连接臂19均关于切割转轴6轴心线呈等距圆周阵列分布。
所述极片料板8的个数为两个,且两个所述极片料板8呈上、下分布,上侧的所述极片料板8的上表面与其中一个按压辊11紧密接触,下方的所述极片料板8的底面与另一个按压辊11紧密接触。
所述壳体1的左、右侧壁均开设有通槽12,所述极片料板8通过通槽12贯穿壳体1,右侧的所述通槽12槽口处横向固定有安装板13,所述安装板13的内侧固定安装有第一挡板14,所述第一挡板14位于下侧极片料板8的上方,左侧的所述通槽12下方的壳体1内壁处固定安装有第二挡板15。
本实用新型的工作原理为:
本实用新型中上侧的极片料板8从右侧通槽12的上部进入,并从左侧通槽12的上部穿出,下侧的极片料板8从左侧通槽12的底部进入,并从右侧通槽12的底部穿出,切割时,同时启动两个驱动气缸18,驱动气缸18的输出杆收缩并带动连接臂19的一端移动,连接臂19绕其与壳体1铰接位置处转动,连接臂19的另一端带动按压辊11对相应的极片料板8挤压,使极片料板8靠近分切刀片7,使分切刀片7对极片料板8进行分切,上侧的极片料板8切割产生的碎屑掉入第一挡板14上,下方的极片料板8切割产生的碎屑掉入第二挡板15上,切割完成后分别通过两侧的通槽12对第一挡板14和第二挡板15的堆积碎屑进行清理。
本实用新型中通过在分切刀片7的上侧和下侧分别设置极片料板8,可同时对上、下侧的极片料板8进行切割,增加了单次极片料板8的切割数量,提高了生产效率;
通过两侧的驱动气缸18收缩带动连接臂19转动,从而使连接臂19带动按压辊11沿弧形槽21向下移动对极片料板8按压,从而控制极片料板8与分切刀片7的接触和非接触,该分切装置便于控制,操作方便;
通过按压辊11的按压,极片料板8处于绷紧状态,从而保证了切割效果,降低了极片的毛边率。
通过设置第一挡板14和第二挡板15对切割碎屑的收集,可以避免切割碎屑污染下侧的极片料板8,同时也保证了该分切装置内部的清洁。
以上所述,仅是本实用新型的较佳实施例而已,并非对本实用新型作任何形式上的限制,虽然本实用新型已以较佳实施例揭露如上,然而并非用以限定本实用新型,任何熟悉本专业的技术人员,在不脱离本实用新型技术方案范围内,当可利用上述揭示的技术内容做出些许更动或修饰为等同变化的等效实施例,但凡是未脱离本实用新型技术方案内容,依据本实用新型的技术实质对以上实施例所作的任何简单修改、等同变化与修饰,均仍属于本实用新型技术方案的范围内。
技术特征:
1.一种二次锂离子电池极片分切装置,其特征在于,包括壳体(1),所述壳体(1)的两个对称侧面的底部均固定安装有固定底座(2),所述固定底座(2)的上方固定安装有移动座(3),所述移动座(3)的上表面固定安装有支撑板(4),两个所述支撑板(4)之间横向设置有切割转轴(6),所述切割转轴(6)上固定安装有若干个用于切割极片料板(8)的分切刀片(7),且若干个所述分切刀片(7)呈等距均匀分布,其中一个所述支撑板(4)的外侧面处固定安装有驱动电机(5),所述驱动电机(5)的输出轴与切割转轴(6)的一端固定连接;
所述壳体(1)的前、后侧壁均横向固定有两个第一安装臂(16)和两个第二安装臂(17),所述壳体(1)两侧相对应的两个第一安装臂(16)之间转动连接有第一导向辊(9),所述壳体(1)两侧相对应的两个第二安装臂(17)之间转动连接有第二导向辊(10);
所述壳体(1)的前、后侧壁均开设有两个弧形槽(21),所述壳体(1)的内侧横向设置有两个按压辊(11),所述按压辊(11)的两端分别贯穿相对应的弧形槽(21)并延伸至壳体(1)的外侧,所述按压辊(11)上活动连接有两个对称分布的套环(20),所述套环(20)设置于弧形槽(21)内。
2.根据权利要求1所述的一种二次锂离子电池极片分切装置,其特征在于,所述壳体(1)的前、后侧壁均铰接有两个驱动气缸(18),所述驱动气缸(18)的一端铰接有l形的连接臂(19),所述连接臂(19)的中部通过销轴与壳体(1)铰接,所述连接臂(19)的一端与切割转轴(6)的端部转动连接。
3.根据权利要求1所述的一种二次锂离子电池极片分切装置,其特征在于,所述壳体(1)同一侧的两个第一安装臂(16)、两个第二安装臂(17)、两个弧形槽(21)、两个驱动气缸(18)、两个连接臂(19)均关于切割转轴(6)轴心线呈等距圆周阵列分布。
4.根据权利要求1所述的一种二次锂离子电池极片分切装置,其特征在于,所述极片料板(8)的个数为两个,且两个所述极片料板(8)呈上、下分布,上侧的所述极片料板(8)的上表面与其中一个按压辊(11)紧密接触,下方的所述极片料板(8)的底面与另一个按压辊(11)紧密接触。
5.根据权利要求1所述的一种二次锂离子电池极片分切装置,其特征在于,所述壳体(1)的左、右侧壁均开设有通槽(12),所述极片料板(8)通过通槽(12)贯穿壳体(1),右侧的所述通槽(12)槽口处横向固定有安装板(13),所述安装板(13)的内侧固定安装有第一挡板(14),所述第一挡板(14)位于下侧极片料板(8)的上方,左侧的所述通槽(12)下方的壳体(1)内壁处固定安装有第二挡板(15)。
技术总结
本实用新型公开了一种二次锂离子电池极片分切装置,包括壳体,所述壳体的两个对称侧面的底部均固定安装有固定底座,所述固定底座的上方固定安装有移动座,所述移动座的上表面固定安装有支撑板,两个所述支撑板之间横向设置有切割转轴,所述切割转轴上固定安装有若干个用于切割极片料板的分切刀片;本实用新型中可同时对上、下侧的极片料板进行切割,增加了单次极片料板的切割数量,提高了生产效率;通过两侧的驱动气缸收缩带动按压辊对极片料板按压,从而控制极片料板与分切刀片的接触和非接触,该分切装置便于控制,操作方便;通过按压辊的按压,极片料板处于绷紧状态,从而保证了切割效果,降低了极片的毛边率。
技术研发人员:黄忠海;秦会彬
受保护的技术使用者:合肥众禾动力新能源科技有限公司
技术研发日:2019.06.13
技术公布日:2020.04.14