服务热线
180-5003-0233

本实用新型涉及锂电池生产设备技术领域,具体是一种锂电池分条机辅助下料装置。
背景技术:
近几年,人工成本不断上升,AGV市场逐渐被企业发现,而出现了AGV热潮,这也激发了AGV的研究热潮。AGV在我国很多行业已有大规模应用,如烟草、物流、汽车、新闻等,尤其以自动物流现场和智能装配车间为最多,上升的势头十分迅猛。目前,一些新技术、新设备、新发明的出现,也使得高级智能AGV进入更多的企业。
锂电池制造的辊压分切工序是锂离子电池生产过程中不可缺少的一部分,在传统生产中,这一工序往往需要2-3个人来进行锂电池卷料生产工作。为了减少人力劳动,实现生产线自动化运行,辊压午夜免费福利需要由传统的手动收放卷接带,变更为自动收放卷接带,并配备AGV对接上料、托送卷料等。然而,为了保证卷料收卷对齐度,减少卷料收卷后跑偏,一般在午夜免费福利收卷部位配有自动纠偏装置,可以根据卷料的流动情况,自动纠正卷料极片位置。在纠偏过程中,AGV很难捕捉收卷卷料位置,来实现准确对接下料。因此,为了同时具备自动收卷和AGV对接功能,非常需要一种锂电池分条机辅助下料装置,来保证卷料与AGV准确对接,实现平稳下料。
技术实现要素:
本实用新型的目的在于提供一种锂电池分条机辅助下料装置,以解决上述背景技术中提出的问题。
为实现上述目的,本实用新型提供如下技术方案:
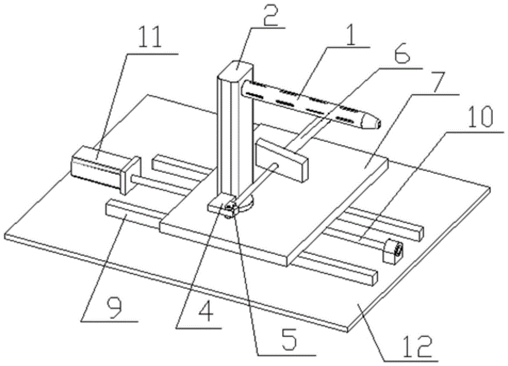
一种锂电池分条机辅助下料装置,包括机架以及滑动设置于机架上方的支撑板,所述支撑板上端设有支撑柱,所述支撑柱通过设置于支撑板上端的旋转轴与支撑板转动连接,所述支撑板上设有用于带动支撑柱进行旋转的转动气缸,所述支撑柱上端设有气胀轴,所述气胀轴设置在支撑柱侧面且气胀轴轴线与支撑柱轴线垂直。
作为本实用新型进一步的方案:所述机架上端设有滑轨,所述支撑板下端设有滑块,所述滑块滑动连接于滑轨上。
作为本实用新型进一步的方案:所述支撑板与机架之间设有用于带动支撑板在机架上往复运动的丝杠,所述丝杠一端动力连接有电机。
作为本实用新型进一步的方案:所述支撑柱转动套接在旋转轴上。
作为本实用新型进一步的方案:所述转动装置包括转动气缸,所述支撑柱底部侧面位置固设有连接座,所述转动气缸活塞通过铰接轴与连接座转动连接。
作为本实用新型进一步的方案:所述气胀轴与支撑柱连接的一端通过管道连接有气源。
作为本实用新型进一步的方案:所述气胀轴远离支撑柱的一端为圆锥形结构。
与现有技术相比,本实用新型的有益效果是:本实用新型通过在锂电池分条机下料收卷塔与AGV之间设置转运装置,进而减少了AGV捕捉收料料卷位置来实现准确下料的步骤,降低了下料的难度,通过本申请设备将料卷从收卷塔准运到AGV上,提供了下料的效率和下料的准确性,而且本申请的辅助装置结构简单,成本低,运行维护简捷。
附图说明
图1为本实用新型结构示意图;
图2为本实用新型主视图。
图中:1-气胀轴、2-支撑柱、3-旋转轴、4-连接座、5-铰接轴、6-转动气缸、7-支撑板、8-滑块、9-滑轨、10-丝杆、11-电机、12-机架。
具体实施方式
下面将结合本实用新型实施例中的附图,对本实用新型实施例中的技术方案进行清楚、完整地描述,显然,所描述的实施例仅仅是本实用新型一部分实施例,而不是全部的实施例。基于本实用新型中的实施例,本领域普通技术人员在没有做出创造性劳动前提下所获得的所有其他实施例,都属于本实用新型保护的范围。
请参阅图1,本实用新型实施例中,一种锂电池分条机辅助下料装置,包括机架12,机架12上端通过轨道滑动连接有支撑板7,机架12上端固设有滑轨9,支撑板7下端固设有滑块8,滑块8滑动连接于滑轨9上,同时在支撑板7与机架12之间还设有用于带动支撑板7在机架12上往复运动的丝杠10,丝杠10一端设有电机11,电机11固定连接于机架12上,进而可以通过电机11的转动带动丝杠10的转动,进一步控制支撑板7在机架12上往复运动,支撑板7上端固设有旋转轴3,旋转轴3上套接有支撑柱2,支撑柱2与旋转轴3同轴布置,进而可以使支撑柱2在旋转轴3上转动,支撑柱2下端侧面固设有连接座4,连接座4上通过铰接轴5转动连接有转动气缸6,转动气缸6固定连接于支撑板7上,转动气缸6的活塞前端通过铰接轴5与连接座4转动连接,连接座4、铰接轴5和转动气缸6组成转动装置,进而可以通过转动气缸6活塞的伸缩带动支撑柱2的转动,支撑柱2上端侧面设有气胀轴1,气胀轴1的轴线与支撑柱2的轴线垂直,气胀轴1远离支撑柱2的一端为圆锥形结构,进而极大的气胀轴1与收料卷轴心的对接难度,气胀轴1上与支撑柱2连接的一端通过管道连接有高压气源,通过气源向气胀轴1内泵入高压气体可以是气胀轴1展开,通过排气可以是气胀轴1复位。
本实用新型在使用时,首先将本装置放置在锂电池分条机下料位置处收卷塔与AGV工位之间,当锂电池分条机自动收卷完成后,转动收卷塔,将收卷塔上带有卷料的一侧转动到靠近支撑柱2的一侧,然后启动电机11,通过电机11带动丝杠10转动,进而使支撑板7以及支撑板7上的支撑柱2、气胀轴1箱收卷塔的方向移动,由于气胀轴1前端为圆锥形结构,因而可以快速的插入到收卷塔上的收卷轴内,然后继续是气胀轴1箱收卷塔的方向运动,直到气胀轴1完全伸入到收卷轴内,然后启动气源向气胀轴1内泵入高压气体是气胀轴1膨胀并与收卷轴内壁贴合压紧,当气胀轴1与收卷轴压紧连接后,启动电机11带动支撑板7以及支撑板7上装载的料卷远离收卷塔并向AGV接料工位移动,当移动到AGV接料工位时,启动转动气缸6,通过转动气缸6带动支撑柱2以及支撑柱2上的气胀轴1,当将气胀轴1以及承载在气胀轴1上的卷料转动到AGV上方时停止转动,然后启动AGV对料卷进行承接,然后对气胀轴1进行放气收缩,完成气胀轴1与料卷的释放,释放完成后即可通过AGV将料卷进行运输,进而完成整个料卷下料的过程,整个下料过程简单快捷,不需要AGV对收卷塔上的料卷进行捕捉定位,通过本申请装置可以快速的将收卷塔上料卷转移到AGV上,进而提高了工作效率和工作质量。
对于本领域技术人员而言,显然本实用新型不限于上述示范性实施例的细节,而且在不背离本实用新型的精神或基本特征的情况下,能够以其他的具体形式实现本实用新型。因此,无论从哪一点来看,均应将实施例看作是示范性的,而且是非限制性的,本实用新型的范围由所附权利要求而不是上述说明限定,因此旨在将落在权利要求的等同要件的含义和范围内的所有变化囊括在本实用新型内。不应将权利要求中的任何附图标记视为限制所涉及的权利要求。
技术特征:
1.一种锂电池分条机辅助下料装置,其特征在于,包括机架(12)以及滑动设置于机架(12)上方的支撑板(7),所述支撑板(7)上端设有支撑柱(2),所述支撑柱(2)通过设置于支撑板(7)上端的旋转轴(3)与支撑板(7)转动连接,所述支撑板(7)上设有用于带动支撑柱(2)进行旋转的转动装置,所述支撑柱(2)上端设有气胀轴(1),所述气胀轴(1)设置在支撑柱(2)侧面且气胀轴(1)轴线与支撑柱(2)轴线垂直。
2.根据权利要求1所述的一种锂电池分条机辅助下料装置,其特征在于,所述机架(12)上端固设有滑轨(9),所述支撑板(7)下端固设有滑块(8),所述滑块(8)滑动连接于滑轨(9)上。
3.根据权利要求1所述的一种锂电池分条机辅助下料装置,其特征在于,所述支撑板(7)与机架(12)之间设有用于带动支撑板(7)在机架(12)上往复运动的丝杠(10),所述丝杠(10)一端动力连接有电机(11)。
4.根据权利要求1所述的一种锂电池分条机辅助下料装置,其特征在于,所述支撑柱(2)转动套接在旋转轴(3)上。
5.根据权利要求1所述的一种锂电池分条机辅助下料装置,其特征在于,所述转动装置包括转动气缸(6),所述支撑柱(2)底部侧面位置固设有连接座(4),所述转动气缸(6)活塞通过铰接轴(5)与连接座(4)转动连接。
6.根据权利要求1所述的一种锂电池分条机辅助下料装置,其特征在于,所述气胀轴(1)与支撑柱(2)连接的一端通过管道连接有气源。
7.根据权利要求1所述的一种锂电池分条机辅助下料装置,其特征在于,所述气胀轴(1)远离支撑柱(2)的一端为圆锥形结构。
技术总结
本实用新型公开了一种锂电池分条机辅助下料装置,包括机架以及滑动设置于机架上方的支撑板,所述支撑板上端设有支撑柱,所述支撑柱通过设置于支撑板上端的旋转轴与支撑板转动连接,所述支撑板上设有用于带动支撑柱进行旋转的转动气缸,所述支撑柱上端设有气胀轴,所述气胀轴设置在支撑柱侧面且气胀轴轴线与支撑柱轴线垂直,本实用新型通过在锂电池分条机下料收卷塔与AGV之间设置转运装置,进而减少了AGV捕捉收料料卷位置来实现准确下料的步骤,降低了下料的难度,通过本申请设备将料卷从收卷塔准运到AGV上,提供了下料的效率和下料的准确性,而且本申请的辅助装置结构简单,成本低,运行维护简捷。
技术研发人员:窦仁军;孙勇
受保护的技术使用者:合肥国轩高科动力能源有限公司
技术研发日:2018.11.26
技术公布日:2019.09.10