服务热线
180-5003-0233

1.本技术涉及无纺布切割技术领域,尤其是涉及一种无纺布午夜免费福利。
背景技术:
2.午夜免费福利是一种将宽幅无纺布、纸张、云母带或薄膜分切成多条窄幅午夜精品免费视频的机械设备。通常午夜免费福利包括放卷部分、切割部分和收卷部分,无纺布经放卷部分放卷后,由切割部分对整块无纺布进行分条切割,再通过收卷部分对切割后的无纺布进行收卷工作。
3.目前,传统的午夜免费福利,一般包括机座,机座的一端转动安装有布料卷绕辊,另一端转动安装有收卷辊,在机座上位于布料卷绕辊和收卷辊之间安装有传导辊,机座上位于传导辊的上方安装有上压辊,上压辊上排布有切刀固定组件,切刀固定组件上安装有刀片式的分切刀头,通过将布料固定在收卷辊上,并拉动布料通过分切刀头将布料进行分切,分切后的布片通过收卷辊进行卷绕收卷。
4.但是,针对上述技术方案,刀片式的分切刀头在分切布料时容易拉扯布料,造成布料损坏,从而影响布料的切割质量。
技术实现要素:
5.为了能够提升布料切割的质量,本技术提供一种无纺布午夜免费福利。
6.本技术提供一种无纺布午夜免费福利,采用如下技术方案:
7.一种无纺布午夜免费福利,包括机架,所述机架上转动安装有收卷辊,所述机架上位于收卷辊的下方转动安装有分料辊,所述机架上位于分料辊和收卷辊之间安装有切割装置,所述切割装置包括切割辊和若干圆形的切刀,所述切割辊安装在机架上位于收卷辊和分料辊之间,所述切刀滑动安装在机架上,且沿切割辊的长度方向排布,所述切刀的刃部与切割辊的侧壁抵触,所述切割装置还包括驱动机构,所述驱动机构包括若干气缸,所述气缸沿切割辊的轴线方向滑动安装在机架上,所述切刀安装在气缸的活塞杆上。
8.通过采用上述技术方案,设置切割装置,方便通过切割装置对布料进行分条切割,设置切割辊,方便切割装置中的切割部对经过切割辊的布料进行分条切割,设置圆形的切刀,方便通过圆形的切刀对布料进行切割,从而减少切刀在切割布料时对布料的拉车,从而提高布料的切割质量,设置多个切刀,方便通过多个切刀的排布组合,切割出不同宽度的布料,将切刀滑动安装在机架上,方便通过调整切刀之间的距离,从而分切出不同宽度要求的布料,将切刀的刃部与切割辊的侧壁抵触,方便切刀对从切割辊侧壁上传送过的布料进行切割,设置驱动机构,方便通过驱动机构驱动切刀工作,调节切刀与切割辊之间的距离,方便对不同切刀之间的距离进行调节,设置气缸,方便通过气缸带动切刀朝向切割辊或远离切割辊移动,从而方便切刀的工作或调节分切的尺寸,将气缸滑动安装在机架上,方便通过滑动气缸,从而调节切刀之间的距离。
9.在一个具体的可实施方案中,所述驱动机构还包括若干电机,所述电机固定安装在气缸的活塞杆上,所述切刀同轴安装在电机的驱动轴上。
10.通过采用上述技术方案,设置电机,方便通过电机驱动切刀转动,使切刀在切割布料的同时能够转动,从而提高切割速度。
11.在一个具体的可实施方案中,所述电机的侧壁上固定安装有切割罩,所述切割罩朝向切割辊的一侧开设有安装槽,所述切刀在安装槽内转动。
12.通过采用上述技术方案,设置切割罩,方便通过切割罩对切刀进行保护,从而提高切刀的使用寿命。
13.在一个具体的可实施方案中,所述驱动机构还包括滑轨,所述滑轨固定安装在机架上位于切割辊的下方,所述气缸的侧壁上开设有滑槽一,所述滑槽一与滑轨滑动连接。
14.通过采用上述技术方案,设置滑轨,方便气缸在滑轨上滑动,从而调节不同切刀之间的距离,提高气缸滑动调节的精度,设置滑槽一,方便气缸通过滑槽一沿着滑轨滑动,从而提高气缸滑动的稳定性。
15.在一个具体的可实施方案中,所述滑槽一的侧壁上螺纹安装有定位栓,所述定位栓的一端与滑轨的侧壁抵触。
16.通过采用上述技术方案,设置定位栓,方便气缸通过定位栓定位在调节后的位置,从而提高切刀切割的稳定性。
17.在一个具体的可实施方案中,所述切割装置还包括若干切割盘,所述切割盘滑动安装在切割辊上,所述切刀的刃部与切割盘的侧壁抵触。
18.通过采用上述技术方案,设置切割盘,方便通过切割盘配合切刀对不了进行分切,设置多个切割盘,方便通过调节每个切割盘之间的距离从而调节布料被分切后的宽度。
19.在一个具体的可实施方案中,所述切割盘的侧壁上开设有若干切割槽,所述切刀的刃部插接在切割槽内。
20.通过采用上述技术方案,设置切割槽,方便切刀移动至切割槽内,从而对切割盘表面的布料进行切割,从而提高分切的精度,在同一个切割盘上设置多个切割槽,方便通过滑动切刀,使切刀的刀刃对准不同的切割槽,从而实现对布料的切割尺寸进行微调,从而提高分切的精度。
21.在一个具体的可实施方案中,所述机架上位于切割辊与收卷辊之间安装有张紧辊。
22.通过采用上述技术方案,设置张紧辊,方便通过张紧辊运送分切割后的布料,提高分切后的布料的张力,从而方便收卷辊进行收卷。
23.综上所述,本技术包括以下至少一种有益效果:
24.1.本技术通过设置切割装置,方便通过切割装置对布料进行分切。
25.2.本技术通过设置圆形的切刀,方便通过圆形的切刀对布料进行切割,从而减少切刀在切割过程中对布料的拉扯,从而提高布料的切割质量。
26.3.本技术通过设置多组切割盘,方便通过滑动切割盘和切刀,使切割装置能够分切出不同宽度尺寸的布料。
27.4.本技术通过在切割盘上设置多条切割槽,方便切刀对布料的宽度尺寸进行微调,从而提高布料分切的精度。
附图说明
28.图1是本技术实施例的结构示意图。
29.图2是本技术实施例中切割装置的结构示意图。
30.图3是图2中a处的放大图。
31.附图标记说明:
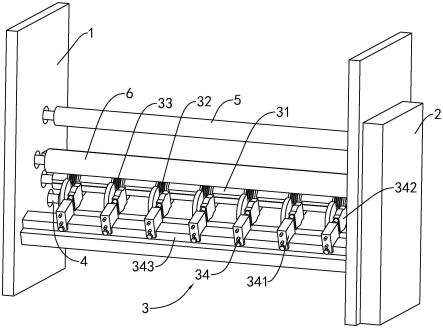
32.1、机架;2、动力箱;3、切割装置;31、切割辊;311、滑槽二;32、切刀;33、切割盘;331、切割槽;332、滑块;34、驱动机构;341、气缸;3411、滑槽一;342、电机;343、滑轨;344、定位栓;345、切割罩;4、分料辊;5、收卷辊;6、张紧辊。
具体实施方式
33.以下结合附图对本技术作进一步详细说明。
34.本技术实施例公开一种无纺布午夜免费福利,参照图1,包括机架1,机架1的下端转动安装分料辊4,机架1上位于分料辊4的上方转动安装有收卷辊5,机架1上位于收卷辊5和分料辊4之间安装有张紧辊6,机架1上位于收卷辊5与分料辊4之间还安装有切割装置3。机架1的一侧固定安装有动力箱2,动力箱2中安装有驱动切割装置3、收卷辊5、分料辊4和张紧辊6工作的动力源。卷绕在分料辊4上的布料经过引导,由切割装置3切割后的布料经过张紧辊6张紧,最后由收卷辊5对张紧后的布料进行收卷。
35.参照图1和图2,切割装置3包括切割辊31、若干切刀32和驱动机构34,切割辊31安装在机架1上位于张紧辊6和分料辊4之间,切刀32为圆形切刀32,且沿切割辊31的轴线方向滑动安装在机架1上,切刀32的刀刃朝向切割辊31,驱动机构34安装在机架1上,切刀32与驱动机构34连接,驱动机构34驱动切刀32转动,且驱动机构34驱动切刀32向靠近切割辊31或远离切割辊31的方向移动。
36.参照图2和图3,驱动机构34包括若干气缸341、若干电机342和滑轨343,滑轨343固定安装在机架1上位于切割辊31的斜下方,气缸341的侧壁上开设有滑槽一3411,气缸341通过滑槽一3411滑动安装在滑轨343上,滑槽一3411的外侧壁上螺纹安装有定位栓344,定位栓344的一端与滑轨343的侧壁抵触,气缸341通过滑槽一3411在滑轨343上滑动,并通过定位栓344将气缸341定位在合适的位置。电机342固定安装在气缸341的活塞杆上,切刀32的转轴与电机342的驱动轴同轴连接,通过气缸341带动切刀32向朝向切割辊31或远离切割辊31的方向移动。电机342的侧壁上固定安装有切割罩345,切割罩345的截面为半圆形,且切割罩345的弧形侧壁朝向气缸341方向,切割罩345朝向切割辊31的侧壁上开设有安装槽,切刀32在切割罩345的安装槽内转动。
37.参照图3,切割装置3还包括若干切割盘33,切割辊31上沿其轴线开设有若干条滑槽二311,切割盘33的内壁上固定安装有若干滑块332,切割盘33通过滑块332滑动安装在切割辊31上,每个切割盘33的侧壁上开设有若干条切割槽331,切刀32在朝向切割辊31移动的过程中,切刀32的刀刃能够插接在切割槽331内。
38.本技术实施例的工作原理为:将卷绕在分料辊4上的布料引导至切割辊31处,经过切刀32分切后,将布料引导至张紧辊6上,通过张紧辊6将布料张紧,最后将张紧后的布料引导至收卷辊5上进行收卷。
39.当需要调节布料被分切的尺寸时,将切割盘33沿切割辊31滑动,调节每个切割盘
33之间的距离,从而得到所需要的尺寸,再将气缸341沿滑轨343滑动,调节不同气缸341之间的距离,根据布料尺寸的精度要求,调整切刀32的刀刃对准同一切割盘33上的不同的切割槽331,从而对布料宽度尺寸进行微调,得到更精准的尺寸,最后将调节好的气缸341通过定位栓344定位在调节后的位置。
40.当布料的切割尺寸被调节好后,切割装置3开始切割工作,布料在切割辊31的切割盘33表面滑动,气缸341驱动切刀32向切割辊31方向移动,使切刀32的刀刃对准切割盘33的切割槽331,同时电机342驱动切刀32转动,对布料进行分切。
41.以上为本技术的较佳实施例,并非依此限制本技术的保护范围,故:凡依本技术的结构、形状、原理所做的等效变化均应涵盖于本技术的保护范围之内。
技术特征:
1.一种无纺布午夜免费福利,包括机架(1),所述机架(1)上转动安装有收卷辊(5),所述机架(1)上位于收卷辊(5)的下方转动安装有分料辊(4),其特征在于:所述机架(1)上位于分料辊(4)和收卷辊(5)之间安装有切割装置(3),所述切割装置(3)包括切割辊(31)和若干圆形的切刀(32),所述切割辊(31)安装在机架(1)上位于收卷辊(5)和分料辊(4)之间,所述切刀(32)滑动安装在机架(1)上,且沿切割辊(31)的长度方向排布,所述切刀(32)的刃部与切割辊(31)的侧壁抵触,所述切割装置(3)还包括驱动机构(34),所述驱动机构(34)包括若干气缸(341),所述气缸(341)沿切割辊(31)的轴线方向滑动安装在机架(1)上,所述切刀(32)安装在气缸(341)的活塞杆上。2.根据权利要求1所述的一种无纺布午夜免费福利,其特征在于:所述驱动机构(34)还包括若干电机(342),所述电机(342)固定安装在气缸(341)的活塞杆上,所述切刀(32)同轴安装在电机(342)的驱动轴上。3.根据权利要求2所述的一种无纺布午夜免费福利,其特征在于:所述电机(342)的侧壁上固定安装有切割罩(345),所述切割罩(345)朝向切割辊(31)的一侧开设有安装槽,所述切刀(32)在安装槽内转动。4.根据权利要求1所述的一种无纺布午夜免费福利,其特征在于:所述驱动机构(34)还包括滑轨(343),所述滑轨(343)固定安装在机架(1)上位于切割辊(31)的下方,所述气缸(341)的侧壁上开设有滑槽一(3411),所述滑槽一(3411)与滑轨(343)滑动连接。5.根据权利要求4所述的一种无纺布午夜免费福利,其特征在于:所述滑槽一(3411)的侧壁上螺纹安装有定位栓(344),所述定位栓(344)的一端与滑轨(343)的侧壁抵触。6.根据权利要求1所述的一种无纺布午夜免费福利,其特征在于:所述切割装置(3)还包括若干切割盘(33),所述切割盘(33)滑动安装在切割辊(31)上,所述切刀(32)的刃部与切割盘(33)的侧壁抵触。7.根据权利要求6所述的一种无纺布午夜免费福利,其特征在于:所述切割盘(33)的侧壁上开设有若干切割槽(331),所述切刀(32)的刃部插接在切割槽(331)内。8.根据权利要求1所述的一种无纺布午夜免费福利,其特征在于:所述机架(1)上位于切割辊(31)与收卷辊(5)之间安装有张紧辊(6)。
技术总结
本申请涉及无纺布切割技术领域,尤其是涉及一种无纺布午夜免费福利,包括机架,机架上转动安装有收卷辊,机架上位于收卷辊的下方转动安装有分料辊,机架上位于分料辊和收卷辊之间安装有切割装置,切割装置包括切割辊和若干圆形的切刀,切割辊安装在机架上位于收卷辊和分料辊之间,切刀滑动安装在机架上,且沿切割辊的长度方向排布,切刀的刃部与切割辊的侧壁抵触,切割装置还包括驱动机构,驱动机构包括若干气缸,气缸沿切割辊的轴线方向滑动安装在机架上,切刀安装在气缸的活塞杆上,本申请改善了传统刀片式的分切刀头在分切布料时容易拉扯布料,造成布料损坏,从而影响布料的切割质量的问题,能够达到提高布料的切割质量的效果。能够达到提高布料的切割质量的效果。能够达到提高布料的切割质量的效果。
技术研发人员:朱云斌 曹克静 郑洋
受保护的技术使用者:浙江盛纺纳米午夜精品免费视频科技有限公司
技术研发日:2022.03.25
技术公布日:2022/6/30