服务热线
180-5003-0233

本实用新型涉及降噪设备技术领域,具体是指一种胶带分条机噪音消除装置。
背景技术:
胶带分条机用于将整个胶带切割成条状胶带,以符合不同行业中的使用要求,现有的胶带分割机智能化程度低,需要人工辅助完成切割,切割效率低,切割质量差,严重影响企业效益,另外,现有胶带分条机在工作过程中噪音较大,产生较大噪音的主要原因是胶带从胶带卷上剥离时会产生一个剥离力,胶带的震动长度比较长,从而产生共鸣,使机器噪音较大,导致车间内的工作人员受到噪音影响,不利于健康工作的要求。
技术实现要素:
本实用新型的目的是克服以上的技术缺陷,提供一种可以有效降低噪音的胶带分条机噪音消除装置。
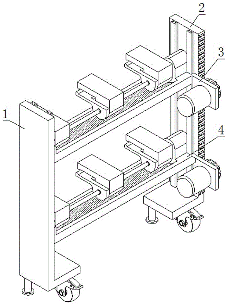
为解决上述技术问题,本实用新型提供的技术方案为:一种胶带分条机噪音消除装置,包括固定座,所述的固定座上位于母卷上方安装有压卷辊,所述的固定座上位于母卷拉伸的胶带上方设有压带辊,所述的固定座两端上方均设有气缸,所述的气缸底部设有安装在固定座上的活塞杆,所述的固定座两端均设有安装在胶带分条机前端两侧的导轨。
本实用新型与现有技术相比的优点在于:本实用新型设置有压卷辊和压带辊可以随母卷转动,能够减小胶带剥离后的震动长度,避免胶带产生共鸣,进而消除噪音,给工人创造了良好的工作环境,气缸和活塞杆使固定座随母卷运动在导轨上均匀滑动,可以随着母卷厚度减少调节压紧,从而更好的压紧胶带卷和胶带,降低噪音。
作为改进,所述的压卷辊为特氟龙不沾辊。
作为改进,所述的压带辊为胶辊。
作为改进,所述的气缸随母卷运动气压保持在6mpa均匀滑动。
作为改进,所述的导轨在固定座两端分别设有两个并且位于活塞杆两侧。
附图说明
图1是本实用新型一种胶带分条机噪音消除装置的结构示意图。
如图所示:1、固定座,2、母卷,3、压卷辊,4、压带辊,5、气缸,6、活塞杆,7、导轨。
具体实施方式
下面结合附图对本实用新型做进一步的详细说明。
一种胶带分条机噪音消除装置,包括固定座1,所述的固定座1上位于母卷2上方安装有压卷辊3,所述的固定座1上位于母卷2拉伸的胶带上方设有压带辊4,所述的固定座1两端上方均设有气缸5,所述的气缸5底部设有安装在固定座1上的活塞杆6,所述的固定座1两端均设有安装在胶带分条机前端两侧的导轨7。
所述的压卷辊3为特氟龙不沾辊。
所述的压带辊4为胶辊。
所述的气缸5随母卷2运动气压保持在6mpa均匀滑动。
所述的导轨7在固定座1两端分别设有两个并且位于活塞杆6两侧。
本实用新型在具体实施时,母卷上的胶带剥离时,压带辊压紧胶带,压卷辊压紧母卷,气缸随母卷运动气压保持在6mpa左右均匀滑动,母卷厚度减少时,气缸和活塞杆带动固定座在导轨上向下滑动,从而带动固定座上的压卷辊和压带辊向下压紧母卷和胶带。
以上对本实用新型及其实施方式进行了描述,这种描述没有限制性,附图中所示的也只是本实用新型的实施方式之一,实际的结构并不局限于此。总而言之如果本领域的普通技术人员受其启示,在不脱离本实用新型创造宗旨的情况下,不经创造性的设计出与该技术方案相似的结构方式及实施例,均应属于本实用新型的保护范围。
技术特征:
1.一种胶带分条机噪音消除装置,其特征在于:包括固定座(1),所述的固定座(1)上位于母卷(2)上方安装有压卷辊(3),所述的固定座(1)上位于母卷(2)拉伸的胶带上方设有压带辊(4),所述的固定座(1)两端上方均设有气缸(5),所述的气缸(5)底部设有安装在固定座(1)上的活塞杆(6),所述的固定座(1)两端均设有安装在胶带分条机前端两侧的导轨(7)。
2.根据权利要求1所述的一种胶带分条机噪音消除装置,其特征在于:所述的压卷辊(3)为特氟龙不沾辊。
3.根据权利要求1所述的一种胶带分条机噪音消除装置,其特征在于:所述的压带辊(4)为胶辊。
4.根据权利要求1所述的一种胶带分条机噪音消除装置,其特征在于:所述的气缸(5)随母卷(2)运动气压保持在6mpa均匀滑动。
5.根据权利要求1所述的一种胶带分条机噪音消除装置,其特征在于:所述的导轨(7)在固定座(1)两端分别设有两个并且位于活塞杆(6)两侧。
技术总结
本实用新型公开了一种胶带分条机噪音消除装置,包括固定座,所述的固定座上位于母卷上方安装有压卷辊,所述的固定座上位于母卷拉伸的胶带上方设有压带辊,所述的固定座两端上方均设有气缸,所述的气缸底部设有安装在固定座上的活塞杆,所述的固定座两端均设有安装在胶带分条机前端两侧的导轨。本实用新型与现有技术相比的优点在于:本实用新型可以有效降低噪音。
技术研发人员:孙伟亮;徐国盛
受保护的技术使用者:潍坊浩田印刷机械有限公司
技术研发日:2020.03.18
技术公布日:2020.12.29