服务热线
180-5003-0233

本实用新型涉及夹紧装置技术领域,具体为一种午夜免费福利的夹紧装置。
背景技术:
午夜免费福利的夹紧装置是纸管加工过程中常用的设备,其用于将纸管加工成为产品所需长度。
现有技术中的午夜免费福利的夹紧装置,其往往采用固定的定位辊对纸管进行定位,而对于直径不一的纸管,其需通过制备多根不同直径的模具进行置换,以针对各个直径的纸筒,上述加工方式,其不仅需花费大量成本用于模具制备,同时在加工前的置换工作亦导致其生产效率底下,而且夹紧装置在夹紧定位是不能做到同步,这就造成一定的偏差。
技术实现要素:
本实用新型的目的在于提供一种午夜免费福利的夹紧装置,以解决上述背景技术中提出的问题。
为实现上述目的,本实用新型提供如下技术方案:一种午夜免费福利的夹紧装置,包括夹持座,所述夹持座内部的非圆心处设置有四组第一滑槽,四组所述第一滑槽两端的中间位置处设置有限位槽,四组所述第一滑槽相互靠近的位置处皆设置有弹簧,四组组所述弹簧相互远离处皆设置有夹持杆,四组所述夹持杆相互靠近位置处远离夹持座的一侧设置有夹持块,所述夹持块的两侧对称设置有第二滑块,所述第二滑块与限位槽相互配合,四组所述夹持杆相互远离处远离夹持块的一侧皆设置有第一滑块,所述夹持座顶部和底部的中间位置处皆设置有滑动座,两组所述滑动座靠近夹持块一侧的中间位置处皆设置有滑动杆,所述滑动杆贯穿滑动座,两组所述滑动座之间远离夹持座的一侧设置有锥形筒,所述锥形筒内侧壁均匀设置有四组第二滑槽,所述锥形筒远离夹持座一侧的中间位置处设置有套管,所述套管靠近夹持座的一侧延伸至锥形筒的内部,所述套管顶部远离锥形筒的一侧设置有通孔,所述通孔内部设置有紧固螺栓。
优选的,所述夹持块的底部皆设置有凸齿。
优选的,所述第一滑块位于锥形筒的内部,所述第一滑块与第二滑槽相互滑动配合。
优选的,所述锥形筒靠近夹持座均匀设置有四组通孔,所述夹持杆与通孔滑动配合。
优选的,所述滑动杆靠近夹持块的一侧设置有限位块,所述滑动杆与滑动座滑动配合。
优选的,所述通孔内部的两侧设置有螺纹,所述紧固螺栓与通孔之间呈螺纹连接。
与现有技术相比,本实用新型的有益效果是:该午夜免费福利的夹紧装置通过夹持杆、第一滑块、第二滑槽、锥形筒、通孔、紧固螺栓和套管之间的相互配合,可以对锥形筒位置进行左右移动,从而可以对几组夹持块之间的距离进行调节,可以对不同大小直径得卷筒进行夹持,减少更换不同转轴的时间,提高了工作效率,通过滑动杆和滑动座之间的相互配合,可以使得锥形筒移动时不会发生偏移,保证锥形筒可以正常带动夹持杆进行移动,第二滑块和限位槽的作用下可以防止夹持杆在上下移动时左右移动,防止夹持时不够紧固,使得夹持件的脱落。
附图说明
图1为本实用新型的结构示意图;
图2为本实用新型的夹持座的侧视图;
图3为本实用新型的夹持杆示意图。
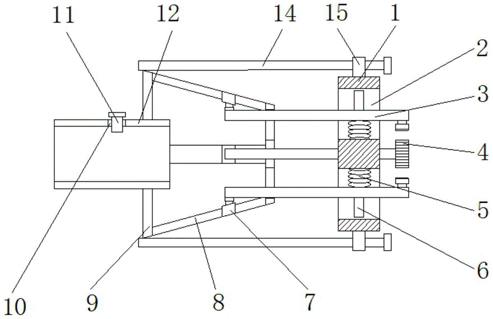
图中:1、夹持座;2、第一滑槽;3、夹持杆;4、夹持块;5、弹簧;6、限位槽;7、第一滑块;8、第二滑槽;9、锥形筒;10、通孔;11、紧固螺栓;12、套管;13、第二滑块;14、滑动杆;15、滑动座。
具体实施方式
下面将结合本实用新型实施例中的附图,对本实用新型实施例中的技术方案进行清楚、完整地描述,显然,所描述的实施例仅仅是本实用新型一部分实施例,而不是全部的实施例。基于本实用新型中的实施例,本领域普通技术人员在没有做出创造性劳动前提下所获得的所有其他实施例,都属于本实用新型保护的范围。
请参阅图1-3,本实用新型提供的实施例:一种午夜免费福利的夹紧装置,包括夹持座1,夹持座1内部的非圆心处设置有四组第一滑槽2,四组第一滑槽2两端的中间位置处设置有限位槽6,四组第一滑槽2相互靠近的位置处皆设置有弹簧5,四组组弹簧5相互远离处皆设置有夹持杆3,四组夹持杆3相互靠近位置处远离夹持座1的一侧设置有夹持块4,夹持块4的两侧对称设置有第二滑块13,第二滑块13与限位槽6相互配合,防止夹持杆3左右滑动,四组夹持杆3相互远离处远离夹持块4的一侧皆设置有第一滑块7,夹持座1顶部和底部的中间位置处皆设置有滑动座15,两组滑动座15靠近夹持块4一侧的中间位置处皆设置有滑动杆14,滑动杆14贯穿滑动座15,两组滑动座15之间远离夹持座1的一侧设置有锥形筒9,锥形筒9内侧壁均匀设置有四组第二滑槽8,锥形筒9远离夹持座1一侧的中间位置处设置有套管12,套管12靠近夹持座1的一侧延伸至锥形筒9的内部,套管12顶部远离锥形筒9的一侧设置有通孔10,通孔10内部设置有紧固螺栓11,可以对装置进行固定。
在本实施中,夹持块4的底部皆设置有凸齿,使得夹持块4夹持更加稳定,第一滑块7位于锥形筒9的内部,第一滑块7与第二滑槽8相互滑动配合,使得第一滑块7可以自由滑动,锥形筒9靠近夹持座1均匀设置有四组通孔,夹持杆3与通孔滑动配合,使得夹持杆3可以上下移动,滑动杆14靠近夹持块4的一侧设置有限位块,滑动杆14与滑动座15滑动配合,保证锥形筒9水平移动,通孔10内部的两侧设置有螺纹,紧固螺栓11与通孔10之间呈螺纹连接,可以对装置进行固定。
工作原理:首先,通过转动紧固螺栓11,紧固螺栓11在通孔10的作用下,紧固螺栓11左右移动,紧固螺栓11带动锥形筒9左右移动,锥形筒9的移动,使得第一滑块7在第二滑槽8内部左右互动,从而改变第一滑块7之间的距离,第一滑块7则带动夹持块4移动,从而改变夹持块4之间的间距,从而对不同直径的卷筒进行夹持,当需要对卷筒松开时,转动紧固螺栓11使得锥形筒9向右移动,使得第一滑块7之间的间距增大,在弹簧5的作用下,从而使得夹持块4之间的间距增大,可以对卷筒进行拿取。
对于本领域技术人员而言,显然本实用新型不限于上述示范性实施例的细节,而且在不背离本实用新型的精神或基本特征的情况下,能够以其他的具体形式实现本实用新型。因此,无论从哪一点来看,均应将实施例看作是示范性的,而且是非限制性的,本实用新型的范围由所附权利要求而不是上述说明限定,因此旨在将落在权利要求的等同要件的含义和范围内的所有变化囊括在本实用新型内。不应将权利要求中的任何附图标记视为限制所涉及的权利要求。
技术特征:
1.一种午夜免费福利的夹紧装置,包括夹持座(1),其特征在于:所述夹持座(1)内部的非圆心处设置有四组第一滑槽(2),四组所述第一滑槽(2)两端的中间位置处设置有限位槽(6),四组所述第一滑槽(2)相互靠近的位置处皆设置有弹簧(5),四组所述弹簧(5)相互远离处皆设置有夹持杆(3),四组所述夹持杆(3)相互靠近位置处远离夹持座(1)的一侧设置有夹持块(4),所述夹持块(4)的两侧对称设置有第二滑块(13),所述第二滑块(13)与限位槽(6)相互配合,四组所述夹持杆(3)相互远离处远离夹持块(4)的一侧皆设置有第一滑块(7),所述夹持座(1)顶部和底部的中间位置处皆设置有滑动座(15),两组所述滑动座(15)靠近夹持块(4)一侧的中间位置处皆设置有滑动杆(14),所述滑动杆(14)贯穿滑动座(15),两组所述滑动座(15)之间远离夹持座(1)的一侧设置有锥形筒(9),所述锥形筒(9)内侧壁均匀设置有四组第二滑槽(8),所述锥形筒(9)远离夹持座(1)一侧的中间位置处设置有套管(12),所述套管(12)靠近夹持座(1)的一侧延伸至锥形筒(9)的内部,所述套管(12)顶部远离锥形筒(9)的一侧设置有通孔(10),所述通孔(10)内部设置有紧固螺栓(11)。
2.根据权利要求1所述的一种午夜免费福利的夹紧装置,其特征在于:所述夹持块(4)的底部皆设置有凸齿。
3.根据权利要求1所述的一种午夜免费福利的夹紧装置,其特征在于:所述第一滑块(7)位于锥形筒(9)的内部,所述第一滑块(7)与第二滑槽(8)相互滑动配合。
4.根据权利要求1所述的一种午夜免费福利的夹紧装置,其特征在于:所述锥形筒(9)靠近夹持座(1)均匀设置有四组通孔,所述夹持杆(3)与通孔滑动配合。
5.根据权利要求1所述的一种午夜免费福利的夹紧装置,其特征在于:所述滑动杆(14)靠近夹持块(4)的一侧设置有限位块,所述滑动杆(14)与滑动座(15)滑动配合。
6.根据权利要求1所述的一种午夜免费福利的夹紧装置,其特征在于:所述通孔(10)内部的两侧设置有螺纹,所述紧固螺栓(11)与通孔(10)之间呈螺纹连接。
技术总结
本实用新型公开了一种午夜免费福利的夹紧装置,包括夹持座,所述夹持座内部的非圆心处设置有四组第一滑槽,四组所述第一滑槽两端的中间位置处设置有限位槽,四组所述第一滑槽相互靠近的位置处皆设置有弹簧,四组组所述弹簧相互远离处皆设置有夹持杆。本实用新型装置通过夹持杆、第一滑块、第二滑槽、锥形筒、通孔、紧固螺栓和套管之间的相互配合,可以对锥形筒位置进行左右移动,从而可以对几组夹持块之间的距离进行调节,可以对不同大小直径得卷筒进行夹持,减少更换不同转轴的时间,提高了工作效率,同时锥形筒移动时不会发生偏移,保证锥形筒可以正常带动夹持杆进行移动,防止夹持时不够紧固,使得夹持件的脱落。
技术研发人员:丁利涛;袁青雷;吴银银
受保护的技术使用者:苏州三川金属午夜精品免费视频有限公司
技术研发日:2019.11.12
技术公布日:2020.07.14