服务热线
180-5003-0233

本实用新型涉及医用器械领域,特别是一种医用软管高速全自动切管机。
背景技术:
传统医疗行业所使用的软管切管机为分体结构,是几个独立的设备。包括带刹车放料盘、配重牵引送料机、计米切管机等几部分组成。带刹车放料盘放置软管料盘,配重牵引送料机将软管通过配重部分牵引送至计米切管机,计米切管机通过计米轮计算切割长度后,有切刀部分将软管切断。
现有设备由于是分体结构,各独立设备配合使用存在很多问题。如刹车功能不灵敏,料盘放置后容易松散,储料配重功能无法正常使用,切管速度慢等问题。
技术实现要素:
本实用新型的目的是为了解决上述问题,设计了一种医用软管高速全自动切管机。
实现上述目的本实用新型的技术方案为,一种医用软管高速全自动切管机,包括带刹车放料盘部分、牵引配重部分和计米切管部分,所述带刹车放料盘部分由撑料卡盘、卡盘固定板、卡盘轴、卡盘轴固定块、连接板、卡盘滑块、撑料杆、挡板、中心轴、挡块、卡紧把手、刹车轴、刹车棘轮和刹车气缸构成,所述撑料卡盘后端连接卡盘固定板,所述卡盘固定板连接卡盘轴,所述卡盘轴通过轴承连接卡盘轴固定块,所述卡盘轴固定块连接连接板,所述撑料卡盘前端连接卡盘滑块,所述卡盘滑块上连接六根撑料杆和挡板,所述中心轴安装在卡盘轴上,所述挡板与挡块安装在中心轴上,所述卡紧把手连接挡块,所述刹车棘轮连接卡盘轴,刹车轴与刹车气缸连接。
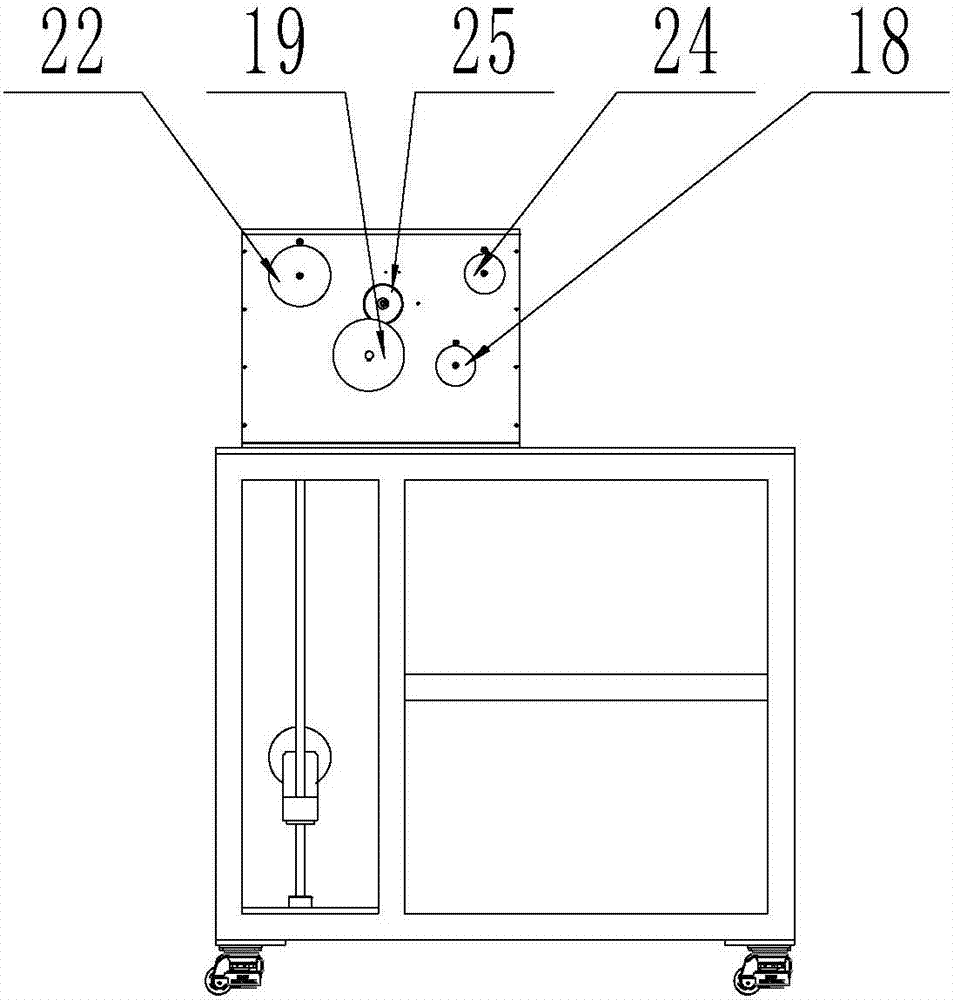
所述牵引配重部分由二号导轮、牵引轮、配重轮、配重块、配重块导轮、导向光轴、一号导轮、压轮、压轮固定块、压紧弹簧和弹簧固定块构成,所述配重轮安装在配重块上表面,所述配重块安装在导向光轴上,所述压轮安装在压轮固定块侧表面,所述压紧弹簧一端连接弹簧固定块并另一端连接压轮固定块。
所述计米切管部分由计米轮、辅轮、背面编码器、送料同步带和切刀块构成,所述计米轮两侧设有辅轮,所述计米轮和背面编码器连接。
所述送料同步带由上部送料带轮、调节手轮和下部送料带轮构成,所述调节手轮与上部送料带轮连接。
所述切刀块由专用切刀、切刀压块、切刀架、直线滑轨、固定架、切刀电机、偏心轮、复位弹簧和顶杆构成,所述专用切刀通过切刀压块安装在切刀架上,所述切刀架通过直线滑轨连接固定架,所述切刀电机通过偏心轮连接切刀架,所述复位弹簧连接顶杆,所述顶杆连接切刀架。
利用本实用新型的技术方案制作的一种医用软管高速全自动切管机,将原有的几部分独立设备集成设计,并针对原有设备的问题点进行专门改进,有效解决了上述问题,使切管过程稳定、可靠,效率提升。
附图说明
图1是本实用新型所述一种医用软管高速全自动切管机的结构示意图;
图2是本实用新型所述一种医用软管高速全自动切管机的带刹车放料盘部分结构示意图;
图3是本实用新型所述一种医用软管高速全自动切管机的牵引配重部分正视结构示意图;
图4是本实用新型所述一种医用软管高速全自动切管机的牵引配重部分侧视结构示意图;
图5是本实用新型所述一种医用软管高速全自动切管机的牵引配重部分后视结构示意图;
图6是本实用新型所述一种医用软管高速全自动切管机的计米切管部分正视结构示意图;
图7是本实用新型所述一种医用软管高速全自动切管机的计米切管部分侧视结构示意图;
图8是本实用新型所述一种医用软管高速全自动切管机的切刀块结构示意图;
图中,1、带刹车放料盘部分;2、牵引配重部分;3、计米切管部分;4、撑料卡盘;5、卡盘固定板;6、卡盘轴;7、卡盘轴固定块;8、连接板;9、卡盘滑块;10、撑料杆;11、挡板;12、中心轴;13、挡块;14、卡紧把手;15、刹车轴;16、刹车棘轮;17、刹车气缸;18、二号导轮;19、牵引轮;20、配重轮;21、配重块;22、配重块导轮;23、导向光轴;24、一号导轮;25、压轮;26、压轮固定块;27、压紧弹簧;28、弹簧固定块;29、计米轮;30、辅轮;31、背面编码器;32、送料同步带;33、切刀块;34、上部送料带轮;35、调节手轮;36、下部送料带轮;37、专用切刀;38、切刀压块;39、切刀架;40、直线滑轨;41、固定架;42、切刀电机;43、偏心轮;44、复位弹簧;45、顶杆。
具体实施方式
下面结合附图对本实用新型进行具体描述,如图1-8所示,一种医用软管高速全自动切管机,包括带刹车放料盘部分1、牵引配重部分2和计米切管部分3,所述带刹车放料盘部分1由撑料卡盘4、卡盘固定板5、卡盘轴6、卡盘轴固定块7、连接板8、卡盘滑块9、撑料杆10、挡板11、中心轴12、挡块13、卡紧把手14、刹车轴15、刹车棘轮16和刹车气缸17构成,所述撑料卡盘4后端连接卡盘固定板5,所述卡盘固定板5连接卡盘轴6,所述卡盘轴6通过轴承连接卡盘轴固定块7,所述卡盘轴固定块7连接连接板8,所述撑料卡盘4前端连接卡盘滑块9,所述卡盘滑块9上连接六根撑料杆10和挡板11,所述中心轴12安装在卡盘轴6上,所述挡板11与挡块13安装在中心轴12上,所述卡紧把手14连接挡块13,所述刹车棘轮16连接卡盘轴6,刹车轴15与刹车气缸17连接;所述牵引配重部分2由二号导轮18、牵引轮19、配重轮20、配重块21、配重块导轮22、导向光轴23、一号导轮24、压轮25、压轮固定块26、压紧弹簧27和弹簧固定块28构成,所述配重轮20安装在配重块21上表面,所述配重块21安装在导向光轴23上,所述压轮25安装在压轮固定块26侧表面,所述压紧弹簧27一端连接弹簧固定块28并另一端连接压轮固定块26;所述计米切管部分3由计米轮29、辅轮30、背面编码器31、送料同步带32和切刀块33构成,所述计米轮29两侧设有辅轮30,所述计米轮29和背面编码器31连接;所述送料同步带32由上部送料带轮34、调节手轮35和下部送料带轮36构成,所述调节手轮35与上部送料带轮34连接;所述切刀块33由专用切刀37、切刀压块38、切刀架39、直线滑轨40、固定架41、切刀电机42、偏心轮43、复位弹簧44和顶杆45构成,所述专用切刀37通过切刀压块38安装在切刀架39上,所述切刀架39通过直线滑轨40连接固定架41,所述切刀电机42通过偏心轮43连接切刀架39,所述复位弹簧44连接顶杆45,所述顶杆45连接切刀架39。
本实施方案的特点为,该设备主要由带刹车放料盘部分1、牵引配重部分2、计米切管部分3组成,能够完成稳定高度的切管工作,带刹车放料盘部分1由三爪自定心卡盘带动六根撑料杆10将软管料卷张紧,再由挡板11通过挡块13的移动固定,刹车部分通过刹车气缸17带动刹车轴15与刹车棘轮16的啮合止回来实现,解决了之前料盘放置后容易松散及刹车功能不灵敏的问题,牵引配重部分2采用双层储料轮,保证快速切割时的储料余量,计米切管部分3采用可调夹持量送料同步带32送料,夹持距离长,力度可调,可保证高速切割时送料稳定不打滑,切刀块33由切刀电机42带动偏心轮43推动专用切刀37下移切割,再由复位弹簧44提供反作用力恢复原位,切割速度快精度高。
在本实施方案中,撑料卡盘4后端与卡盘固定板5连接,卡盘固定板5与卡盘轴6连接,卡盘轴6通过轴承与卡盘轴固定块7形成转动关系,卡盘轴6固定块7再与连接板8固定,撑料卡盘4前端与卡盘滑块9连接,卡盘滑块9上连接六根撑料杆10和挡板11,中心轴12固定在卡盘轴6上,挡板11与挡块13连接在中心轴12上,卡紧把手14与挡块13连接,刹车作用是由刹车轴15与刹车棘轮16的配合实现的,刹车棘轮16与卡盘轴6固定,刹车轴15与刹车气缸17连接,从带刹车放料盘部分1来料后,首先通过二号导轮18进入牵引轮19,再通过配重轮20与配重块21进入到配重块导轮22,配重块21可在导向光轴23上上下滑动,最后经过一号导轮24进入到计米切管部分3,其中压轮25是作用是压紧通过牵引轮19的料管,压轮25固定在压轮固定块26上,压紧弹簧27通过弹簧固定块28压紧在压轮固定块26上,调节压紧弹簧27的松紧度可以控制压轮25压紧料管的力度,防止料管在牵引轮19上打滑,计米轮29与背面编码器31连接,料管经计米轮29进入送料同步带32内,计米轮29两侧的辅轮30可使计米轮29和料管包角更大,防止打滑,送料同步带30分上下两部分,由两组同步带轮带动,上部送料带轮34可通过调节手轮35带动上下移动位置,根据不同料管直径,可调节与下部送料带轮36的距离,使料管能压实,防止送料打滑,料管进入切刀块33后,根据预先设置好的程序,专用切刀37动作切断料管,专用切刀37用切刀压块38固定在切刀架39上,切刀架39用直线滑轨40与固定架41连接,通过切刀电机42带动偏心轮43与切刀架41接触,带动专用切刀37完成向下切割动作,通过复位弹簧44和顶杆45的配合,使专用切刀37复位.
上述技术方案仅体现了本实用新型技术方案的优选技术方案,本技术领域的技术人员对其中某些部分所可能做出的一些变动均体现了本实用新型的原理,属于本实用新型的保护范围之内。

技术特征:
1.一种医用软管高速全自动切管机,包括带刹车放料盘部分(1)、牵引配重部分(2)和计米切管部分(3),其特征在于,所述带刹车放料盘部分(1)由撑料卡盘(4)、卡盘固定板(5)、卡盘轴(6)、卡盘轴固定块(7)、连接板(8)、卡盘滑块(9)、撑料杆(10)、挡板(11)、中心轴(12)、挡块(13)、卡紧把手(14)、刹车轴(15)、刹车棘轮(16)和刹车气缸(17)构成,所述撑料卡盘(4)后端连接卡盘固定板(5),所述卡盘固定板(5)连接卡盘轴(6),所述卡盘轴(6)通过轴承连接卡盘轴固定块(7),所述卡盘轴固定块(7)连接连接板(8),所述撑料卡盘(4)前端连接卡盘滑块(9),所述卡盘滑块(9)上连接六根撑料杆(10)和后挡板(11),所述中心轴(12)安装在卡盘轴(6)上,所述前挡板()与挡块(13)安装在中心轴(12)上,所述卡紧把手(14)连接挡块(13),所述刹车棘轮(16)连接卡盘轴(6),刹车轴(15)与刹车气缸(17)连接。
2.根据权利要求1所述的一种医用软管高速全自动切管机,其特征在于,所述牵引配重部分(2)由二号导轮(18)、牵引轮(19)、配重轮(20)、配重块(21)、配重块导轮(22)、导向光轴(23)、一号导轮(24)、压轮(25)、压轮固定块(26)、压紧弹簧(27)和弹簧固定块(28)构成,所述配重轮(20)安装在配重块(21)上表面,所述配重块(21)安装在导向光轴(23)上,所述压轮(25)安装在压轮固定块(26)侧表面,所述压紧弹簧(27)一端连接弹簧固定块(28)并另一端连接压轮固定块(26)。
3.根据权利要求1所述的一种医用软管高速全自动切管机,其特征在于,所述计米切管部分(3)由计米轮(29)、辅轮(30)、背面编码器(31)、送料同步带(32)和切刀块(33)构成,所述计米轮(29)两侧设有辅轮(30),所述计米轮(29)和背面编码器(31)连接。
4.根据权利要求3所述的一种医用软管高速全自动切管机,其特征在于,所述送料同步带(32)由上部送料带轮(34)、调节手轮(35)和下部送料带轮(36)构成,所述调节手轮(35)与上部送料带轮(34)连接。
5.根据权利要求3所述的一种医用软管高速全自动切管机,其特征在于,所述切刀块(33)由专用切刀(37)、切刀压块(38)、切刀架(39)、直线滑轨(40)、固定架(41)、切刀电机(42)、偏心轮(43)、复位弹簧(44)和顶杆(45)构成,所述专用切刀(37)通过切刀压块(38)安装在切刀架(39)上,所述切刀架(39)通过直线滑轨(40)连接固定架(41),所述切刀电机(42)通过偏心轮(43)连接切刀架(39),所述复位弹簧(44)连接顶杆(45),所述顶杆(45)连接切刀架(39)。
技术总结
本实用新型公开了一种医用软管高速全自动切管机,包括带刹车放料盘部分、牵引配重部分和计米切管部分,所述带刹车放料盘部分由撑料卡盘、卡盘固定板、卡盘轴、卡盘轴固定块、连接板、卡盘滑块、撑料杆、挡板、中心轴、挡块、卡紧把手、刹车轴、刹车棘轮和刹车气缸构成。本实用新型的有益效果是,将原有的几部分独立设备集成设计,并针对原有设备的问题点进行专门改进,有效解决了上述问题,使切管过程稳定、可靠,效率提升。
技术研发人员:郭景哲;李宁宁;宋旭
受保护的技术使用者:威海大威海洋机器人有限公司
技术研发日:2018.03.23
技术公布日:2018.06.05