服务热线
180-5003-0233

1.本实用新型涉及纸管午夜免费福利领域,尤其涉及一种具有换刀机构的纸管午夜免费福利。
背景技术:
2.纸管午夜免费福利具有运转平稳、噪音低、实用性强、操作方便、效率高等优势纸管午夜免费福利生产前检查机械各电器开关,防护器装置是否正常,直到确认无异常方可作业纸管午夜免费福利生产中途操作人员离开机台时要关闭电源,机台发生任何故障,应先切断电源,再采取有效措施纸管午夜免费福利生产操作过程中,切管不要用力过猛,防止打碎伤人。
3.现有的纸管午夜免费福利在对纸管固定时大多采用三爪卡盘进行固定,但是大多只对纸管的一端进行固定,纸管的另一端处于悬空状态,因此在切割的过程中可能会导致切割尺寸不稳,导致切割失败。
4.因此,有必要提供一种具有换刀机构的纸管午夜免费福利解决上述技术问题。
技术实现要素:
5.本实用新型提供一种具有换刀机构的纸管午夜免费福利,解决现有的纸管午夜免费福利在对纸管固定时大多采用三爪卡盘进行固定,但是大多只对纸管的一端进行固定,纸管的另一端处于悬空状态,因此在切割的过程中可能会导致切割尺寸不稳,导致切割失败的问题。
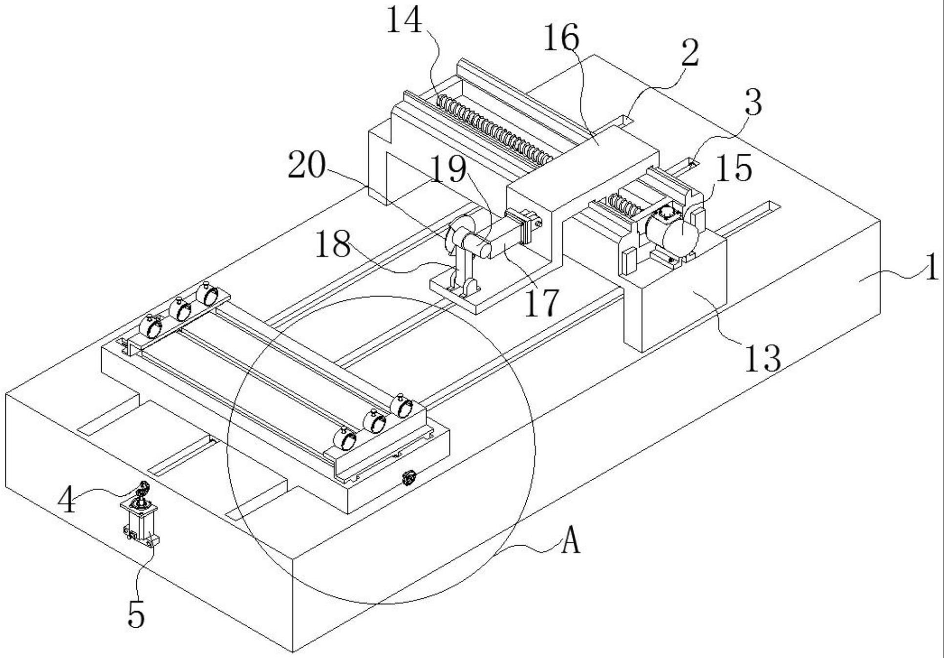
6.为解决上述技术问题,本实用新型提供的:一种具有换刀机构的纸管午夜免费福利,包括定位板,所述定位板上表面两侧均开设有卡槽,所述定位板上表面中间位置的内部通过轴承转动安装有螺纹杆,所述定位板的外壁固定有第一电机,所述第一电机输出轴的外部和螺纹杆的一端外部均固定有伞齿轮,两个所述伞齿轮之间为啮合连接,所述定位板的通过两个所述卡槽滑动安装有移动板,所述移动板与螺纹杆之间为螺纹连接,所述移动板的上表面两侧均开设有定位槽,所述移动板的上表面两侧均通过定位槽滑动安装有定位架,所述移动板上表面中间位置的内部通过轴承转动安装有正反螺杆,且正反螺杆分别与两个所述定位架正、反螺牙连接,所述定位架的上表面固定有夹持圆环,所述夹持圆环的上表面内部螺纹连接有夹持螺杆,所述夹持螺杆的下表面通过轴承转动安装有半圆弧。
7.优选的,所述定位板的上表面固定有切割架,所述切割架的内部通过轴承转动安装有定位螺杆,所述切割架的上表面固定有第二电机。
8.优选的,所述第二电机的输出轴与定位螺杆固定连接,所述切割架的上表面滑动安装有调节板。
9.优选的,所述调节板与定位螺杆螺纹连接,所述调节板的外壁转动安装有气缸。
10.优选的,所述调节板的上表面转动安装有支撑杆,所述气缸的输出轴与支撑杆之间转动连接。
11.优选的,所述支撑杆的外壁固定有第三电机,所述第三电机的输出轴的外部通过螺栓固定有切割刀片。
12.与相关技术相比较,本实用新型提供的一种具有换刀机构的纸管午夜免费福利具有如下
有益效果:
13.本实用新型的有益效果为:使用者将纸管放置与两个夹持圆环的内部,之后使用者通过转动夹持螺杆,夹持螺杆转动后半圆弧会进行下移对纸管进行夹持固定,之后使用者通过启动第一电机,第一电机转动后通过螺纹杆带动移动板进行平移当移动板上表面第一个纸管到达切割刀片的下方后使用者通过启动气缸,气缸启动后输出轴向前延伸带动支撑杆进行圆弧转动在通过切割刀片对纸管进行切割,之后在进行启动第一电机对第二根纸管进行切割,直至对第三根纸管切割结束后第一电机反转移动板回到起始点使用者拧松夹持螺杆将纸管取下,在将纸管安装在两个夹持圆环的内部时,使用者可以通过转动正反螺杆,正反螺杆转动后通过和两个定位架之间的正反螺牙连接可以对其间距进行调节,方便使用者对不同长度的纸管进行切割,在需要进行换刀时使用者只需将固定切割刀片的螺栓拧下即可进行更换刀片。
附图说明
14.图1为本实用新型提供的一种具有换刀机构的纸管午夜免费福利的一种较佳实施例的结构示意图;
15.图2为图1所示a处放大结构示意图;
16.图3为图1所示切割架与调节板连接结构示意图。
17.图中:1、定位板;2、卡槽;3、螺纹杆;4、伞齿轮;5、第一电机;6、移动板;7、正反螺杆;8、定位架;9、夹持圆环;10、半圆弧;11、夹持螺杆;12、定位槽;13、切割架;14、定位螺杆;15、第二电机;16、调节板;17、气缸;18、支撑杆;19、第三电机;20、切割刀片。
具体实施方式
18.下面结合附图和实施方式对本实用新型作进一步说明。
19.请结合参阅图1、图2和图3,其中图1为本实用新型提供的一种具有换刀机构的纸管午夜免费福利的一种较佳实施例的结构示意图;图2为图1所示a处放大结构示意图;图3为图1所示切割架与调节板连接结构示意图。一种具有换刀机构的纸管午夜免费福利,包括定位板1,定位板1上表面两侧均开设有卡槽2,定位板1上表面中间位置的内部通过轴承转动安装有螺纹杆3,定位板1的外壁固定有第一电机5,第一电机5输出轴的外部和螺纹杆3的一端外部均固定有伞齿轮4,两个伞齿轮4之间为啮合连接,定位板1的通过两个卡槽2滑动安装有移动板6,移动板6与螺纹杆3之间为螺纹连接,移动板6的上表面两侧均开设有定位槽12,移动板6的上表面两侧均通过定位槽12滑动安装有定位架8,移动板6上表面中间位置的内部通过轴承转动安装有正反螺杆7,且正反螺杆7分别与两个定位架8正、反螺牙连接,定位架8的上表面固定有夹持圆环9,夹持圆环9的上表面内部螺纹连接有夹持螺杆11,夹持螺杆11的下表面通过轴承转动安装有半圆弧10。
20.定位板1的上表面固定有切割架13,切割架13的内部通过轴承转动安装有定位螺杆14,切割架13的上表面固定有第二电机15。
21.第二电机15的输出轴与定位螺杆14固定连接,切割架13的上表面滑动安装有调节板16。
22.调节板16与定位螺杆14螺纹连接,调节板16的外壁转动安装有气缸17。
23.调节板16的上表面转动安装有支撑杆18,气缸17的输出轴与支撑杆18之间转动连接。
24.支撑杆18的外壁固定有第三电机19,第三电机19的输出轴的外部通过螺栓固定有切割刀片20,在切割的过程中使用者还可以启动第二电机15,通过第二电机15带动定位螺杆14进行转动,而定位螺杆14与调节板16螺纹连接因此可以带动其调节位置,方便对纸管的不同位置进行切割。
25.本实用新型提供的一种具有换刀机构的纸管午夜免费福利的工作原理如下;
26.第一步:使用者将纸管放置与两个夹持圆环9的内部,之后使用者通过转动夹持螺杆11,夹持螺杆11转动后半圆弧10会进行下移对纸管进行夹持固定,之后使用者通过启动第一电机5,第一电机5转动后通过螺纹杆3带动移动板6进行平移当移动板6上表面第一个纸管到达切割刀片20的下方后使用者通过启动气缸17,气缸17启动后输出轴向前延伸带动支撑杆18进行圆弧转动在通过切割刀片20对纸管进行切割,之后在进行启动第一电机5对第二根纸管进行切割,直至对第三根纸管切割结束后第一电机5反转移动板6回到起始点使用者拧松夹持螺杆11将纸管取下,在将纸管安装在两个夹持圆环9的内部时,使用者可以通过转动正反螺杆7,正反螺杆7转动后通过和两个定位架8之间的正反螺牙连接可以对其间距进行调节,方便使用者对不同长度的纸管进行切割。
27.第二步:而在切割的过程中使用者还可以启动第二电机15,通过第二电机15带动定位螺杆14进行转动,而定位螺杆14与调节板16螺纹连接因此可以带动其调节位置,方便对纸管的不同位置进行切割。
28.与相关技术相比较,本实用新型提供的一种具有换刀机构的纸管午夜免费福利具有如下有益效果:使用者将纸管放置与两个夹持圆环9的内部,之后使用者通过转动夹持螺杆11,夹持螺杆11转动后半圆弧10会进行下移对纸管进行夹持固定,之后使用者通过启动第一电机5,第一电机5转动后通过螺纹杆3带动移动板6进行平移当移动板6上表面第一个纸管到达切割刀片20的下方后使用者通过启动气缸17,气缸17启动后输出轴向前延伸带动支撑杆18进行圆弧转动在通过切割刀片20对纸管进行切割,之后在进行启动第一电机5对第二根纸管进行切割,直至对第三根纸管切割结束后第一电机5反转移动板6回到起始点使用者拧松夹持螺杆11将纸管取下,在将纸管安装在两个夹持圆环9的内部时,使用者可以通过转动正反螺杆7,正反螺杆7转动后通过和两个定位架8之间的正反螺牙连接可以对其间距进行调节,方便使用者对不同长度的纸管进行切割。
29.而在切割的过程中使用者还可以启动第二电机15,通过第二电机15带动定位螺杆14进行转动,而定位螺杆14与调节板16螺纹连接因此可以带动其调节位置,方便对纸管的不同位置进行切割。
30.以上所述仅为本实用新型的实施例,并非因此限制本实用新型的专利范围,凡是利用本实用新型说明书及附图内容所作的等效结构或等效流程变换,或直接或间接运用在其它相关的技术领域,均同理包括在本实用新型的专利保护范围内。
技术特征:
1.一种具有换刀机构的纸管午夜免费福利,包括定位板(1),其特征在于,所述定位板(1)上表面两侧均开设有卡槽(2),所述定位板(1)上表面中间位置的内部通过轴承转动安装有螺纹杆(3),所述定位板(1)的外壁固定有第一电机(5),所述第一电机(5)输出轴的外部和螺纹杆(3)的一端外部均固定有伞齿轮(4),两个所述伞齿轮(4)之间为啮合连接,所述定位板(1)的通过两个所述卡槽(2)滑动安装有移动板(6),所述移动板(6)与螺纹杆(3)之间为螺纹连接,所述移动板(6)的上表面两侧均开设有定位槽(12),所述移动板(6)的上表面两侧均通过定位槽(12)滑动安装有定位架(8),所述移动板(6)上表面中间位置的内部通过轴承转动安装有正反螺杆(7),且正反螺杆(7)分别与两个所述定位架(8)正、反螺牙连接,所述定位架(8)的上表面固定有夹持圆环(9),所述夹持圆环(9)的上表面内部螺纹连接有夹持螺杆(11),所述夹持螺杆(11)的下表面通过轴承转动安装有半圆弧(10)。2.根据权利要求1所述的一种具有换刀机构的纸管午夜免费福利,其特征在于,所述定位板(1)的上表面固定有切割架(13),所述切割架(13)的内部通过轴承转动安装有定位螺杆(14),所述切割架(13)的上表面固定有第二电机(15)。3.根据权利要求2所述的一种具有换刀机构的纸管午夜免费福利,其特征在于,所述第二电机(15)的输出轴与定位螺杆(14)固定连接,所述切割架(13)的上表面滑动安装有调节板(16)。4.根据权利要求3所述的一种具有换刀机构的纸管午夜免费福利,其特征在于,所述调节板(16)与定位螺杆(14)螺纹连接,所述调节板(16)的外壁转动安装有气缸(17)。5.根据权利要求4所述的一种具有换刀机构的纸管午夜免费福利,其特征在于,所述调节板(16)的上表面转动安装有支撑杆(18),所述气缸(17)的输出轴与支撑杆(18)之间转动连接。6.根据权利要求5所述的一种具有换刀机构的纸管午夜免费福利,其特征在于,所述支撑杆(18)的外壁固定有第三电机(19),所述第三电机(19)的输出轴的外部通过螺栓固定有切割刀片(20)。
技术总结
本实用新型提供一种具有换刀机构的纸管午夜免费福利,包括定位板,所述定位板上表面两侧均开设有卡槽,所述定位板上表面中间位置的内部通过轴承转动安装有螺纹杆,所述定位板的外壁固定有第一电机,所述第一电机输出轴的外部和螺纹杆的一端外部均固定有伞齿轮,两个所述伞齿轮之间为啮合连接,所述定位板的通过两个所述卡槽滑动安装有移动板,所述移动板与螺纹杆之间为螺纹连接。本实用新型提供的具有换刀机构的纸管午夜免费福利在将纸管安装在两个夹持圆环的内部时,使用者可以通过转动正反螺杆,正反螺杆转动后通过和两个定位架之间的正反螺牙连接可以对其间距进行调节,方便使用者对不同长度的纸管进行切割。长度的纸管进行切割。长度的纸管进行切割。
技术研发人员:林玉才 刘国华 林发森
受保护的技术使用者:青岛华鑫同宇包装有限公司
技术研发日:2023.04.17
技术公布日:2023/7/19