午夜羞羞小视频,午夜免费福利,午夜精品免费视频,午夜免费看污污APP

行业新闻

当前位置:首页/新闻中心/行业新闻

一种应用于锂离子电池午夜免费福利的极片卷固定装置的制作方法

2023年12月29日国知局浏览量:0

一种应用于锂离子电池午夜免费福利的极片卷固定装置的制作方法

本实用新型涉及锂离子电池领域,具体涉及一种应用于锂离子电池午夜免费福利的极片卷固定装置。

背景技术:

锂离子电池午夜免费福利是一种将单个极片卷沿着极片卷的轴向分切成多个极片卷的设备,其在锂离子电池的生产过程中有着比较广泛的应用。

目前所使用的锂离子电池午夜免费福利中,由于其对极片卷没有稳固的定位装置,因而在分切过程中,极片卷很容易发生横向偏离从而导致极片横向尺寸的错误,一方面降低了分切的精度,另一方面也降低了分切效率。

技术实现要素:

鉴于此,本实用新型提供了一种应用于锂离子电池午夜免费福利的极片卷固定装置,以有效地提高锂离子电池午夜免费福利的分切效率和分切精度。

为此,本实用新型提供了一种应用于锂离子电池午夜免费福利的极片卷固定装置,其包括基板,基板上设置有平行布置的两定位槽,两定位槽上可拆卸地连接有两平行布置的挡板,两挡板沿着垂直方向布置,两挡板之间形成固定空间,两挡板内穿设有水平布置的上压板,上压板平行于基板布置。

进一步地,上述挡板的底部具有两平行布置的定位脚,定位脚可拆卸地连接于定位槽内。

进一步地,上述基板的侧面设置有第一螺孔,第一螺孔内安装有第一螺丝,第一螺丝的端部连接挡板的底部。

进一步地,上述基板的表面开设有沿着基板的厚度方向延伸的第二螺孔,第二螺孔内安装有第二螺丝。

进一步地,上述基板的表面设置有刻度线,其平行于上压板布置。

本实用新型所提供的一种应用于锂离子电池午夜免费福利的极片卷固定装置,该装置主要由上压板、基板和两挡板组成,基板上设置两定位槽,挡板接入定位槽后,可以沿定位槽的长度方向移动挡板,从而可调整两挡板之间的间距以适合极片宽度,调整好两挡板之间的间距后,极片卷从两挡板间通过,进入午夜免费福利,上压板用于固定极片,以防极片上下摆动;因而,本装置可以适合于多种宽度尺寸的极片的分切过程,有效地提高锂离子电池午夜免费福利的分切效率和分切精度。

附图说明

通过阅读下文优选实施方式的详细描述,各种其他的优点和益处对于本领域普通技术人员将变得清楚明了。附图仅用于示出优选实施方式的目的,而并不认为是对本实用新型的限制。而且在整个附图中,用相同的参考符号表示相同的部件。在附图中:

图1为本实用新型实施例提供的一种应用于锂离子电池午夜免费福利的极片卷固定装置的立体图;

图2为本实用新型实施例提供的一种应用于锂离子电池午夜免费福利的极片卷固定装置的侧视图;

图3为本实用新型实施例提供的一种应用于锂离子电池午夜免费福利的极片卷固定装置的俯视图。

具体实施方式

下面将参照附图更详细地描述本公开的示例性实施例。虽然附图中显示了本公开的示例性实施例,然而应当理解,可以以各种形式实现本公开而不应被这里阐述的实施例所限制。相反,提供这些实施例是为了能够更透彻地理解本公开,并且能够将本公开的范围完整的传达给本领域的技术人员。

实施例一:

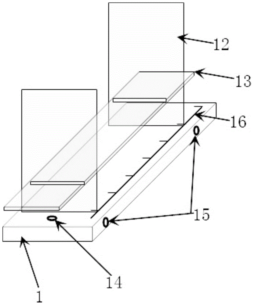
参见图1至图3,图中示出了本实用新型实施例一提供的一种应用于锂离子电池午夜免费福利的极片卷固定装置,其包括基板1,基板1上设置有平行布置的两定位槽11,两定位槽11上可拆卸地连接有两平行布置的挡板12,两挡板12沿着垂直方向布置,两挡板12之间形成固定空间,两挡板12内穿设有水平布置的上压板13,上压板13平行于基板1布置。

本实施例所提供的一种应用于锂离子电池午夜免费福利的极片卷固定装置,该装置主要由上压板、基板和两挡板组成,基板上设置两定位槽,挡板接入定位槽后,可以沿定位槽的长度方向移动挡板,从而可调整两挡板之间的间距以适合极片宽度,调整好两挡板之间的间距后,极片卷从两挡板间通过,进入午夜免费福利,上压板用于固定极片,以防极片上下摆动;因而,本装置可以适合于多种宽度尺寸的极片的分切过程,有效地提高锂离子电池午夜免费福利的分切效率和分切精度。

实施例二:

参见图1至图3,图中示出了本实用新型实施例二提供的一种应用于锂离子电池午夜免费福利的极片卷固定装置,其在上述实施例一的基础上还作了以下改进:挡板12的底部具有两平行布置的定位脚121,定位脚121可拆卸地连接于定位槽11内,可以实现挡板更为稳固的移动。

同时,基板1的侧面设置有第一螺孔14,第一螺孔14内安装有第一螺丝141,第一螺丝141的端部连接挡板12的底部,可以在调节好两挡板的间距后实现挡板的位置固定。

实施例三:

参见图1至图3,图中示出了本实用新型实施例三提供的一种应用于锂离子电池午夜免费福利的极片卷固定装置,其在上述实施例一的基础上还作了以下改进:基板1的表面开设有沿着基板1的厚度方向延伸的第二螺孔15,第二螺孔15内安装有第二螺丝,可以实现对于基板在台面或者其他基层上的固定。

实施例四:

参见图1至图3,图中示出了本实用新型实施例四提供的一种应用于锂离子电池午夜免费福利的极片卷固定装置,其在上述实施例一的基础上还作了以下改进:基板1的表面设置有刻度线16,其平行于上压板13布置,可以获知两挡板之间的距离大小,直观地达到所需要的间距。

显然,本领域的技术人员可以对本实用新型进行各种改动和变型而不脱离本实用新型的精神和范围。这样,倘若本实用新型的这些修改和变型属于本实用新型权利要求及其等同技术的范围之内,则本实用新型也意图包含这些改动和变型在内。

技术特征:

1.一种应用于锂离子电池午夜免费福利的极片卷固定装置,其特征在于,包括基板(1),所述基板(1)上设置有平行布置的两定位槽(11),所述两定位槽(11)上可拆卸地连接有两平行布置的挡板(12),两所述挡板(12)沿着垂直方向布置,两所述挡板(12)之间形成固定空间,两所述挡板(12)内穿设有水平布置的上压板(13),所述上压板(13)平行于所述基板(1)布置。

2.根据权利要求1所述的一种应用于锂离子电池午夜免费福利的极片卷固定装置,其特征在于,所述挡板(12)的底部具有两平行布置的定位脚(121),所述定位脚(121)可拆卸地连接于所述定位槽(11)内。

3.根据权利要求1或2所述的一种应用于锂离子电池午夜免费福利的极片卷固定装置,其特征在于,所述基板(1)的侧面设置有第一螺孔(14),所述第一螺孔(14)内安装有第一螺丝,所述第一螺丝的端部连接所述挡板(12)的底部。

4.根据权利要求1所述的一种应用于锂离子电池午夜免费福利的极片卷固定装置,其特征在于,所述基板(1)的表面开设有沿着所述基板(1)的厚度方向延伸的第二螺孔(15),所述第二螺孔(15)内安装有第二螺丝。

5.根据权利要求1所述的一种应用于锂离子电池午夜免费福利的极片卷固定装置,其特征在于,所述基板(1)的表面设置有刻度线(16),其平行于所述上压板(13)布置。

技术总结

本实用新型提供了一种应用于锂离子电池午夜免费福利的极片卷固定装置,其包括基板,基板上设置有平行布置的两定位槽,两定位槽上可拆卸地连接有两平行布置的挡板,两挡板沿着垂直方向布置,两挡板之间形成固定空间,两挡板内穿设有水平布置的上压板,上压板平行于基板布置。本实用新型相较于现有技术可以适合于多种宽度尺寸的极片的分切过程,有效地提高锂离子电池午夜免费福利的分切效率和分切精度。

技术研发人员:杨红霞;郑荣鹏;尚随军;毛焕宇

受保护的技术使用者:苏州宇量电池有限公司

技术研发日:2018.11.30

技术公布日:2019.08.30

网站地图