午夜羞羞小视频,午夜免费福利,午夜精品免费视频,午夜免费看污污APP

行业新闻

当前位置:首页/新闻中心/行业新闻

一种纸管加工用精切机的制作方法

2023年12月29日国知局浏览量:0

一种纸管加工用精切机的制作方法

本实用新型涉及纸管加工技术领域,特别是涉及一种纸管加工用精切机。

背景技术:

纸管是一种纸质的竖管,常用于纱线的收卷,薄膜的收卷以及纸张的收卷等,而为了方便按照一定的规格对目标物进行收卷,通常需要对纸管进行切割剪裁加工,故需要使用到精切机。

现目前纸管加工用精切机,纸管在通过切割轮进行切断时,需要将纸管进行按压住,以防止纸管产生位置偏移,由于按压力度难以控制,导致纸管容易被压扁变形,影响切割后的质量,而且纸管切断后直接掉在地面上,也容易导致纸管摔坏。

技术实现要素:

本实用新型提供了一种纸管加工用精切机,以解决上述背景技术提出的纸管按压时易被压扁变形,影响质量,且纸管掉在底面上移摔坏的问题。

为了解决现有技术问题,本实用新型公开了一种纸管加工用精切机,包括底座:

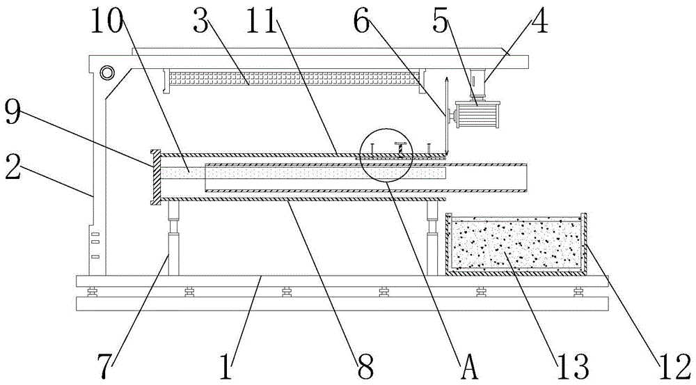
所述底座上端左侧固定连接有l型支架,且所述l型支架下端右侧固定连接有液压伸缩轴,所述液压伸缩轴下端固定连接有转动电机,且所述转动电机左端转动连接有切割轮,所述底座上端且位于所述l型支架的右侧固定连接有呈左右分布的支柱,且两根所述支柱上端之间固定连接有下支板,所述下支板左侧固定连接有固定板,且所述固定板右侧上端固定连接有上支板,所述固定板右侧且位于所述上支板和所述下支板之间固定连接有套管,所述上支板下端右侧且位于所述套管的上方设有夹板,且所述夹板上端中部转动连接有锁紧杆,所述锁紧杆上端贯穿出所述上支板,所述底座上端且位于所述下支板的右下方放置有接料凹盒,且所述接料凹盒内部相接有缓冲海绵。

进一步的,所述l型支架下端且位于所述液压伸缩轴的左端固定连接有照明灯,且所述照明灯与外部电源电性连接。

进一步的,所述套管、上支板及下支板的长度一致,且所述套管靠近于所述上支板。

进一步的,所述锁紧杆与所述上支板螺纹连接,且所述夹板上端左右两侧均固定连接有限位杆,所述限位杆上端贯穿过所述上支板,且所述限位杆与所述上支板滑动连接。

进一步的,所述缓冲海绵上端前后部均开有斜槽,所述缓冲海绵中间部向上凸起且呈梯形状。

进一步的,所述切割轮位于所述上支板的右上方,且所述转动电机与外部电源电性连接。

与现有技术相比,本实用新型实现的有益效果:

通过将纸管套接在套管的外围,调节好切割位置后,然后向下拧紧锁紧杆,使夹板及套管对纸管进行夹紧,防止纸管滑动,使切割轮在切断纸管时更加稳定,而且无需从外部挤压纸管,防止了纸管被挤压变形的情况发生,保证了切割后的质量,并结合缓冲海绵对切断后的纸管接住,通过缓冲海绵的弹性,避免纸管直接摔在地上,以免纸管摔坏。

附图说明

图1为本实用新型的整体结构示意图;

图2为本实用新型的a局部放大结构示意图;

图3为本实用新型的接料凹盒内部侧视结构示意图。

图1-3中:底座1、l型支架2、照明灯3、液压伸缩轴4、转动电机5、切割轮6、支柱7、下支板8、固定板9、套管10、上支板11、接料凹盒12、缓冲海绵13、斜槽14、锁紧杆15、限位杆16、夹板17。

具体实施方式

以下由特定的具体实施例说明本实用新型的实施方式,熟悉此技术的人士可由本说明书所揭露的内容轻易地了解本实用新型的其他优点及功效。

请参阅图1至图3:

一种纸管加工用精切机,包括底座1:

所述底座1上端左侧固定连接有l型支架2,且所述l型支架2下端右侧固定连接有液压伸缩轴4,所述液压伸缩轴4下端固定连接有转动电机5,且所述转动电机5左端转动连接有切割轮6,所述底座1上端且位于所述l型支架2的右侧固定连接有呈左右分布的支柱7,且两根所述支柱7上端之间固定连接有下支板8,所述下支板8左侧固定连接有固定板9,且所述固定板9右侧上端固定连接有上支板11,所述固定板9右侧且位于所述上支板11和所述下支板8之间固定连接有套管10,所述上支板11下端右侧且位于所述套管10的上方设有夹板17,且所述夹板17上端中部转动连接有锁紧杆15,所述锁紧杆15上端贯穿出所述上支板11,所述底座1上端且位于所述下支板8的右下方放置有接料凹盒12,且所述接料凹盒12内部相接有缓冲海绵13,所述切割轮6位于所述上支板11的右上方,且所述转动电机5与外部电源电性连接;

具体的,通过将纸管套接在套管10的外围,调节好切割位置后,然后向下拧紧锁紧杆15,使夹板17及套管10对纸管进行夹紧,防止纸管滑动,然后使液压伸缩轴4向下伸长,转动电机5带动切割轮6对纸管进行切割,使切割轮6在切断纸管时更加稳定,而且无需从外部挤压纸管,防止了纸管被挤压变形的情况发生,保证了切割后的质量,当纸管切割完毕后,纸管掉入接料凹盒12内,并结合缓冲海绵13对切断后的纸管接住,通过缓冲海绵13的弹性,避免纸管直接摔在地上,以免纸管摔坏。

所述l型支架2下端且位于所述液压伸缩轴4的左端固定连接有照明灯3,且所述照明灯3与外部电源电性连接;

进一步的,照明灯3提高照明效果,利于在灯光昏暗处进行切割工作。

所述套管10、上支板11及下支板8的长度一致,且所述套管10靠近于所述上支板11;

进一步的,由于套管10、上支板11及下支板8长度一致,保证了切割后的平整性,且套管10靠近上支板11,因此利于使多种内径的纸管套接在套管10的外围,保证了适用范围。

所述锁紧杆15与所述上支板11螺纹连接,且所述夹板17上端左右两侧均固定连接有限位杆16,所述限位杆16上端贯穿过所述上支板11,且所述限位杆16与所述上支板11滑动连接;

进一步的,通过当夹板17上下活动时,限位杆16对夹板17进行限位,防止夹板17摆动而产生位置偏移的情况发生,保证了夹板17上下活动时的平稳性。

所述缓冲海绵13上端前后部均开有斜槽14,所述缓冲海绵13中间部向上凸起且呈梯形状;

进一步的,纸管掉在缓冲海绵13上后,由于缓冲海绵13中间部向上凸起且呈梯形状,因此纸管会先掉在凸起部,然后沿着斜面进入斜槽14进行保存,以免纸管掉出接料凹盒12。

上述实施例仅例示性说明本实用新型的原理及其功效,而非用于限制本实用新型。任何熟悉此技术的人士皆可在不违背本实用新型的精神及范畴下,对上述实施例进行修饰或改变。因此,举凡所属技术领域中具有通常知识者在未脱离本实用新型所揭示的精神与技术思想下所完成的一切等效修饰或改变,仍应由本实用新型的权利要求所涵盖。

技术特征:

1.一种纸管加工用精切机,包括底座(1),其特征在于:

所述底座(1)上端左侧固定连接有l型支架(2),且所述l型支架(2)下端右侧固定连接有液压伸缩轴(4),所述液压伸缩轴(4)下端固定连接有转动电机(5),且所述转动电机(5)左端转动连接有切割轮(6),所述底座(1)上端且位于所述l型支架(2)的右侧固定连接有呈左右分布的支柱(7),且两根所述支柱(7)上端之间固定连接有下支板(8),所述下支板(8)左侧固定连接有固定板(9),且所述固定板(9)右侧上端固定连接有上支板(11),所述固定板(9)右侧且位于所述上支板(11)和所述下支板(8)之间固定连接有套管(10),所述上支板(11)下端右侧且位于所述套管(10)的上方设有夹板(17),且所述夹板(17)上端中部转动连接有锁紧杆(15),所述锁紧杆(15)上端贯穿出所述上支板(11),所述底座(1)上端且位于所述下支板(8)的右下方放置有接料凹盒(12),且所述接料凹盒(12)内部相接有缓冲海绵(13)。

2.根据权利要求1所述的一种纸管加工用精切机,其特征在于:所述l型支架(2)下端且位于所述液压伸缩轴(4)的左端固定连接有照明灯(3),且所述照明灯(3)与外部电源电性连接。

3.根据权利要求1所述的一种纸管加工用精切机,其特征在于:所述套管(10)、上支板(11)及下支板(8)的长度一致,且所述套管(10)靠近于所述上支板(11)。

4.根据权利要求1所述的一种纸管加工用精切机,其特征在于:所述锁紧杆(15)与所述上支板(11)螺纹连接,且所述夹板(17)上端左右两侧均固定连接有限位杆(16),所述限位杆(16)上端贯穿过所述上支板(11),且所述限位杆(16)与所述上支板(11)滑动连接。

5.根据权利要求1所述的一种纸管加工用精切机,其特征在于:所述缓冲海绵(13)上端前后部均开有斜槽(14),所述缓冲海绵(13)中间部向上凸起且呈梯形状。

6.根据权利要求1所述的一种纸管加工用精切机,其特征在于:所述切割轮(6)位于所述上支板(11)的右上方,且所述转动电机(5)与外部电源电性连接。

技术总结

本实用新型涉及纸管加工技术领域,特别是涉及一种纸管加工用精切机,包括底座,底座上端左侧固定连接有L型支架,且L型支架下端右侧固定连接有液压伸缩轴,液压伸缩轴下端固定连接有转动电机,且转动电机左端转动连接有切割轮,底座上端且位于L型支架的右侧固定连接有呈左右分布的支柱,且两根支柱上端之间固定连接有下支板,下支板左侧固定连接有固定板;通过将纸管套接在套管的外围,调节好切割位置后,然后向下拧紧锁紧杆,使夹板及套管对纸管进行夹紧,防止纸管滑动,使切割轮在切断纸管时更加稳定,而且无需从外部挤压纸管,防止了纸管被挤压变形的情况发生,保证了切割后的质量。

技术研发人员:顾益明

受保护的技术使用者:太仓市协盛纸业有限公司

技术研发日:2020.09.24

技术公布日:2021.08.06

网站地图