服务热线
180-5003-0233

本实用新型涉及一种精切机,具体为一种用于纸管加工的快速精切机。
背景技术:
纸管在现在的工业中运用比较广泛,针对于各个领域的需要需将圆管裁剪成不同的长度,而且根据不同的需求对裁剪的截面光滑度的要求也不一样,现有技术中通常是有人工使用单片圆刀切割的方式进行切割。
现有专利(公开号:cn209335722u)一种用于纸管加工的快速精切机,包括操作台,所述操作台的顶部固定安装有精切机本体,所述操作台的顶部固定安装有支撑块,所述支撑块上转动安装有转轴,所述转轴的一端固定安装有转筒,所述操作台上开设有第一腔体,所述第一腔体的底部内壁上固定安装有第一伺服电机,所述第一伺服电机的输出轴上固定安装有第一齿轮,所述第一腔体的底部内壁上固定安装有两个固定块,两个固定块上转动安装有同一个螺杆,所述螺杆的一端贯穿对应的固定块并固定安装有第二齿轮,本实用新型结构简单,使用方便,可以快速的对纸管进行切割,操作容易,降低了工作人员的劳动量,节约时间。
在实现本实用新型的过程中,发明人发现现有技术中至少存在如下问题没有得到解决:纸管在被切割时,表面容易受力凹陷,影响纸管的质量。
技术实现要素:
本实用新型的目的在于提供一种用于纸管加工的快速精切机,解决了背景技术中所提出的问题。
为实现上述目的,本实用新型提供如下技术方案:一种用于纸管加工的快速精切机,包括底座;
所述底座顶端的左右两侧均固定安装有支架,两个所述支架的侧面横截面均呈倒“凹”字型,两个所述支架水平方向朝外一侧的上侧均设置有第一转动电机,两个所述第一转动电机的电机轴轴头均固定安装有轴杆,两个所述轴杆的外圈均等距固定安装有若干套管,若干所述套管左右两侧的上下两侧均通过活页与电磁块a连接,两个所述轴杆上与若干电磁块a相对应的位置上均固定安装有电磁块b且电磁块b与电磁块a的极性相反;
两个所述支架的顶端固定安装有安装架,所述安装架的顶侧中端固定安装有推杆电机,所述推杆电机的电机轴贯穿于安装架水平方向的中端且轴头水平安装有安装板,所述安装板的前侧固定安装有若干切割机本体。
作为本实用新型的一种优选实施方式,两个所述支架的前侧上端均固定安装有第二转动电机,两个所述第二转动电机的电机轴均贯穿于对应支架的前侧且与对应第一转动电机的前侧固定连接。
作为本实用新型的一种优选实施方式,所述底座的顶侧开设有收纳槽。
作为本实用新型的一种优选实施方式,所述底座的左侧固定安装有控制器,所述控制器经外部电源与两个第一转动电机、两个第二转动电机、若干电磁块a、若干电磁块b、推杆电机和若干切割机本体电性连接。
作为本实用新型的一种优选实施方式,若干所述电磁块a的侧面横截面均呈半圆环状。
与现有技术相比,本实用新型的有益效果如下:
1.本实用新型一种用于纸管加工的快速精切机,由于若干套管左右两侧的上下两侧均通过活页与电磁块a连接,且两个轴杆上与若干电磁块a相对应的位置上均固定安装有电磁块b,便于切割纸管时,可通过启动若干电磁块a和若干电磁块b,将纸管支撑,从而在切割纸管时,可通过启动第一转动电机转动轴杆的同时,启动推杆电机和若干切割机本体对纸管进行切割,有效避免了纸管受力变形。
2.本实用新型一种用于纸管加工的快速精切机,由于两个支架的前侧上端均固定安装有第二转动电机,且两个第二转动电机的电机轴均贯穿于对应支架的前侧且与对应第一转动电机的前侧固定连接,便于切割完成后,通过启动第二转动电机将轴杆的朝内一端转至朝下,从而使得纸管落下。
3.本实用新型一种用于纸管加工的快速精切机,由于若干电磁块a的侧面横截面均呈半圆环状,便于使电磁块a与纸管本体完成贴合,从而提高支撑纸管的稳定性。
附图说明
通过阅读参照以下附图对非限制性实施例所作的详细描述,本实用新型的其它特征、目的和优点将会变得更明显:
图1为本实用新型一种用于纸管加工的快速精切机的主视图;
图2为本实用新型一种用于纸管加工的快速精切机的支架侧视图;
图3为本实用新型一种用于纸管加工的快速精切机的电路图;
图4为本实用新型一种用于纸管加工的快速精切机的电磁块a侧视图。
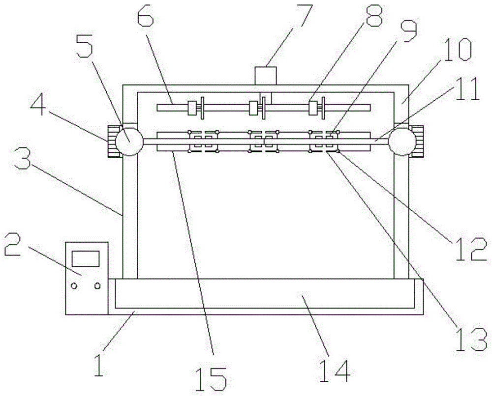
图中:底座1,控制器2,支架3,第一转动电机4,第二转动电机5,安装板6,推杆电机7,切割机本体8,电磁块b9,安装架10,轴杆11,活页12,电磁块a13,收纳槽14,套管15。
具体实施方式
为使本实用新型实现的技术手段、创作特征、达成目的与功效易于明白了解,下面结合具体实施方式,进一步阐述本实用新型。
在本实用新型的描述中,需要理解的是,术语“上”、“下”、“前”、“后”、“左”、“右”、“顶”、“底”、“内”、“外”等指示的方位或位置关系为基于附图所示的方位或位置关系,仅是为了便于描述本实用新型和简化描述,而不是指示或暗示所指的装置或元件必须具有特定的方位、以特定的方位构造和操作,因此不能理解为对本实用新型的限制。
请参阅图1-4,本实用新型提供一种技术方案:一种用于纸管加工的快速精切机,包括底座1;
所述底座1顶端的左右两侧均固定安装有支架3,两个所述支架3的侧面横截面均呈倒“凹”字型,两个所述支架3水平方向朝外一侧的上侧均设置有第一转动电机4,两个所述第一转动电机4的电机轴轴头均固定安装有轴杆11,两个所述轴杆11的外圈均等距固定安装有若干套管15,若干所述套管15左右两侧的上下两侧均通过活页12与电磁块a13连接,两个所述轴杆11上与若干电磁块a13相对应的位置上均固定安装有电磁块b9且电磁块b9与电磁块a13的极性相反;
两个所述支架3的顶端固定安装有安装架10,所述安装架10的顶侧中端固定安装有推杆电机7,所述推杆电机7的电机轴贯穿于安装架水平方向的中端且轴头水平安装有安装板6,所述安装板6的前侧固定安装有若干切割机本体8。
本实施例中(如图1和图2所示),由于若干套管15左右两侧的上下两侧均通过活页12与电磁块a13连接,且两个轴杆11上与若干电磁块a13相对应的位置上均固定安装有电磁块b9,便于切割纸管时,可通过启动若干电磁块a9和若干电磁块b13,将纸管支撑,从而在切割纸管时,可通过启动第一转动电机4转动轴杆11的同时,启动推杆电机7和若干切割机本体8对纸管进行切割,有效避免了纸管受力变形。
本实施例中(请参阅图1和图2),两个所述支架3的前侧上端均固定安装有第二转动电机5,两个所述第二转动电机5的电机轴均贯穿于对应支架3的前侧且与对应第一转动电机4的前侧固定连接,便于切割完成后,通过启动第二转动电机5将轴杆11的朝内一端转至朝下,从而使得纸管落下。
本实施例中(请参阅图1),所述底座1的顶侧开设有收纳槽14,便于收纳纸管。
本实施例中(请参阅图3),所述底座1的左侧固定安装有控制器2,所述控制器2经外部电源与两个第一转动电机4、两个第二转动电机5、若干电磁块a13、若干电磁块b9、推杆电机7和若干切割机本体8电性连接,便于开启电源。
本实施例中(请参阅图4),若干所述电磁块a13的侧面横截面均呈半圆环状,便于使电磁块a13与纸管本体完成贴合,从而提高支撑纸管的稳定性。
需要说明的是,本实用新型为一种用于纸管加工的快速精切机,包括底座1、控制器2、支架3、第一转动电机4、第二转动电机5、安装板6、推杆电机7、切割机本体8、电磁块b9、安装架10、轴杆11、活页12、电磁块a13、收纳槽14、套管15,部件均为通用标准件或本领域技术人员知晓的部件,其结构和原理都为本技术人员均可通过技术手册得知或通过常规实验方法获知,工作时,切割纸管时,可通过启动若干电磁块a9和若干电磁块b13,将纸管支撑,从而在切割纸管时,可通过启动第一转动电机4转动轴杆11的同时,启动推杆电机7和若干切割机本体8对纸管进行切割,有效避免了纸管受力变形,切割完成后,通过启动第二转动电机5将轴杆11的朝内一端转至朝下,从而使得纸管落到收纳槽14内即可。
以上显示和描述了本实用新型的基本原理和主要特征和本实用新型的优点,对于本领域技术人员而言,显然本实用新型不限于上述示范性实施例的细节,而且在不背离本实用新型的精神或基本特征的情况下,能够以其他的具体形式实现本实用新型。因此,无论从哪一点来看,均应将实施例看作是示范性的,而且是非限制性的,本实用新型的范围由所附权利要求而不是上述说明限定,因此旨在将落在权利要求的等同要件的含义和范围内的所有变化囊括在本实用新型内。不应将权利要求中的任何附图标记视为限制所涉及的权利要求。
此外,应当理解,虽然本说明书按照实施方式加以描述,但并非每个实施方式仅包含一个独立的技术方案,说明书的这种叙述方式仅仅是为清楚起见,本领域技术人员应当将说明书作为一个整体,各实施例中的技术方案也可以经适当组合,形成本领域技术人员可以理解的其他实施方式。
技术特征:
1.一种用于纸管加工的快速精切机,其特征在于,包括底座(1);
所述底座(1)顶端的左右两侧均固定安装有支架(3),两个所述支架(3)的侧面横截面均呈倒“凹”字型,两个所述支架(3)水平方向朝外一侧的上侧均设置有第一转动电机(4),两个所述第一转动电机(4)的电机轴轴头均固定安装有轴杆(11),两个所述轴杆(11)的外圈均等距固定安装有若干套管(15),若干所述套管(15)左右两侧的上下两侧均通过活页(12)与电磁块a(13)连接,两个所述轴杆(11)上与若干电磁块a(13)相对应的位置上均固定安装有电磁块b(9)且电磁块b(9)与电磁块a(13)的极性相反;
两个所述支架(3)的顶端固定安装有安装架(10),所述安装架(10)的顶侧中端固定安装有推杆电机(7),所述推杆电机(7)的电机轴贯穿于安装架水平方向的中端且轴头水平安装有安装板(6),所述安装板(6)的前侧固定安装有若干切割机本体(8)。
2.根据权利要求1所述的一种用于纸管加工的快速精切机,其特征在于:两个所述支架(3)的前侧上端均固定安装有第二转动电机(5),两个所述第二转动电机(5)的电机轴均贯穿于对应支架(3)的前侧且与对应第一转动电机(4)的前侧固定连接。
3.根据权利要求1所述的一种用于纸管加工的快速精切机,其特征在于:所述底座(1)的顶侧开设有收纳槽(14)。
4.根据权利要求1所述的一种用于纸管加工的快速精切机,其特征在于:所述底座(1)的左侧固定安装有控制器(2),所述控制器(2)经外部电源与两个第一转动电机(4)、两个第二转动电机(5)、若干电磁块a(13)、若干电磁块b(9)、推杆电机(7)和若干切割机本体(8)电性连接。
5.根据权利要求1所述的一种用于纸管加工的快速精切机,其特征在于:若干所述电磁块a(13)的侧面横截面均呈半圆环状。
技术总结
本实用新型公开了一种用于纸管加工的快速精切机,包括底座;所述底座顶端的左右两侧均固定安装有支架,两个所述支架的侧面横截面均呈倒“凹”字型,两个所述支架水平方向朝外一侧的上侧均设置有第一转动电机,两个所述第一转动电机的电机轴轴头均固定安装有轴杆,两个所述轴杆的外圈均等距固定安装有若干套管。本实用新型由于若干套管左右两侧的上下两侧均通过活页与电磁块a连接,便于切割纸管时,可通过启动若干电磁块a和若干电磁块b,将纸管支撑,从而在切割纸管时,可通过启动第一转动电机转动轴杆的同时,启动推杆电机和若干切割机本体对纸管进行切割,有效避免了纸管受力变形。
技术研发人员:张文艳;王志勇;梁振峰;刘雷
受保护的技术使用者:保定乐凯包装午夜精品免费视频有限公司
技术研发日:2019.11.22
技术公布日:2020.08.28