服务热线
180-5003-0233

本实用新型涉及精切机技术领域,尤其涉及一种全自动纸管数控精切机。
背景技术:
纸管精切机是斜卷机的配套设备,它的主要目的是将纸管进行二次精确切割以达到客户的满意。目前有两种比较主流的机型,一种是纯机械的行星式纸管精切机,另一种是采用伺服定位的自动纸管精切机。
目前市场上是机器都是单气缸运做带动卡盘旋转,用力大容易使拨叉断裂,使上下螺丝松动。市面上的卡盘容易松动不安全,市面的刹车电机惯性大容易损坏,不容易修复。市面上不是全自动的,工作效率低。
技术实现要素:
本实用新型的目的是为了解决现有技术中存在的缺点,而提出的一种全自动纸管数控精切机。
为了实现上述目的,本实用新型采用了如下技术方案:
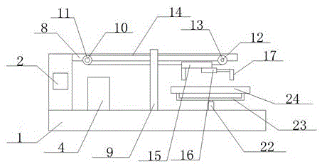
一种全自动纸管数控精切机,包括底座,所述底座的顶部固定安装有控制箱,且控制箱上安装有人机界面,所述控制箱的一侧安装有内胀管器,所述底座的顶部固定安装有切割刀台,且切割刀台的一侧滑动安装有l型杆,所述l型杆的一端固定安装有切割机,所述控制箱的一侧固定安装有顶架,所述顶架的一侧固定安装有电机,且电机的输出轴上固定套接有第一同步轮,所述顶架远离控制箱一端的一侧转动安装有转动杆,且转动杆上固定套接有第二同步轮,所述第一同步轮和第二同步轮之间套接有同一个小同步带,且小同步带上固定套接有连接套,所述连接套的底侧固定安装有第一气缸,且第一气缸的输出端和连接套的底侧均固定安装有u型上下料托板,所述u型上下料托板底部的两侧均滑动安装有托块,所述底座远离控制箱一端的顶部固定安装有第二气缸,且第二气缸的输出端固定安装有纸管架。
优选的,所述底座的顶部固定安装有伸缩气缸,且伸缩气缸的顶端固定安装在l型杆上。
优选的,所述底座的顶部固定安装有支撑架,且支撑架顶部靠近底座的一侧固定安装在顶架上。
优选的,两个托块的顶侧均开设有滑槽,且滑槽内滑动安装有滑块,滑块的顶侧固定安装在u型上下料托板上。
优选的,两个滑槽相互靠近的一侧内壁上均固定连接有弹簧的一端,且弹簧的另一端固定连接在滑块上。
优选的,所述纸管架的顶部固定安装有u型放料槽,且u型放料槽位于u型上下料托板的正下方。
本实用新型中,所述一种全自动纸管数控精切机首先打开第二气缸使其将纸管架顶起,然后纸管架将带着u型放料槽向上移动,此时u型放料槽上的纸管将挤压两个托块向相互远离的一侧移动,当纸管完全进入u型上下料托板内时,两个托块在弹簧的作用下复位并将纸管夹持住,然后再打开电机使其带动第一同步轮转动,然后再通过第二同步轮和小同步带使得连接套左右移动,从而将纸管套在磨具轴上,最后再经伸缩气缸带动切割机将其切割;
本实用新型解决了现有技术中存在的缺点,使得人们可以实现全自动纸管的切割,并且解决了刹车电机惯性太大和拨叉容易断裂的现象,满足了人们的需求。
附图说明
图1为本实用新型提出的一种全自动纸管数控精切机的正视结构示意图;
图2为本实用新型提出的一种全自动纸管数控精切机的u型上下料托板的侧视结构示意图;
图3为本实用新型提出的一种全自动纸管数控精切机的控制箱侧视结构示意图;
图4为本实用新型提出的一种全自动纸管数控精切机的底座局部侧视结构示意图。
图中:1底座、2人机界面、3内胀管器、4切割刀台、5l型杆、6切割机、7伸缩气缸、8顶架、9支撑架、10电机、11第一同步轮、12转动杆、13第二同步轮、14小同步带、15连接套、16第一气缸、17u型上下料托板、18托块、19滑槽、20滑块、21弹簧、22第二气缸、23纸管架、24u型放料槽。
具体实施方式
下面将结合本实用新型实施例中的附图,对本实用新型实施例中的技术方案进行清楚、完整地描述,显然,所描述的实施例仅仅是本实用新型一部分实施例,而不是全部的实施例。
实施例一
参照图1-4,一种全自动纸管数控精切机,包括底座1,底座1的顶部固定安装有控制箱,且控制箱上安装有人机界面2,控制箱的一侧安装有内胀管器3,底座1的顶部固定安装有切割刀台4,且切割刀台4的一侧滑动安装有l型杆5,l型杆5的一端固定安装有切割机6,控制箱的一侧固定安装有顶架8,顶架8的一侧固定安装有电机10,且电机10的输出轴上固定套接有第一同步轮11,顶架8远离控制箱一端的一侧转动安装有转动杆12,且转动杆12上固定套接有第二同步轮13,第一同步轮11和第二同步轮13之间套接有同一个小同步带14,且小同步带14上固定套接有连接套15,连接套15的底侧固定安装有第一气缸16,且第一气缸16的输出端和连接套15的底侧均固定安装有u型上下料托板17,u型上下料托板17底部的两侧均滑动安装有托块18,底座1远离控制箱一端的顶部固定安装有第二气缸22,且第二气缸22的输出端固定安装有纸管架23。
本实用新型中,底座1的顶部固定安装有伸缩气缸7,且伸缩气缸7的顶端固定安装在l型杆5上,通过伸缩气缸7带动l型杆5和切割机6移动,实现切割功能。
本实用新型中,底座1的顶部固定安装有支撑架9,且支撑架9顶部靠近底座1的一侧固定安装在顶架8上,支撑架9是对顶架8进行支撑。
本实用新型中,两个托块18的顶侧均开设有滑槽19,且滑槽19内滑动安装有滑块20,滑块20的顶侧固定安装在u型上下料托板17上,通过滑槽19和滑块20的相互配合使托块18更稳固地滑动。
本实用新型中,两个滑槽19相互靠近的一侧内壁上均固定连接有弹簧21的一端,且弹簧21的另一端固定连接在滑块20上,弹簧21是为了使托块18自动复位。
本实用新型中,纸管架23的顶部固定安装有u型放料槽24,且u型放料槽24位于u型上下料托板17的正下方。
实施例二
参照图1-4,一种全自动纸管数控精切机,包括底座1,底座1的顶部固定安装有控制箱,且控制箱上安装有人机界面2,控制箱的一侧安装有内胀管器3,底座1的顶部固定安装有切割刀台4,且切割刀台4的一侧滑动安装有l型杆5,l型杆5的一端固定安装有切割机6,控制箱的一侧固定安装有顶架8,顶架8的一侧固定安装有电机10,且电机10的输出轴上固定套接有第一同步轮11,顶架8远离控制箱一端的一侧转动安装有转动杆12,且转动杆12上固定套接有第二同步轮13,第一同步轮11和第二同步轮13之间套接有同一个小同步带14,且小同步带14上固定套接有连接套15,连接套15的底侧固定安装有第一气缸16,且第一气缸16的输出端和连接套15的底侧均固定安装有u型上下料托板17,u型上下料托板17底部的两侧均滑动安装有托块18,底座1远离控制箱一端的顶部固定安装有第二气缸22,且第二气缸22的输出端固定安装有纸管架23。
本实用新型中,底座1的顶部固定安装有伸缩气缸7,且伸缩气缸7的顶端固定安装在l型杆5上。
本实用新型中,底座1的顶部固定安装有支撑架9,且支撑架9顶部靠近底座1的一侧固定安装在顶架8上。
本实用新型中,两个托块18的顶侧均开设有滑槽19,且滑槽19内滑动安装有滑块20,滑块20的顶侧固定焊接在u型上下料托板17上。
本实用新型中,两个滑槽19相互靠近的一侧内壁上均固定焊接有弹簧21的一端,且弹簧21的另一端固定焊接在滑块20上。
本实用新型中,纸管架23的顶部固定焊接有u型放料槽24,且u型放料槽24位于u型上下料托板17的正下方。
本实用新型中,首先打开第二气缸22使其将纸管架23顶起,然后纸管架23将带着u型放料槽24向上移动,此时u型放料槽24上的纸管将挤压两个托块18向相互远离的一侧移动,当纸管完全进入u型上下料托板17内时,两个托块18在弹簧21的作用下复位并将纸管夹持住,然后再打开电机10使其带动第一同步轮11转动,然后再通过第二同步轮13和小同步带14使得连接套15左右移动,从而将纸管套在磨具轴上,最后再经伸缩气缸7带动切割机4将其切割。
以上所述,仅为本实用新型较佳的具体实施方式,但本实用新型的保护范围并不局限于此,任何熟悉本技术领域的技术人员在本实用新型揭露的技术范围内,根据本实用新型的技术方案及其实用新型构思加以等同替换或改变,都应涵盖在本实用新型的保护范围之内。
技术特征:
1.一种全自动纸管数控精切机,包括底座(1),其特征在于,所述底座(1)的顶部固定安装有控制箱,且控制箱上安装有人机界面(2),所述控制箱的一侧安装有内胀管器(3),所述底座(1)的顶部固定安装有切割刀台(4),且切割刀台(4)的一侧滑动安装有l型杆(5),所述l型杆(5)的一端固定安装有切割机(6),所述控制箱的一侧固定安装有顶架(8),所述顶架(8)的一侧固定安装有电机(10),且电机(10)的输出轴上固定套接有第一同步轮(11),所述顶架(8)远离控制箱一端的一侧转动安装有转动杆(12),且转动杆(12)上固定套接有第二同步轮(13),所述第一同步轮(11)和第二同步轮(13)之间套接有同一个小同步带(14),且小同步带(14)上固定套接有连接套(15),所述连接套(15)的底侧固定安装有第一气缸(16),且第一气缸(16)的输出端和连接套(15)的底侧均固定安装有u型上下料托板(17),所述u型上下料托板(17)底部的两侧均滑动安装有托块(18),所述底座(1)远离控制箱一端的顶部固定安装有第二气缸(22),且第二气缸(22)的输出端固定安装有纸管架(23)。
2.根据权利要求1所述的一种全自动纸管数控精切机,其特征在于,所述底座(1)的顶部固定安装有伸缩气缸(7),且伸缩气缸(7)的顶端固定安装在l型杆(5)上。
3.根据权利要求1所述的一种全自动纸管数控精切机,其特征在于,所述底座(1)的顶部固定安装有支撑架(9),且支撑架(9)顶部靠近底座(1)的一侧固定安装在顶架(8)上。
4.根据权利要求1所述的一种全自动纸管数控精切机,其特征在于,两个托块(18)的顶侧均开设有滑槽(19),且滑槽(19)内滑动安装有滑块(20),滑块(20)的顶侧固定安装在u型上下料托板(17)上。
5.根据权利要求4所述的一种全自动纸管数控精切机,其特征在于,两个滑槽(19)相互靠近的一侧内壁上均固定连接有弹簧(21)的一端,且弹簧(21)的另一端固定连接在滑块(20)上。
6.根据权利要求1所述的一种全自动纸管数控精切机,其特征在于,所述纸管架(23)的顶部固定安装有u型放料槽(24),且u型放料槽(24)位于u型上下料托板(17)的正下方。
技术总结
本实用新型属于精切机领域,尤其是一种全自动纸管数控精切机,针对现有的问题,现提出如下方案,其包括底座,所述底座的顶部固定安装有控制箱,且控制箱上安装有人机界面,所述控制箱的一侧安装有内胀管器,所述底座的顶部固定安装有切割刀台,且切割刀台的一侧滑动安装有L型杆,所述L型杆的一端固定安装有切割机,所述控制箱的一侧固定安装有顶架,所述顶架的一侧固定安装有电机,且电机的输出轴上固定套接有第一同步轮,本实用新型解决了现有技术中存在的缺点,使得人们可以实现全自动纸管的切割,并且解决了刹车电机惯性太大和拨叉容易断裂的现象,满足了人们的需求。
技术研发人员:范军国
受保护的技术使用者:范军国
技术研发日:2020.08.12
技术公布日:2021.03.19