服务热线
180-5003-0233

本实用新型涉及铝箔生产技术领域,具体为一种电子电工用铝箔午夜免费福利入口铝粉吸附装置。
背景技术:
铝箔是一种用金属铝直接压延成薄片的烫印午夜精品免费视频,其烫印效果与纯银箔烫印的效果相似,故又称假银箔。由于铝的质地柔软、延展性好,具有银白色的光泽,如果将压延后的薄片,用硅酸钠等物质裱在胶版纸上制成铝箔片,还可进行印刷。铝箔午夜免费福利是铝箔生产中的常用设备,它使用位于进料入口的刀架上的刀片将连续的进料铝箔分切为指定规格的成品铝箔卷,但是铝箔在高速分切的过程中,会在刀片的两侧面产生铝粉,在后续卷曲成品铝箔卷的时候,被卷入成品铝箔卷中,从而影响产品质目乳,因此,午夜羞羞小视频提出一种电子电工用铝箔午夜免费福利入口铝粉吸附装置解决铝箔在分切过程中铝粉污染成品铝箔卷的问题。
技术实现要素:
(一)解决的技术问题
针对现有技术的不足,本实用新型提供了一种电子电工用铝箔午夜免费福利入口铝粉吸附装置,解决了铝箔在分切过程中铝粉污染成品铝箔卷的问题。
(二)技术方案
为实现以上目的,本实用新型通过以下技术方案予以实现:
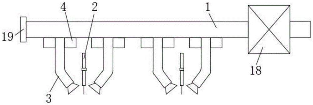
一种电子电工用铝箔午夜免费福利入口铝粉吸附装置,包括管道和刀架,所述刀架设置在管道的下方,所述刀架的两侧均设置有安装管,所述安装管的一端两侧对称设置有安装箱,所述安装箱的内腔一侧设置有螺纹杆,所述螺纹杆的下端外侧套接有滑动件;
所述滑动件的一端设置有连接杆,所述连接杆的一端通过销轴与滑动件活动连接,所述连接杆的另一端设置有连接块,所述连接块的一端固定连接卡杆的一端,所述安装管的两端均开设有卡槽,所述卡杆的另一端贯穿安装箱的一侧下端并位于卡槽内;
所述连接块的下表面固定连接竖杆的一端,所述安装箱的底端一侧固定安装有第一滑轨,所述第一滑轨滑动连接有第一滑动块,所述竖杆的另一端与第一滑动块固定连接;
所述安装管的内部固定安装有歧管,所述歧管的一端贯穿管道的底端并与管道的底端内壁平齐,所述歧管的另一端贯穿安装管的另一端并位于安装管的外侧。
可选的,所述螺纹杆的一端通过轴承座与安装箱的顶端内壁活动连接;
所述螺纹杆的另一端从上至下依次贯穿滑动件的中部和安装箱的底端并位于安装箱的下方,所述螺纹杆通过轴承与安装箱的底端活动连接;
所述螺纹杆的另一端固定连接有把手。
可选的,所述滑动件的中部开设有螺纹槽;
所述螺纹槽与螺纹杆相适配。
可选的,所述安装箱的上表面与管道的下表面固定连接;
所述连接杆的另一端通过销轴与卡杆的一端活动连接。
可选的,所述安装箱的另一侧内壁开设有第二滑轨;
所述第二滑轨滑动连接有第二滑动块;
所述第二滑动块与滑动件的另一端固定连接。
可选的,所述安装管的一端与管道的下表面贴合连接;
所述管道的一端固定连接有风机。
可选的,所述管道的另一端通过螺纹连接有封头。
(三)有益效果
本实用新型提供了一种电子电工用铝箔午夜免费福利入口铝粉吸附装置,具备以下有益效果:
(1)、该电子电工用铝箔午夜免费福利入口铝粉吸附装置,通过歧管、管道和风机的配合设置,能够将铝箔在高速分切的过程中产生的铝粉吸收进歧管和管道内,从而解决了铝箔在分切过程中铝粉污染成品铝箔卷的问题,同时也减少了粉尘对环境的污染。
(2)、该电子电工用铝箔午夜免费福利入口铝粉吸附装置,通过设置安装管,能够对歧管起到保护作用,通过卡杆和卡槽的配合设置,能够方便安装管的安装和拆卸,从而能够使歧管达到便于安装和拆卸的效果。
附图说明
图1为本实用新型的示意图;
图2为本实用新型安装箱结构的剖视示意图;
图3为本实用新型安装管结构的剖视示意图;
图4为本实用新型图2中A处结构的放大示意图。
图中:1-管道,2-刀架,3-安装管,4-安装箱,5-螺纹杆,6-滑动件,7-连接杆,8-连接块,9-卡杆,10-卡槽,11-竖杆,12-第一滑轨,13-第一滑动块,14-歧管,15-把手,16-第二滑轨,17-第二滑动块,18-风机,19-封头。
具体实施方式
下面将结合本实用新型实施例中的附图,对本实用新型实施例中的技术方案进行清楚、完整地描述,显然,所描述的实施例仅仅是本实用新型一部分实施例,而不是全部的实施例。
在本实用新型的描述中,需要理解的是,术语“中心”、“纵向”、“横向”、“长度”、“宽度”、“厚度”、“上”、“下”、“前”、“后”、“左”、“右”、“竖直”、“水平”、“顶”、“底”“内”、“外”、“顺时针”、“逆时针”、“轴向”、“径向”、“周向”等指示的方位或位置关系为基于附图所示的方位或位置关系,仅是为了便于描述本实用新型和简化描述,而不是指示或暗示所指的装置或元件必须具有特定的方位、以特定的方位构造和操作,因此不能理解为对本实用新型的限制。
在本实用新型中,除非另有明确的规定和限定,术语“设置”、“安装”、“相连”、“连接”、“固定”等术语应做广义理解,例如,可以是固定连接,也可以是可拆卸连接;可以是机械连接;可以是直接相连,也可以通过中间媒介间接相连。对于本领域的普通技术人员而言,可以根据具体情况理解上述术语在本实用新型中的具体含义。
此外,术语“第一”、“第二”仅用于描述目的,而不能理解为指示或暗示相对重要性或者隐含指明所指示的技术特征的数量。由此,限定有“第一”、“第二”的特征可以明示或者隐含地包括一个或者更多个该特征。在本实用新型的描述中,“多个”的含义是两个或两个以上,除非另有明确具体的限定。
请参阅图1-4,本实用新型提供一种技术方案:
一种电子电工用铝箔午夜免费福利入口铝粉吸附装置,包括管道1和刀架2,刀架2设置在管道1的下方,刀架2的两侧均设置有安装管3,安装管3的一端两侧对称设置有安装箱4,安装箱4的内腔一侧设置有螺纹杆5,螺纹杆5的下端外侧套接有滑动件6;
滑动件6的一端设置有连接杆7,连接杆7的一端通过销轴与滑动件6活动连接,连接杆7的另一端设置有连接块8,连接块8的一端固定连接卡杆9的一端,安装管3的两端均开设有卡槽10,卡杆9的另一端贯穿安装箱4的一侧下端并位于卡槽10内;
连接块8的下表面固定连接竖杆11的一端,安装箱4的底端一侧固定安装有第一滑轨12,第一滑轨12滑动连接有第一滑动块13,竖杆11的另一端与第一滑动块13固定连接;
安装管3的内部固定安装有歧管14,歧管14的一端贯穿管道1的底端并与管道1的底端内壁平齐,歧管14的另一端贯穿安装管3的另一端并位于安装管3的外侧,歧管14的另一端呈喇叭状,能够增加吸尘面积,通过设置安装管3,能够对歧管14起到保护作用,通过卡杆9和卡槽10的配合设置,能够方便安装管3的安装和拆卸,从而能够使歧管14达到便于安装和拆卸的效果。
作为本实用新型的一种可选技术方案:
螺纹杆5的一端通过轴承座与安装箱4的顶端内壁活动连接;
螺纹杆5的另一端从上至下依次贯穿滑动件6的中部和安装箱4的底端并位于安装箱4的下方,螺纹杆5通过轴承与安装箱4的底端活动连接,通过轴承的设置,能够方便螺纹杆5的转动;
螺纹杆5的另一端固定连接有把手15,通过设置把手15能够使螺纹杆5的转动更加方便。
作为本实用新型的一种可选技术方案:
滑动件6的中部开设有螺纹槽;
螺纹槽与螺纹杆5相适配,螺纹杆5在转动过程中通过螺纹槽能够带动滑动件6移动。
作为本实用新型的一种可选技术方案:
安装箱4的上表面与管道1的下表面固定连接;
连接杆7的另一端通过销轴与卡杆8的一端活动连接。
作为本实用新型的一种可选技术方案:
安装箱4的另一侧内壁开设有第二滑轨16;
第二滑轨16滑动连接有第二滑动块17;
第二滑动块17与滑动件6的另一端固定连接,通过第二滑动块17和第二滑轨16的配合设置,能够对滑动件6起到限位作用。
作为本实用新型的一种可选技术方案:
安装管3的一端与管道1的下表面贴合连接;
管道1的一端固定连接有风机18,通过歧管14、管道1和风机18的配合设置,能够将铝箔在高速分切的过程中产生的铝粉吸收进歧管14和管道1内,从而解决了铝箔在分切过程中铝粉污染成品铝箔卷的问题,同时也减少了粉尘对环境的污染。
作为本实用新型的一种可选技术方案:
管道1的另一端通过螺纹连接有封头19,通过螺纹连接能够方便封头19的安装和拆卸,也方便了对管道1的清理。
该文中出现的电器元件均与外界的主控器及220V市电电连接,并且主控器可为计算机等起到控制的常规已知设备。
综上所述,该电子电工用铝箔午夜免费福利入口铝粉吸附装置,铝箔在分切过程中同时启动风机18,风机18通过管道1和歧管14能够将粉尘吸收,风机18将吸收的粉尘能够送往粉尘处理设备进行进一步的处理,当调整刀架、进料或者维修刀架时,通过把手15转动螺纹杆5.螺纹杆5在转动过程中能够带动滑动件6移动,滑动件6在移动过程中能够带动连接杆7转动,连接杆7在转动过程中能够带动卡杆9向远离安装管3的方向移动,直至卡杆9移出卡槽10,即可将安装管3取下,从而方便了调整刀架、进料和维修刀架。
需要说明的是,在本实用新型中,除非另有明确的规定和限定,第一特征在第二特征“上”或“下”可以是第一和第二特征直接接触,或第一和第二特征通过中间媒介间接接触。而且,第一特征在第二特征“之上”、“上方”和“上面”可是第一特征在第二特征正上方或斜上方,或仅仅表示第一特征水平高度高于第二特征。第一特征在第二特征“之下”、“下方”和“下面”可以是第一特征在第二特征正下方或斜下方,或仅仅表示第一特征水平高度小于第二特征。
以上所述,仅为本实用新型较佳的具体实施方式,但本实用新型的保护范围并不局限于此,任何熟悉本技术领域的技术人员在本实用新型揭露的技术范围内,根据本实用新型的技术方案及其实用新型构思加以等同替换或改变,都应涵盖在本实用新型的保护范围之内。
技术特征:
1.一种电子电工用铝箔午夜免费福利入口铝粉吸附装置,包括管道(1)和刀架(2),其特征在于:所述刀架(2)设置在管道(1)的下方,所述刀架(2)的两侧均设置有安装管(3),所述安装管(3)的一端两侧对称设置有安装箱(4),所述安装箱(4)的内腔一侧设置有螺纹杆(5),所述螺纹杆(5)的下端外侧套接有滑动件(6);
所述滑动件(6)的一端设置有连接杆(7),所述连接杆(7)的一端通过销轴与滑动件(6)活动连接,所述连接杆(7)的另一端设置有连接块(8),所述连接块(8)的一端固定连接卡杆(9)的一端,所述安装管(3)的两端均开设有卡槽(10),所述卡杆(9)的另一端贯穿安装箱(4)的一侧下端并位于卡槽(10)内;
所述连接块(8)的下表面固定连接竖杆(11)的一端,所述安装箱(4)的底端一侧固定安装有第一滑轨(12),所述第一滑轨(12)滑动连接有第一滑动块(13),所述竖杆(11)的另一端与第一滑动块(13)固定连接;
所述安装管(3)的内部固定安装有歧管(14),所述歧管(14)的一端贯穿管道(1)的底端并与管道(1)的底端内壁平齐,所述歧管(14)的另一端贯穿安装管(3)的另一端并位于安装管(3)的外侧。
2.根据权利要求1所述的一种电子电工用铝箔午夜免费福利入口铝粉吸附装置,其特征在于:
所述螺纹杆(5)的一端通过轴承座与安装箱(4)的顶端内壁活动连接;
所述螺纹杆(5)的另一端从上至下依次贯穿滑动件(6)的中部和安装箱(4)的底端并位于安装箱(4)的下方,所述螺纹杆(5)通过轴承与安装箱(4)的底端活动连接;
所述螺纹杆(5)的另一端固定连接有把手(15)。
3.根据权利要求1所述的一种电子电工用铝箔午夜免费福利入口铝粉吸附装置,其特征在于:
所述滑动件(6)的中部开设有螺纹槽;
所述螺纹槽与螺纹杆(5)相适配。
4.根据权利要求1所述的一种电子电工用铝箔午夜免费福利入口铝粉吸附装置,其特征在于:
所述安装箱(4)的上表面与管道(1)的下表面固定连接;
所述连接杆(7)的另一端通过销轴与卡杆(9)的一端活动连接。
5.根据权利要求1所述的一种电子电工用铝箔午夜免费福利入口铝粉吸附装置,其特征在于:
所述安装箱(4)的另一侧内壁开设有第二滑轨(16);
所述第二滑轨(16)滑动连接有第二滑动块(17);
所述第二滑动块(17)与滑动件(6)的另一端固定连接。
6.根据权利要求1所述的一种电子电工用铝箔午夜免费福利入口铝粉吸附装置,其特征在于:
所述安装管(3)的一端与管道(1)的下表面贴合连接;
所述管道(1)的一端固定连接有风机(18)。
7.根据权利要求1所述的一种电子电工用铝箔午夜免费福利入口铝粉吸附装置,其特征在于:
所述管道(1)的另一端通过螺纹连接有封头(19)。
技术总结
本实用新型公开了一种电子电工用铝箔午夜免费福利入口铝粉吸附装置,涉及铝箔生产技术领域,该电子电工用铝箔午夜免费福利入口铝粉吸附装置,包括管道和刀架,所述刀架设置在管道的下方,所述刀架的两侧均设置有安装管,所述安装管的一端两侧对称设置有安装箱,所述安装箱的内腔一侧设置有螺纹杆,所述螺纹杆的下端外侧套接有滑动件,所述滑动件的一端设置有连接杆,所述连接杆的一端通过销轴与滑动件活动连接,所述连接杆的另一端设置有连接块。该电子电工用铝箔午夜免费福利入口铝粉吸附装置,通过歧管、管道和风机的配合设置,能够将铝箔在高速分切的过程中产生的铝粉吸收进歧管和管道内,解决了铝箔在分切过程中铝粉污染成品铝箔卷的问题。
技术研发人员:张琦
受保护的技术使用者:苏州茂开电子午夜精品免费视频有限公司
技术研发日:2018.11.22
技术公布日:2019.07.09