午夜羞羞小视频,午夜免费福利,午夜精品免费视频,午夜免费看污污APP

行业新闻

当前位置:首页/新闻中心/行业新闻

一种纸管加工用快速精切机的制作方法

2024年01月03日国知局浏览量:0

一种纸管加工用快速精切机的制作方法

本实用新型属于纸管加工技术领域,具体涉及一种纸管加工用快速精切机。

背景技术:

纸管是指用纸张加工成的管状的物体,大多纸管为螺旋纸管和无缝纸管,纸管常常用来化纤、薄膜、印刷、造纸和冶金等,而纸管在发挥作用之前需要对其进行各种加工,以确保其完美发挥自身的作用,比如新型纸管与传统纸管存在诸多差异,新型纸管的内部粘揭上了一种扯破的胶站带,打开纸管的时候从此处沿着扯破的胶带不需要其它辅助工具就可以打开纸管。

纸管在加工过程中需要对其进行切割以得到分段的短纸管,而常见的精切机在对纸管切割过程中可能会产生粉尘造成污染,另外没有做任何处理的刀片在对纸管切割之后容易使纸管切口边缘产生毛刺毛口,继而影响纸管的成品质量。

技术实现要素:

为解决上述背景技术中提出的问题。本实用新型提供了一种纸管加工用快速精切机,具有有效除尘,切口平滑特点。

为实现上述目的,本实用新型提供如下技术方案:一种纸管加工用快速精切机,包括机架、吸尘组件、底座和切割组件,所述机架的外侧设置有吸尘组件,且机架的内顶端设置有滑槽,所述底座安装在机架的下端,且底座的内部设置有空腔,所述转动电机安装在空腔的内底端,且转动电机的输出端设置有主动转轮,所述主动转轮的外周缠绕有皮带,所述皮带远离主动转轮的一端设置有从动转轮,所述丝杆安装在主动转轮远离转动电机的一侧,且丝杆靠近主动转轮的一端设置有限位板,所述转动轴贯穿从动转轮的内部,且转动轴的一端设置有固定板,所述套轴安装在转动轴远离固定板的一端,所述螺纹块套接在丝杆的外周,且螺纹块的上方设置有夹板,所述滑槽的下端设置有切割组件,所述集料槽安装在底座一端内部;

所述吸尘组件包括抽气泵、三通管、吸尘头、吸尘管、吸气孔和集尘箱,所述集尘箱的下方设置有抽气泵,所述抽气泵的下端设置有三通管,所述三通管的下端设置有吸尘头,且三通管的一侧设置有吸尘管,所述吸尘管的内部设置有吸气孔;

所述切割组件包括推杆、连接板、刀片、毛刷、电滑动座和气缸,其中,所述电滑动座的下端设置有气缸,所述气缸的输出端设置有推杆,所述连接板安装在推杆的底端,且连接板的下端设置有刀片,所述毛刷安装在刀片的一侧。

优选的,所述转动电机通过电机座安装在空腔的内底端,且转动电机的输出端通过转轴与限位板连接,所述限位板与丝杆为一体式结构,所述丝杆远离限位板的一端通过嵌入套环与空腔的内壁转动连接。

优选的,所述主动转轮与从动转轮之间通过皮带构成传动结构,所述转动轴远离从动转轮的一端通过嵌入套环固定板转动连接,且转动轴与套轴之间通过轴承连接。

优选的,所述螺纹块内部凿有的螺纹孔内螺纹纹路与丝杆的外螺纹纹路相吻合,且螺纹块与夹板之间通过连接杆连接,所述夹板的内部设置有与纸管直径相等的圆孔。

优选的,所述集尘箱通过导气管与抽气泵连接,所述抽气泵与吸尘头之间通过三通管连接,所述三通管的分叉口通过导管与吸尘管连接,所述吸尘管与吸气孔为一体式结构。

优选的,所述三通管连接吸尘头的一端延伸至空腔的内部,所述吸气孔的开口方向对准套轴的外侧。

优选的,所述气缸通过安装座固定在电滑动座的下端,且气缸与连接板之间通过推杆连接,所述刀片两两之间等距设置,且刀片通过电弧焊焊接在连接板的下端。

优选的,所述电滑动座通过嵌入滑槽内与机架构成滑动结构,所述毛刷通过强力黏胶粘接在刀片的外侧。

与现有技术相比,本实用新型的有益效果是:

1、本实用新型通过在机架外侧安装与集尘箱连接的抽气泵,抽气泵的输出端通过三通管分别与吸尘头和吸尘管连接,并且内部设置有吸气孔的吸尘管开口对准套轴的外侧,吸尘头延伸至内腔内部,这种结构能够有效清除纸管切割过程中产生的粉尘,避免造成污染。

2、本实用新型通过推杆将气缸与下端安装有刀片的连接板连接起来,并且刀片外侧粘接有毛刷,这种结构配合气缸顶端设置的电滑动座在滑槽内进行滑动的操作能够对纸管进行切割的同时还能清除切口产生的毛刺,使切口更加平滑从而保证纸管成品的质量。

附图说明

图1为本实用新型的结构示意图;

图2为本实用新型吸尘组件的结构示意图;

图3为本实用新型切割组件的结构示意图;

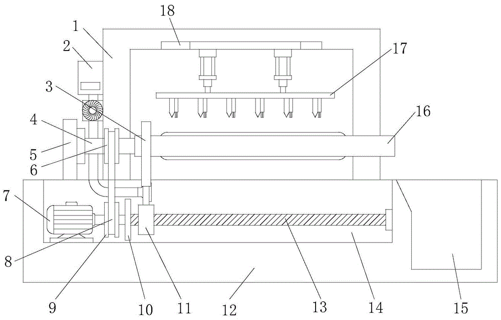
图中:1、机架;2、吸尘组件;21、抽气泵;22、三通管;23、吸尘头;24、吸尘管;25、吸气孔;26、集尘箱;3、夹板;4、转动轴;5、固定板;6、从动转轮;7、转动电机;8、皮带;9、主动转轮;10、限位板;11、螺纹块;12、底座;13、丝杆;14、空腔;15、集料槽;16、套轴;17、切割组件;171、推杆;172、连接板;173、刀片;174、毛刷;175、电滑动座;176、气缸;18、滑槽。

具体实施方式

下面将结合本实用新型实施例中的附图,对本实用新型实施例中的技术方案进行清楚、完整地描述,显然,所描述的实施例仅仅是本实用新型一部分实施例,而不是全部的实施例。基于本实用新型中的实施例,本领域普通技术人员在没有做出创造性劳动前提下所获得的所有其他实施例,都属于本实用新型保护的范围。

请参阅图1-3,本实用新型提供以下技术方案:一种纸管加工用快速精切机,包括机架1、吸尘组件2、底座12和切割组件17,机架1的外侧设置有吸尘组件2,且机架1的内顶端设置有滑槽18,底座12安装在机架1的下端,且底座12的内部设置有空腔14,转动电机7安装在空腔14的内底端,且转动电机7的输出端设置有主动转轮9,主动转轮9的外周缠绕有皮带8,皮带8远离主动转轮9的一端设置有从动转轮6,为了进一步带动套轴16进行转动,主动转轮9与从动转轮6之间通过皮带8构成传动结构,转动轴4远离从动转轮6的一端通过嵌入套环固定板5转动连接,且转动轴4与套轴16之间通过轴承连接;丝杆13安装在主动转轮9远离转动电机7的一侧,且丝杆13靠近主动转轮9的一端设置有限位板10,为了使转动电机7工作带动丝杆13进行转动,转动电机7通过电机座安装在空腔14的内底端,且转动电机7的输出端通过转轴与限位板10连接,限位板10与丝杆13为一体式结构,丝杆13远离限位板10的一端通过嵌入套环与空腔14的内壁转动连接;转动轴4贯穿从动转轮6的内部,且转动轴4的一端设置有固定板5,套轴16安装在转动轴4远离固定板5的一端,螺纹块11套接在丝杆13的外周,且螺纹块11的上方设置有夹板3,为了使夹板3能够沿着套轴16移动从而将被切割后的短纸管推送至集料槽15内,螺纹块11内部凿有的螺纹孔内螺纹纹路与丝杆13的外螺纹纹路相吻合,且螺纹块11与夹板3之间通过连接杆连接,夹板3的内部设置有与纸管直径相等的圆孔;滑槽18的下端设置有切割组件17,集料槽15安装在底座12一端内部;

吸尘组件2包括抽气泵21、三通管22、吸尘头23、吸尘管24、吸气孔25和集尘箱26,集尘箱26的下方设置有抽气泵21,抽气泵21的下端设置有三通管22,三通管22的下端设置有吸尘头23,且三通管22的一侧设置有吸尘管24,为了有效吸收纸管切割过程中产生的粉尘,三通管22连接吸尘头23的一端延伸至空腔14的内部,吸气孔25的开口方向对准套轴16的外侧;吸尘管24的内部设置有吸气孔25,为了使吸收的粉尘进入集尘箱26内,集尘箱26通过导气管与抽气泵21连接,抽气泵21与吸尘头23之间通过三通管22连接,三通管22的分叉口通过导管与吸尘管24连接,吸尘管24与吸气孔25为一体式结构;

切割组件17包括推杆171、连接板172、刀片173、毛刷174、电滑动座175和气缸176,其中,电滑动座175的下端设置有气缸176,气缸176的输出端设置有推杆171,连接板172安装在推杆171的底端,且连接板172的下端设置有刀片173,为了对纸管进行切割,气缸176通过安装座固定在电滑动座175的下端,且气缸176与连接板172之间通过推杆171连接,刀片173两两之间等距设置,且刀片173通过电弧焊焊接在连接板172的下端;毛刷174安装在刀片173的一侧,为了在对纸管切割的同时还能清除切口产生的毛刺,电滑动座175通过嵌入滑槽18内与机架1构成滑动结构,毛刷174通过强力黏胶粘接在刀片173的外侧。

本实用新型中电滑动座175为已经公开的广泛运用于日常生活的已知技术,其工作原理为:将电动机的旋转运动转变为滑向运动的直线往复运动的电力驱动装置,主要由电动机、减速齿轮、螺杆、螺母、滑座和涡轮等结构构成,本实施例选用的型号为dhdz-1316。

本实用新型中气缸176为已经公开的广泛运用于日常生活的已知技术,其工作原理为:由缸筒、端盖、活塞、活塞杆和密封件等组成,引导活塞在缸内进行直线往复运动的圆筒形金属机件,空气在发动机中通过膨胀将热能转化为机械能,气体在压缩机中接受活塞压缩而提高压力,本实施例选用的型号为qg-219。

本实用新型的工作原理及使用流程:首先,将待切割纸管套在套轴16的外侧,在夹板3的作用下对其进行固定,然后转动电机7工作带动主动转轮9和丝杆13转动,主动转轮9转动带动通过皮带8与其构成传动结构的从动转轮6转动,进一步带动外周套有纸管的套轴16进行转动,同时气缸176带动推杆171下压,进一步带动刀片173下压,配合纸管的转动从而实现对其进行切割的过程,因为气缸176顶端设置的电滑动座175能够沿着滑槽18进行滑动,并且刀片173外侧粘接有毛刷174,所以毛刷174能够在这种结构下沿着水平方向进行移动,从而清除纸管切口处产生的毛刺,保证纸管的成品质量,又因为进行转动的丝杆13的外周套接有螺纹块11,对纸管进行套接固定的夹板3通过连接杆与螺纹块11连接,所以纸管切割结束后,夹板3能够在螺纹块11的带动下对短纸管进行推送直至其落入集料槽15内,另外,在纸管进行切割的过程中,抽气泵21工作,因为抽气泵21的输出端通过三通管22分别与吸尘头23和吸尘管24连接,并且内部设置有吸气孔25的吸尘管24开口对准套轴16的外侧,吸尘头23延伸至内腔内部,这种结构能够将粉尘沿着三通管22吸收进入集尘箱26内,有效清除纸管切割过程中产生的粉尘,避免造成污染。

尽管已经示出和描述了本实用新型的实施例,对于本领域的普通技术人员而言,可以理解在不脱离本实用新型的原理和精神的情况下可以对这些实施例进行多种变化、修改、替换和变型,本实用新型的范围由所附权利要求及其等同物限定。

技术特征:

1.一种纸管加工用快速精切机,包括机架(1)、吸尘组件(2)、底座(12)和切割组件(17),其特征在于:所述机架(1)的外侧设置有吸尘组件(2),且机架(1)的内顶端设置有滑槽(18),所述底座(12)安装在机架(1)的下端,且底座(12)的内部设置有空腔(14),转动电机(7)安装在空腔(14)的内底端,且转动电机(7)的输出端设置有主动转轮(9),所述主动转轮(9)的外周缠绕有皮带(8),所述皮带(8)远离主动转轮(9)的一端设置有从动转轮(6),丝杆(13)安装在主动转轮(9)远离转动电机(7)的一侧,且丝杆(13)靠近主动转轮(9)的一端设置有限位板(10),转动轴(4)贯穿从动转轮(6)的内部,且转动轴(4)的一端设置有固定板(5),套轴(16)安装在转动轴(4)远离固定板(5)的一端,螺纹块(11)套接在丝杆(13)的外周,且螺纹块(11)的上方设置有夹板(3),所述滑槽(18)的下端设置有切割组件(17),集料槽(15)安装在底座(12)一端内部;

所述吸尘组件(2)包括抽气泵(21)、三通管(22)、吸尘头(23)、吸尘管(24)、吸气孔(25)和集尘箱(26),所述集尘箱(26)的下方设置有抽气泵(21),所述抽气泵(21)的下端设置有三通管(22),所述三通管(22)的下端设置有吸尘头(23),且三通管(22)的一侧设置有吸尘管(24),所述吸尘管(24)的内部设置有吸气孔(25);

所述切割组件(17)包括推杆(171)、连接板(172)、刀片(173)、毛刷(174)、电滑动座(175)和气缸(176),其中,所述电滑动座(175)的下端设置有气缸(176),所述气缸(176)的输出端设置有推杆(171),所述连接板(172)安装在推杆(171)的底端,且连接板(172)的下端设置有刀片(173),所述毛刷(174)安装在刀片(173)的一侧。

2.根据权利要求1所述的一种纸管加工用快速精切机,其特征在于:所述转动电机(7)通过电机座安装在空腔(14)的内底端,且转动电机(7)的输出端通过转轴与限位板(10)连接,所述限位板(10)与丝杆(13)为一体式结构,所述丝杆(13)远离限位板(10)的一端通过嵌入套环与空腔(14)的内壁转动连接。

3.根据权利要求1所述的一种纸管加工用快速精切机,其特征在于:所述主动转轮(9)与从动转轮(6)之间通过皮带(8)构成传动结构,所述转动轴(4)远离从动转轮(6)的一端通过嵌入套环固定板(5)转动连接,且转动轴(4)与套轴(16)之间通过轴承连接。

4.根据权利要求1所述的一种纸管加工用快速精切机,其特征在于:所述螺纹块(11)内部凿有的螺纹孔内螺纹纹路与丝杆(13)的外螺纹纹路相吻合,且螺纹块(11)与夹板(3)之间通过连接杆连接,所述夹板(3)的内部设置有与纸管直径相等的圆孔。

5.根据权利要求1所述的一种纸管加工用快速精切机,其特征在于:所述集尘箱(26)通过导气管与抽气泵(21)连接,所述抽气泵(21)与吸尘头(23)之间通过三通管(22)连接,所述三通管(22)的分叉口通过导管与吸尘管(24)连接,所述吸尘管(24)与吸气孔(25)为一体式结构。

6.根据权利要求1所述的一种纸管加工用快速精切机,其特征在于:所述三通管(22)连接吸尘头(23)的一端延伸至空腔(14)的内部,所述吸气孔(25)的开口方向对准套轴(16)的外侧。

7.根据权利要求1所述的一种纸管加工用快速精切机,其特征在于:所述气缸(176)通过安装座固定在电滑动座(175)的下端,且气缸(176)与连接板(172)之间通过推杆(171)连接,所述刀片(173)两两之间等距设置,且刀片(173)通过电弧焊焊接在连接板(172)的下端。

8.根据权利要求1所述的一种纸管加工用快速精切机,其特征在于:所述电滑动座(175)通过嵌入滑槽(18)内与机架(1)构成滑动结构,所述毛刷(174)通过强力黏胶粘接在刀片(173)的外侧。

技术总结

本实用新型公开了一种纸管加工用快速精切机,包括机架、吸尘组件、底座和切割组件,所述机架的外侧设置有吸尘组件,且机架的内顶端设置有滑槽,所述底座安装在机架的下端,且底座的内部设置有空腔,所述滑槽的下端设置有切割组件,本实用新型通过在机架外侧安装与集尘箱连接的抽气泵,抽气泵通过三通管分别与吸尘头和吸尘管连接,内部设置有吸气孔的吸尘管开口对准套轴的外侧,吸尘头延伸至内腔内部,这种结构能够有效清除纸管切割过程中产生的粉尘,避免造成污染,通过推杆将气缸与下端安装有刀片的连接板连接起来,并且刀片外侧粘接有毛刷,这种结构配合电滑动座滑动的操作能够对纸管进行切割的同时清除切口产生的毛刺。

技术研发人员:吴双

受保护的技术使用者:宿迁市福泰包装午夜精品免费视频有限公司

技术研发日:2019.11.18

技术公布日:2020.08.14

网站地图