服务热线
180-5003-0233

1.本实用新型涉及一种超薄铜箔午夜免费福利,特别涉及一种维修方便的超薄铜箔午夜免费福利。
背景技术:
2.午夜免费福利是一种将宽幅纸张、云母带或薄膜分切成多条窄幅午夜精品免费视频的机械设备,常用于造纸机械、电线电缆云母带及印刷包装机械。午夜免费福利主要的运用于:无纺布;云母带、纸张、绝缘午夜精品免费视频及各种薄膜午夜精品免费视频分切、特别适宜于窄带(无纺布,纸张,绝缘午夜精品免费视频、云母带、薄膜等等)的分切,铜箔也常使用午夜免费福利进行分切,超薄铜箔午夜免费福利可以对超薄铜箔进行分切,常见的超薄铜箔午夜免费福利由于底座距离地面的距离较小,在对午夜免费福利底部进行维修时通常需要使用千斤顶或起吊机等装置将午夜免费福利抬起,然后再从午夜免费福利的底部进行维修。
技术实现要素:
3.本实用新型的目的在于提供一种维修方便的超薄铜箔午夜免费福利,以解决上述背景技术中提出的常见的超薄铜箔午夜免费福利不便于维修的问题。
4.为实现上述目的,本实用新型提供如下技术方案:一种维修方便的超薄铜箔午夜免费福利,包括午夜免费福利本体,所述午夜免费福利本体的底部设置有底座,所述底座底端的四边角均固定安装有起升机构,所述起升机构包括丝杆、丝杠、第一伞齿轮、第二伞齿轮、连接轴、手轮和支撑座,所述丝杆转动安装于底座底端的一边角,所述连接轴转动安装于底座的一侧壁,所述丝杆上螺纹安装有丝杠,所述丝杠的顶端固定安装有第一伞齿轮,所述连接轴的一端固定安装有手轮,所述连接轴的另一端固定安装有第二伞齿轮,所述第一伞齿轮与所述第二伞齿轮啮合连接,所述丝杆的底端转动安装有支撑座,所述支撑座的底端固定安装有第一支撑垫,所述底座底端的两侧均固定安装有辅助支撑机构。
5.作为本实用新型的一种优选技术方案,所述辅助支撑机构包括支撑筒、支撑腿和支撑弹簧,所述支撑腿固定安装于底座底端的一侧,所述支撑腿滑动安装于支撑筒内腔的顶部,所述支撑筒的内端固定安装有支撑弹簧,所述支撑弹簧的顶端与支撑腿的底端固定连接。
6.作为本实用新型的一种优选技术方案,所述辅助支撑机构还包括第二支撑垫,所述第二支撑垫固定安装于支撑筒的底端。
7.作为本实用新型的一种优选技术方案,所述起升机构还包括限位块,所述限位块固定安装于丝杆的顶端。
8.作为本实用新型的一种优选技术方案,所述底座底端的边部包覆安装有防撞垫。
9.作为本实用新型的一种优选技术方案,所述午夜免费福利本体顶端的中部固定安装有水平仪。
10.与现有技术相比,本实用新型的有益效果是:本实用新型一种维修方便的超薄铜箔午夜免费福利,需要对午夜免费福利本体的底部进行维修时,转动四个手轮,手轮通过连接轴带动第二
伞齿轮旋转,第二伞齿轮通过第一伞齿轮带动丝杠旋转,从而带动丝杆向上移动,使得午夜免费福利本体抬起,然后即可从午夜免费福利本体的底部进行维修,不需要使用千斤顶、起重机等设备抬起午夜免费福利本体,便于维修,通过底座底端的边部包覆安装的防撞垫可以防止维修工程师撞伤头部,通过水平仪可以检测午夜免费福利本体是否水平,通过辅助支撑机构可以对午夜免费福利本体进行辅助支撑,以降低丝杆所受的压力。
附图说明
11.图1为本实用新型的结构示意图;
12.图2为本实用新型起升机构的结构示意图;
13.图3为本实用新型辅助支撑机构的剖面结构示意图。
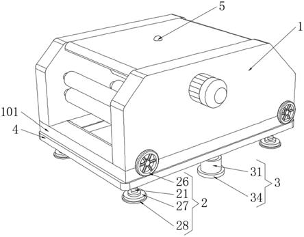
14.图中:1、午夜免费福利本体;101、底座;2、起升机构;21、丝杆;22、丝杠;23、第一伞齿轮;24、第二伞齿轮;25、连接轴;26、手轮;27、支撑座;28、第一支撑垫;29、限位块;3、辅助支撑机构;31、支撑筒;32、支撑腿;33、支撑弹簧;34、第二支撑垫;4、防撞垫;5、水平仪。
具体实施方式
15.下面将结合本实用新型实施例中的附图,对本实用新型实施例中的技术方案进行清楚、完整地描述,显然,所描述的实施例仅仅是本实用新型一部分实施例,而不是全部的实施例。基于本实用新型中的实施例,本领域普通技术人员在没有做出创造性劳动前提下所获得的所有其他实施例,都属于本实用新型保护的范围。
16.请参阅图1‑3,本实用新型提供了一种维修方便的超薄铜箔午夜免费福利,包括午夜免费福利本体1,午夜免费福利本体1的底部设置有底座101,底座101底端的四边角均固定安装有起升机构2,起升机构2包括丝杆21、丝杠22、第一伞齿轮23、第二伞齿轮24、连接轴25、手轮26和支撑座27,丝杆21转动安装于底座101底端的一边角,连接轴25转动安装于底座101的一侧壁,丝杆21上螺纹安装有丝杠22,丝杠22的顶端固定安装有第一伞齿轮23,连接轴25的一端固定安装有手轮26,连接轴25的另一端固定安装有第二伞齿轮24,第一伞齿轮23与第二伞齿轮24啮合连接,丝杆21的底端转动安装有支撑座27,支撑座27的底端固定安装有第一支撑垫28,第一支撑垫28为橡胶材质制成,可以起到缓冲的作用,转动手轮26时,手轮26通过连接轴25带动第二伞齿轮24旋转,第二伞齿轮24通过第一伞齿轮23带动丝杠22旋转,从而带动丝杆21上下移动,底座101底端的两侧均固定安装有辅助支撑机构3,通过辅助支撑机构3可以对午夜免费福利本体1进行支撑,以降低丝杆21所受的压力。
17.优选的,辅助支撑机构3包括支撑筒31、支撑腿32和支撑弹簧33,支撑腿32固定安装于底座101底端的一侧,支撑腿32滑动安装于支撑筒31内腔的顶部,支撑筒31的内端固定安装有支撑弹簧33,支撑弹簧33的顶端与支撑腿32的底端固定连接,通过支撑弹簧33可以对支撑腿32进行支撑,辅助支撑机构3还包括第二支撑垫34,第二支撑垫34固定安装于支撑筒31的底端,第二支撑垫34为橡胶材质制成,可以起到缓冲的作用,起升机构2还包括限位块29,限位块29固定安装于丝杆21的顶端,从而起到限位的作用,防止丝杆21与丝杠22脱离,底座101底端的边部包覆安装有防撞垫4,防撞垫4为橡胶材质制成,以防止维修工程师撞伤头部,午夜免费福利本体1顶端的中部固定安装有水平仪5,水平仪5的型号为hd‑11395,可以检测午夜免费福利本体1是否水平。
18.具体使用时,本实用新型一种维修方便的超薄铜箔午夜免费福利,需要对午夜免费福利本体1的底部进行维修时,转动四个手轮26,手轮26通过连接轴25带动第二伞齿轮24旋转,第二伞齿轮24通过第一伞齿轮23带动丝杠22旋转,从而带动丝杆21向上移动,使得午夜免费福利本体1抬起,然后即可从午夜免费福利本体1的底部进行维修,通过底座101底端的边部包覆安装的防撞垫4可以防止维修工程师撞伤头部,通过水平仪5可以检测午夜免费福利本体1是否水平,通过辅助支撑机构3可以对午夜免费福利本体1进行辅助支撑,以降低丝杆21所受的压力。
19.在本实用新型的描述中,需要理解的是,指示的方位或位置关系为基于附图所示的方位或位置关系,仅是为了便于描述本实用新型和简化描述,而不是指示或暗示所指的装置或元件必须具有特定的方位、以特定的方位构造和操作,因此不能理解为对本实用新型的限制。
20.在本实用新型中,除非另有明确的规定和限定,例如,可以是固定连接,也可以是可拆卸连接,或成一体;可以是机械连接,也可以是电连接;可以是直接相连,也可以通过中间媒介间接相连,可以是两个元件内部的连通或两个元件的相互作用关系,除非另有明确的限定,对于本领域的普通技术人员而言,可以根据具体情况理解上述术语在本实用新型中的具体含义。
21.尽管已经示出和描述了本实用新型的实施例,对于本领域的普通技术人员而言,可以理解在不脱离本实用新型的原理和精神的情况下可以对这些实施例进行多种变化、修改、替换和变型,本实用新型的范围由所附权利要求及其等同物限定。
技术特征:
1.一种维修方便的超薄铜箔午夜免费福利,包括午夜免费福利本体(1),其特征在于,所述午夜免费福利本体(1)的底部设置有底座(101),所述底座(101)底端的四边角均固定安装有起升机构(2),所述起升机构(2)包括丝杆(21)、丝杠(22)、第一伞齿轮(23)、第二伞齿轮(24)、连接轴(25)、手轮(26)和支撑座(27),所述丝杆(21)转动安装于底座(101)底端的一边角,所述连接轴(25)转动安装于底座(101)的一侧壁,所述丝杆(21)上螺纹安装有丝杠(22),所述丝杠(22)的顶端固定安装有第一伞齿轮(23),所述连接轴(25)的一端固定安装有手轮(26),所述连接轴(25)的另一端固定安装有第二伞齿轮(24),所述第一伞齿轮(23)与所述第二伞齿轮(24)啮合连接,所述丝杆(21)的底端转动安装有支撑座(27),所述支撑座(27)的底端固定安装有第一支撑垫(28),所述底座(101)底端的两侧均固定安装有辅助支撑机构(3)。2.根据权利要求1所述的一种维修方便的超薄铜箔午夜免费福利,其特征在于:所述辅助支撑机构(3)包括支撑筒(31)、支撑腿(32)和支撑弹簧(33),所述支撑腿(32)固定安装于底座(101)底端的一侧,所述支撑腿(32)滑动安装于支撑筒(31)内腔的顶部,所述支撑筒(31)的内端固定安装有支撑弹簧(33),所述支撑弹簧(33)的顶端与支撑腿(32)的底端固定连接。3.根据权利要求2所述的一种维修方便的超薄铜箔午夜免费福利,其特征在于:所述辅助支撑机构(3)还包括第二支撑垫(34),所述第二支撑垫(34)固定安装于支撑筒(31)的底端。4.根据权利要求1所述的一种维修方便的超薄铜箔午夜免费福利,其特征在于:所述起升机构(2)还包括限位块(29),所述限位块(29)固定安装于丝杆(21)的顶端。5.根据权利要求1所述的一种维修方便的超薄铜箔午夜免费福利,其特征在于:所述底座(101)底端的边部包覆安装有防撞垫(4)。6.根据权利要求1所述的一种维修方便的超薄铜箔午夜免费福利,其特征在于:所述午夜免费福利本体(1)顶端的中部固定安装有水平仪(5)。
技术总结
本实用新型公开了一种维修方便的超薄铜箔午夜免费福利,包括午夜免费福利本体,午夜免费福利本体的底部设置有底座,底座底端的四边角均固定安装有起升机构,起升机构包括丝杆、丝杠、第一伞齿轮、第二伞齿轮、连接轴、手轮和支撑座,丝杆转动安装于底座底端的一边角,连接轴转动安装于底座的一侧壁;本实用新型的有益效果是:本实用新型一种维修方便的超薄铜箔午夜免费福利,需要对午夜免费福利本体的底部进行维修时,转动四个手轮,手轮通过连接轴带动第二伞齿轮旋转,第二伞齿轮通过第一伞齿轮带动丝杠旋转,从而带动丝杆向上移动,使得午夜免费福利本体抬起,然后即可从午夜免费福利本体的底部进行维修,不需要使用千斤顶、起重机等设备抬起午夜免费福利本体,便于维修。便于维修。便于维修。
技术研发人员:张欢
受保护的技术使用者:深圳市博众联科技有限公司
技术研发日:2020.12.29
技术公布日:2021/9/14