服务热线
180-5003-0233

本实用新型涉及机械设备技术领域,具体来说,涉及一种防噪音薄膜午夜免费福利。
背景技术:
午夜免费福利是一种将宽幅纸张或薄膜分切成多条窄幅午夜精品免费视频的机械设备,常用于造纸机械及印刷包装机械。薄膜午夜免费福利由放卷机构、切割结构、收卷机构、各功能辊等组成。其工作原理为:从放卷机构放出的薄膜原料,经展平辊,张力检测辊,赋能辊,进入切割机构,原午夜精品免费视频经分切后,由收卷机构分别收卷成符合标准的膜卷。然而,午夜免费福利在工作的过程中,由于收卷机构,切割机构的高速运转,机器会产生很大的噪音,时间长了不仅不利于工人的身体健康,也影响工人干活的积极性。
针对相关技术中的问题,目前尚未提出有效的解决方案。
技术实现要素:
针对相关技术中的问题,本实用新型提出一种防噪音薄膜午夜免费福利,以克服背景技术中所提出的上述技术问题。
本实用新型的技术方案是这样实现的:
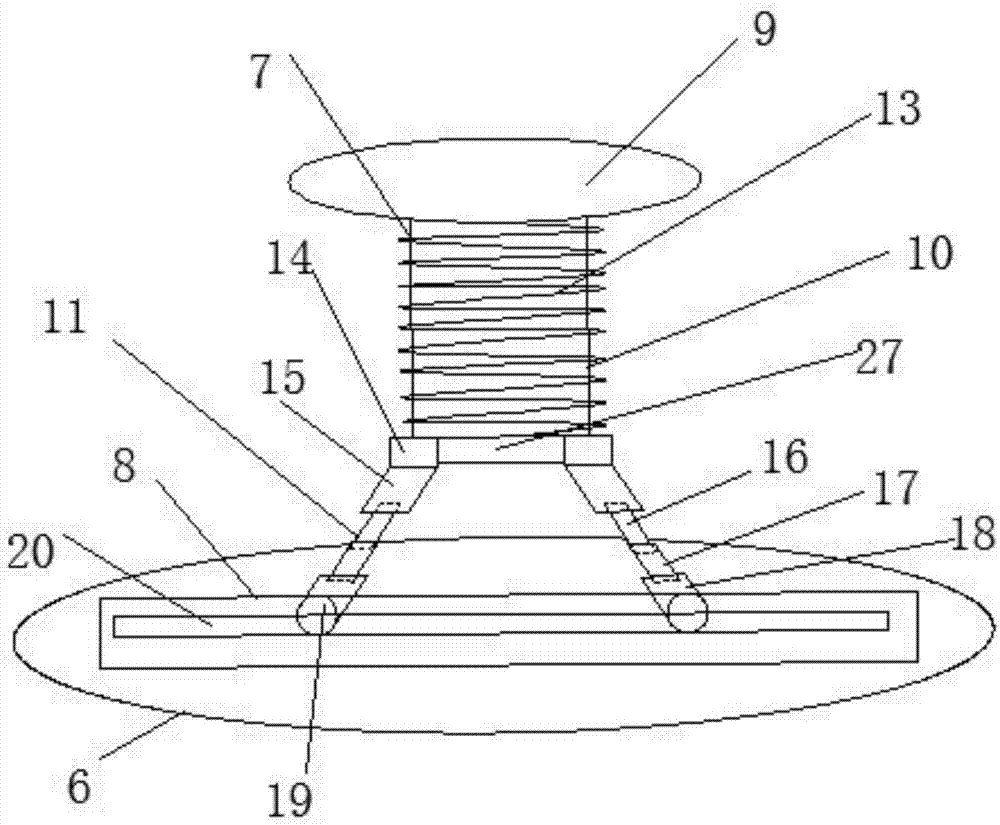
一种防噪音薄膜午夜免费福利,包括底座、支架、放卷机构、切割机构以及收卷机构,所述底座两侧固定有支架,所述放卷机构的两端通过固定盘均固定连接在所述支架的内壁上,所述切割机构和所述收卷机构的两端也均固定在所述支架的内壁上,且所述切割机构位于所述放卷机构的上方后侧,所述收卷机构位于所述切割机构的上方后侧,所述固定盘内部设有凹槽,所述固定盘和所述放卷机构之间设有缓冲装置,所述缓冲装置包括缓冲垫圈、支柱和伸缩臂,所述支柱固定连接在所述缓冲垫圈下端,所述支柱上绕有若干弹片,所述支柱下端两侧均固定有卡环,所述卡环之间固定连接有连接板,所述两侧卡环下端均连接有所述伸缩臂,所述伸缩臂包括固定臂一、第一伸缩杆、第二伸缩杆和固定臂二,所述固定臂一与所述卡环活动连接,所述固定臂一下端连接有第一伸缩杆,所述第一伸缩杆下端连接有第二伸缩杆,所述第二伸缩杆下端连接有固定臂二,所述两侧固定臂二下端均连接有滑轮,所述滑轮与滑槽活动连接,所述滑槽设置在所述凹槽内。
进一步的,所述底座下端设有减震装置。
进一步的,所述减震装置包括挡板、弹簧、下支撑板和支撑板,所述挡板固定在所述底座下端,所述挡板下端连接有弹簧,所述挡板两侧活动连接有支撑板,所述两侧支撑板内部固定有弹簧,所述支撑板下端固定有弹性垫,所述弹性垫固定在所述下支撑板内腔顶部,所述下支撑板为U形结构,且所述下支撑板的内腔两侧与所述支撑板表面固定连接,所述两侧支撑板为弹性板。
进一步的,所述底座上固定有电机,所述电机与所述放卷机构、切割机构和收卷机构均传动连接。
进一步的,所述切割机构和所述收卷机构与所述两侧支架连接处之间均设有缓冲装置。
本实用新型上述技术方案的有益效果为:通过在固定盘和放卷机构之间设置缓冲装置,可以减轻放卷机构在运转的过程中与支架之间产生的共振,起到缓冲作用,从而减轻机器运作的过程中产生的噪音,通过缓冲垫圈可以起到缓冲作用,缓冲垫圈下端的支柱和弹片在收到压力的时候通过挤压弹片进而挤压与卡环连接的伸缩臂,使伸缩臂通过底部的滑轮在滑槽内运动,两侧伸缩臂可以向两个相反的方向运动,同时第一伸缩杆和第二伸缩杆可以使放卷机构在和支架之间产生很大的共振时,也能起到很好的缓冲作用,同时切割机构和收卷机构与两侧支架之间均设有缓冲装置,可以大大的减轻机器在运作时产生的共振,从而降低噪音,同时,通过底座下端设置的减震装置,可以减少午夜免费福利在运作的过程中与地面之间的共振,进而进一步的减轻噪音,保护工人的身体健康,提高工人干活的积极性。
附图说明
为了更清楚地说明本实用新型实施例或现有技术中的技术方案,下面将对实施例中所需要使用的附图作简单地介绍,显而易见地,下面描述中的附图仅仅是本实用新型的一些实施例,对于本领域普通技术人员来讲,在不付出创造性劳动的前提下,还可以根据这些附图获得其他的附图。
图1是根据本实用新型实施例的一种防噪音薄膜午夜免费福利示意图;
图2是根据本实用新型实施例的缓冲装置示意图;
图3是根据本实用新型实施例所述的减震装置示意图。
图中:
1、底座;2、支架;3、放卷机构;4、切割机构;5、收卷机构;6、固定盘;7、缓冲装置;8、凹槽;9、缓冲垫圈;10、支柱;11、伸缩臂;12、电机;13、弹片;14、卡环;15、固定臂一;16、第一伸缩杆;17、第二伸缩杆;18、固定臂二;19、滑轮;20、滑槽;21、减震装置;22、挡板;23、弹簧;24、下支撑板;25、支撑板;26、弹性垫;27、连接板。
具体实施方式
下面将结合本实用新型实施例中的附图,对本实用新型实施例中的技术方案进行清楚、完整地描述,显然,所描述的实施例仅仅是本实用新型一部分实施例,而不是全部的实施例。基于本实用新型中的实施例,本领域普通技术人员所获得的所有其他实施例,都属于本实用新型保护的范围。
根据本实用新型的实施例,提供了一种防噪音薄膜午夜免费福利。
如图1-3所示,根据本实用新型实施例的防噪音薄膜午夜免费福利,包括底座1、支架2、放卷机构3、切割机构4以及收卷机构5,所述底座1两侧固定有支架2,所述放卷机构3的两端通过固定盘6均固定连接在所述支架2的内壁上,所述切割机构4和所述收卷机构5的两端也均固定在所述支架2的内壁上,且所述切割机构4位于所述放卷机构3的上方后侧,所述收卷机构5位于所述切割机构4的上方后侧,所述固定盘6内部设有凹槽8,所述固定盘6和所述放卷机构3之间设有缓冲装置7,所述缓冲装置7包括缓冲垫圈9、支柱10和伸缩臂11,所述支柱10固定连接在所述缓冲垫圈9下端,所述支柱10上绕有若干弹片13,所述支柱10下端两侧均固定有卡环14,所述卡环14之间固定连接有连接板27,所述两侧卡环14下端均连接有所述伸缩臂11,所述伸缩臂11包括固定臂一15、第一伸缩杆16、第二伸缩杆17和固定臂二18,所述固定臂一15与所述卡环14活动连接,所述固定臂一15下端连接有第一伸缩杆16,所述第一伸缩杆16下端连接有第二伸缩杆17,所述第二伸缩杆17下端连接有固定臂二18,所述两侧固定臂二11下端均连接有滑轮19,所述滑轮19与滑槽20活动连接,所述滑槽20设置在所述凹槽8内。
借助于上述技术方案,通过在固定盘6和放卷机构3之间设置缓冲装置7,可以减轻放卷机构3在运转的过程中与支架2之间产生的共振,起到缓冲作用,从而减轻机器运作的过程中产生的噪音,通过缓冲垫圈9可以起到缓冲作用,缓冲垫圈9下端的支柱10和弹片13在收到压力的时候通过挤压弹片13进而挤压与卡环14连接的伸缩臂11,使伸缩臂11通过底部的滑轮19在滑槽20内运动,两侧伸缩臂11可以向两个相反的方向运动,同时第一伸缩杆16和第二伸缩杆17可以使放卷机构3在和支架2之间产生很大的共振时,也能起到很好的缓冲作用,可以大大的减轻机器在运作时产生的共振,从而降低噪音。
另外,所述底座1下端设有减震装置21,所述减震装置21包括挡板22、弹簧23、下支撑板24和支撑板25,所述挡板22固定在所述底座1下端,所述挡板22下端连接有弹簧23,所述挡板22两侧活动连接有支撑板25,所述两侧支撑板25内部固定有弹簧23,所述支撑板25下端固定有弹性垫26,所述弹性垫26固定在所述下支撑板24内腔顶部,所述下支撑板24为U形结构,且所述下支撑板24的内腔两侧与所述支撑板25表面固定连接,所述两侧支撑板25为弹性板,通过底座1下端设置的减震装置21,可以在午夜免费福利运作与地面产生共振时,通过挤压弹簧23,同时带动弹性支撑板25向下运动,并挤压支撑板25下端的弹性垫26,进一步的起到减震缓冲作用,减小午夜免费福利在运作的过程中与地面之间的共振,进而进一步的减轻噪音,保护工人的身体健康,提高工人干活的积极性。
此外,所述底座1上固定有电机12,所述电机12与所述放卷机构3、切割机构4和收卷机构5均传动连接,所述切割机构4和所述收卷机构5与所述两侧支架2连接处之间均设有缓冲装置7,通过电机12可以带动各个部件的运作,同时切割机构4和收卷机构5与两侧支架2连接处之间均设有缓冲装置7,可以进一步的减少各个部件与午夜免费福利之间的共振,大大的减轻了噪音。
综上所述,借助于上述技术方案,通过在固定盘6和放卷机构3之间设置缓冲装置7,可以减轻放卷机构3在运转的过程中与支架2之间产生的共振,起到缓冲作用,从而减轻机器运作的过程中产生的噪音,通过缓冲垫圈9可以起到缓冲作用,缓冲垫圈9下端的支柱10和弹片13在收到压力的时候通过挤压弹片13进而挤压与卡环14连接的伸缩臂11,使伸缩臂11通过底部的滑轮19在滑槽20内运动,两侧伸缩臂11可以向两个相反的方向运动,同时第一伸缩杆16和第二伸缩杆17可以使放卷机构3在和支架2之间产生很大的共振时,也能起到很好的缓冲作用,同时切割机构4和收卷机构5与两侧支架2之间均设有缓冲装置7,可以大大的减轻机器在运作时产生的共振,从而降低噪音,同时,通过底座1下端设置的减震装置21,可以减少午夜免费福利在运作的过程中与地面之间的共振,进而进一步的减轻噪音,保护工人的身体健康,提高工人干活的积极性。
以上所述仅为本实用新型的较佳实施例而已,并不用以限制本实用新型,凡在本实用新型的精神和原则之内,所作的任何修改、等同替换、改进等,均应包含在本实用新型的保护范围之内。
技术特征:
1.一种防噪音薄膜午夜免费福利,其特征在于,包括底座(1)、支架(2)、放卷机构(3)、切割机构(4)以及收卷机构(5),所述底座(1)两侧固定有支架(2),所述放卷机构(3)的两端通过固定盘(6)均固定连接在所述支架(2)的内壁上,所述切割机构(4)和所述收卷机构(5)的两端也均固定在所述支架(2)的内壁上,且所述切割机构(4)位于所述放卷机构(3)的上方后侧,所述收卷机构(5)位于所述切割机构(4)的上方后侧,所述固定盘(6)内部设有凹槽(8),所述固定盘(6)和所述放卷机构(3)之间设有缓冲装置(7),所述缓冲装置(7)包括缓冲垫圈(9)、支柱(10)和伸缩臂(11),所述支柱(10)固定连接在所述缓冲垫圈(9)下端,所述支柱(10)上绕有若干弹片(13),所述支柱(10)下端两侧均固定有卡环(14),所述卡环(14)之间固定连接有连接板(27),所述两侧卡环(14)下端均连接有所述伸缩臂(11),所述伸缩臂(11)包括固定臂一(15)、第一伸缩杆(16)、第二伸缩杆(17)和固定臂二(18),所述固定臂一(15)与所述卡环(14)活动连接,所述固定臂一(15)下端连接有第一伸缩杆(16),所述第一伸缩杆(16)下端连接有第二伸缩杆(17),所述第二伸缩杆(17)下端连接有固定臂二(18),所述两侧固定臂二(18)下端均连接有滑轮(19),所述滑轮(19)与滑槽(20)活动连接,所述滑槽(20)设置在所述凹槽(8)内。
2.根据权利要求1所述的一种防噪音薄膜午夜免费福利,其特征在于,所述底座(1)下端设有减震装置(21)。
3.根据权利要求2所述的一种防噪音薄膜午夜免费福利,其特征在于,所述减震装置(21)包括挡板(22)、弹簧(23)、下支撑板(24)和支撑板(25),所述挡板(22)固定在所述底座(1)下端,所述挡板(22)下端连接有弹簧(23),所述挡板(22)两侧活动连接有支撑板(25),所述两侧支撑板(25)内部固定有弹簧(23),所述支撑板(25)下端固定有弹性垫(26),所述弹性垫(26)固定在所述下支撑板(24)内腔顶部,所述下支撑板(24)为U形结构,且所述下支撑板(24)的内腔两侧与所述支撑板(25)表面固定连接,所述两侧支撑板(25)为弹性板。
4.根据权利要求1所述的一种防噪音薄膜午夜免费福利,其特征在于,所述底座(1)上固定有电机(12),所述电机(12)与所述放卷机构(3)、切割机构(4)和收卷机构(5)均传动连接。
5.根据权利要求1所述的一种防噪音薄膜午夜免费福利,其特征在于,所述切割机构(4)和所述收卷机构(5)与所述两侧支架(2)连接处之间均设有缓冲装置(7)。
技术总结
本实用新型公开了一种防噪音薄膜午夜免费福利,包括底座、支架、放卷机构、切割机构以及收卷机构,底座两侧固定有支架,放卷机构的两端通过固定盘均固定连接在支架的内壁上,切割结构和收卷机构的两端也均固定在支架的内壁上,且切割机构位于放卷机构的上方后侧,收卷机构位于切割机构的上方后侧,固定盘和放卷机构之间设有缓冲装置,固定盘内部设有凹槽,缓冲装置包括缓冲垫圈、支柱、伸缩臂和凹槽,支柱固定连接在缓冲垫圈下端,支柱上绕有若干弹片,支柱下端两侧均固定有卡环,卡环之间固定连接有连接板,两侧卡环下端均连接有伸缩臂。有益效果:大大减少午夜免费福利在运作时产生的共振,起到很好的缓冲作用,大大减轻噪音,保护工人的身体健康。
技术研发人员:李伟国;肖建光;熊华俊;康国峰;殷海龙;陈奇凯
受保护的技术使用者:浙江永盛薄膜科技有限公司
文档号码:201720502016
技术研发日:2017.05.08
技术公布日:2018.01.05