服务热线
180-5003-0233

一种用于太阳能光伏组件光伏eva封装膜的午夜免费福利
技术领域
1.本实用新型涉及午夜免费福利技术领域,具体为一种用于太阳能光伏组件光伏eva封装膜的午夜免费福利。
背景技术:
2.午夜免费福利是一种将宽幅纸张、云母带或薄膜分切成多条窄幅午夜精品免费视频的机械设备,常用于造纸机械、电线电缆云母带及印刷包装机械,午夜免费福利主要的运用于:无纺布;云母带、纸张、绝缘午夜精品免费视频及各种薄膜午夜精品免费视频分切、特别适宜于窄带(无纺布,纸张,绝缘午夜精品免费视频、云母带、薄膜等等)的分切。
3.中国专利公开号为cn209097886u的“一种新型可调试覆膜午夜免费福利的午夜免费福利构”,其中实用新型提供如下技术方案:“首先由铰链将上固定盖8与下固定盖10包裹固定在操作杆11的外表面,旋合第二螺栓9固定上固定盖8与下固定盖10,在固定的同时通过橡胶垫15使得与操作杆11紧密固定,再调节切割头12与切割头连接体13之间的长度为操作的长度,此时旋合第三螺栓14固定即可,当完全固定完毕”,上述技术方案存在一下缺陷,在对切割头进行防护时需要通过上固定盖、下固定盖和第二螺栓进行固定防护,固定的过程较麻烦需要通过多个步骤和工具进行隔离防护,智能化程度较低,需要花费一定的时间,故而提出了一种用于太阳能光伏组件光伏eva封装膜的午夜免费福利。
技术实现要素:
4.针对现有技术的不足,本实用新型提供了一种用于太阳能光伏组件光伏eva封装膜的午夜免费福利,具备通过智能化对切割刀片进行隔离防护提高了工作效率等优点,解决了在对切割头进行防护时需要通过上固定盖、下固定盖和第二螺栓进行固定防护,固定的过程较麻烦需要通过多个步骤和工具进行隔离防护,智能化程度较低,需要花费一定的时间的问题。
5.为实现上述目的,本实用新型提供如下技术方案:一种用于太阳能光伏组件光伏eva封装膜的午夜免费福利,包括切分机本体、转动杆、切割刀片、双向螺纹辊、静电棒放置架、气缸、气涨轴、滚轮式计米器安装位、切刀辊、梯形切刀固定架和手动螺丝阀,所述切分机本体的外部设有防护机构;
6.所述防护机构包括固定安装在切分机本体正表面上且数量为两个的丝杆,所述丝杆的外周壁上螺纹连接有连接座,两个所述连接座相对一侧的外壁之间固定连接有连接板,所述连接板的正表面上固定安装有延伸板,所述延伸板的内部固定安装有电动伸缩杆,所述电动伸缩杆的背侧的外壁上固定连接有移动板,所述移动板远离电动伸缩杆的一侧固定安装有数量为多个的防护壳。
7.进一步,所述切割刀片为圆环形,所述切割刀片的直径小于防护壳的长度,所述防护壳的长度大于切割刀片的直径的长度不小于二厘米。
8.进一步,所述电动伸缩杆的输出轴贯穿连接板的内部。
9.进一步,所述防护壳为矩形,所述切割刀片位于防护壳的内部。
10.进一步,所述延伸板的截面呈“c”字形。
11.进一步,所述电动伸缩杆可伸缩的最大距离为防护壳正面内壁与切割刀片外周壁之间的距离。
12.进一步,所述防护壳的外壁不会与切分机本体的外壁接触。
13.进一步,所述防护壳与切割刀片位于同一平面。
14.与现有技术相比,本技术的技术方案具备以下有益效果:
15.1、该一种用于太阳能光伏组件光伏eva封装膜的午夜免费福利,通过丝杆可以调节连接板的高度,通过电动伸缩杆可以调节移动板与切割刀片之间的距离,通过防护壳将切割刀片进行隔离防护,防止工作人员在检修机器时切割刀片对工作人员造成伤害,而且通过智能化还提高了对切割刀片防护隔离的工作效率。
16.2、该一种用于太阳能光伏组件光伏eva封装膜的午夜免费福利,其放料和收卷在同侧,可实现单人进行观察产品处理时的质量状态,如卷材中是否有杂质,是否有其他的不良情况,提高操作便捷性。
17.3、该一种用于太阳能光伏组件光伏eva封装膜的午夜免费福利,通过在收卷前的滚筒安装有弧度的弯辊,解决胶膜分切时切边叠层无法分开的问题,解决常规分切设备的双轴收卷的问题,单轴即可实现分切多钟尺寸的胶膜需求。
18.4、该一种用于太阳能光伏组件光伏eva封装膜的午夜免费福利,通过静电棒放置架上静电去除装置的安装,有效去除胶膜附带的带点离子。
附图说明
19.图1为本实用新型结构示意图;
20.图2为本实用新型图一俯视结构示意图;
21.图3为本实用新型图一防护壳正视结构示意图;
22.图4为本实用新型切分机本体轴侧图。
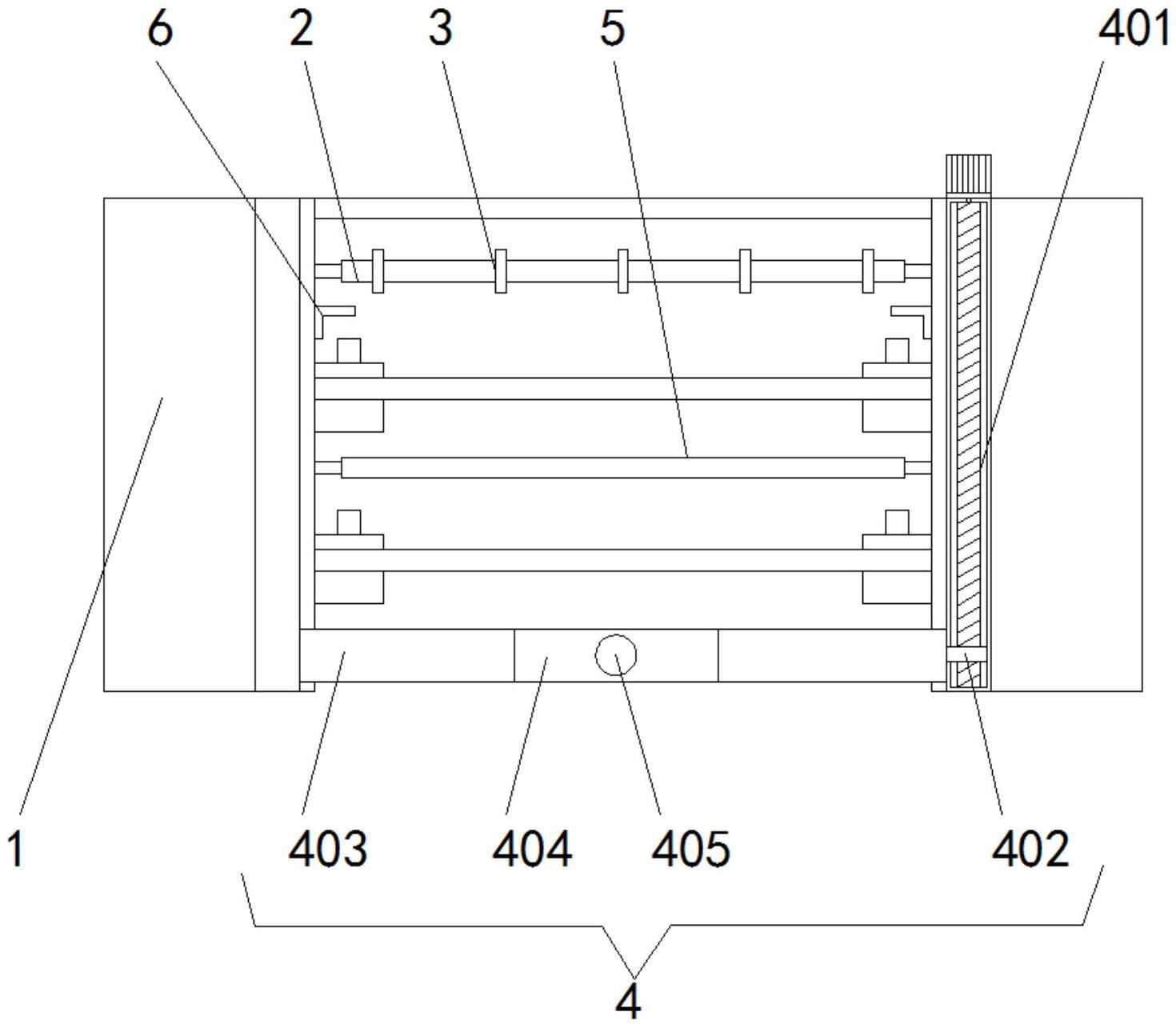
23.图中:1、切分机本体;2、转动杆;3、切割刀片;4、防护机构;401、丝杆;402、连接座;403、连接板;404、延伸板;405、电动伸缩杆;406、移动板;407、防护壳;5、双向螺纹辊;6、静电棒放置架;7、备用按钮;8、备用按钮;9、上气缸下压按钮;10、上气缸上升按钮;11、下气缸下压按钮;12、下气缸上升按钮;13、上收料张力控制器;14、张力显示屏幕;15、张力调节按钮;16、电源开关;17、下放料张力控制器;18、滚轮式计米器;19、米数设定栏;20、计米器参数调节栏;21、线速表;22、米数清零按钮;23、线速调节器;25、气缸;26、气涨轴;28、滚轮式计米器安装位;29、切刀辊;30、梯形切刀固定架;31、手动螺丝阀;32、主电源开关;33、电源指示灯;34、启动按钮;35、急停按钮;36、点东动按钮;37、静电去除装置电源开关。
具体实施方式
24.下面将结合本实用新型实施例中的附图,对本实用新型实施例中的技术方案进行清楚、完整地描述,显然,所描述的实施例仅仅是本实用新型一部分实施例,而不是全部的实施例。基于本实用新型中的实施例,本领域普通技术人员在没有做出创造性劳动前提下所获得的所有其他实施例,都属于本实用新型保护的范围。
25.请参阅图1-4,本实施例中的一种用于太阳能光伏组件光伏eva封装膜的午夜免费福利,包括切分机本体1、转动杆2、切割刀片3、双向螺纹辊5、静电棒放置架6、气缸25、气涨轴26、滚轮式计米器安装位28、切刀辊29、梯形切刀固定架30和手动螺丝阀31,切分机本体1的外部设有防护机构4。
26.防护机构4包括固定安装在切分机本体1正表面上且数量为两个的丝杆401,丝杆401的外周壁上螺纹连接有连接座402,两个连接座402相对一侧的外壁之间固定连接有连接板403,连接板403的正表面上固定安装有延伸板404,延伸板404的截面呈“c”字形,延伸板404的内部固定安装有电动伸缩杆405,电动伸缩杆405的输出轴贯穿连接板403的内部,电动伸缩杆405的背侧的外壁上固定连接有移动板406,移动板406远离电动伸缩杆405的一侧固定安装有数量为多个的防护壳407,电动伸缩杆405可伸缩的最大距离为防护壳407正面内壁与切割刀片3外周壁之间的距离,防护壳407的外壁不会与切分机本体1的外壁接触,切割刀片3为圆环形,切割刀片3的直径小于防护壳407的长度,防护壳407的长度大于切割刀片3的直径的长度不小于二厘米,防护壳407为矩形,切割刀片3位于防护壳407的内部,防护壳407与切割刀片3位于同一平面。
27.切分机本体1的外表面设有主电源开关32、电源指示灯33、启动按钮34、急停按钮35、点东动按钮36、静电去除装置电源开关37、备用按钮7、备用按钮8、上气缸下压按钮9、上气缸上升按钮10、下气缸下压按钮11、下气缸上升按钮12、上收料张力控制器13、张力显示屏幕14、张力调节按钮15、电源开关16、下放料张力控制器17、滚轮式计米器18、米数设定栏19、计米器参数调节栏20、线速表21、米数清零按钮22和线速调节器23。
28.本实施例中的,双向螺纹辊5铝合金制的双向展平辊的作用是防止收卷时胶膜起皱,辊面制有反向螺纹,该螺纹起到胶膜导向的作用,当采用弯辊时,可一次同批分切多种尺寸胶膜,可通过有一定的弧度弯辊防止收卷胶膜切边层叠在一起无法分开的问题。
29.本实施例中的,切刀装置结构:切刀采用型号skd-76/17气压分切刀,梯形切刀固定架,渡洛切刀辊。
30.本实施例中的,切刀使用原理:气压分切刀可通过本身自带的调节螺丝来实现固定松紧度,气压分切刀在分切不同尺寸的胶膜时,松开固定在切刀架的切刀,用卷尺量好切刀之间的距离,再上紧螺丝即可实现自由度很高的尺寸调节需求。
31.本实施例中的,气缸、手动螺丝阀,主要作用用来固定气涨轴,气涨轴可拆卸。
32.本实施例中的,静电棒放置架6采用型号xk-700a静电去除装置,该静电棒放置架6的部署位置更有效去除胶膜带点离子的含量,该静电棒放置架6可调节位置的高低,针对胶膜卷材的大小进行调节有效的距离,因光伏胶膜的特性问题,胶膜带点离子含量过高会造成光伏组件产生静电纹。
33.上述实施例的工作原理为:
34.当切分机本体1工作完毕后,此时通过丝杆401和连接座402使连接板403向上移动,当防护壳407移动到与切割刀片3的水平线相同时,此时电动伸缩杆405推动移动板406向切割刀片3的方向移动,当切割刀片3整体位于防护壳407的内部后,此时便完成了对切割刀片3隔离防护,防止切割刀片3对工作人员造成伤害。
35.需要说明的是,在本文中,诸如第一和第二等之类的关系术语仅仅用来将一个实体或者操作与另一个实体或操作区分开来,而不一定要求或者暗示这些实体或操作之间存
在任何这种实际的关系或者顺序。而且,术语“包括”、“包含”或者其任何其他变体意在涵盖非排他性的包含,从而使得包括一系列要素的过程、方法、物品或者设备不仅包括那些要素,而且还包括没有明确列出的其他要素,或者是还包括为这种过程、方法、物品或者设备所固有的要素。在没有更多限制的情况下,由语句“包括一个
……”
限定的要素,并不排除在包括所述要素的过程、方法、物品或者设备中还存在另外的相同要素。
36.尽管已经示出和描述了本实用新型的实施例,对于本领域的普通技术人员而言,可以理解在不脱离本实用新型的原理和精神的情况下可以对这些实施例进行多种变化、修改、替换和变型,本实用新型的范围由所附权利要求及其等同物限定。
技术特征:
1.一种用于太阳能光伏组件光伏eva封装膜的午夜免费福利,包括切分机本体(1)、转动杆(2)、切割刀片(3)、双向螺纹辊(5)、静电棒放置架(6)、气缸(25)、气涨轴(26)、滚轮式计米器安装位(28)、切刀辊(29)、梯形切刀固定架(30)和手动螺丝阀(31),其特征在于:所述切分机本体(1)的外部设有防护机构(4);所述防护机构(4)包括固定安装在切分机本体(1)正表面上且数量为两个的丝杆(401),所述丝杆(401)的外周壁上螺纹连接有连接座(402),两个所述连接座(402)相对一侧的外壁之间固定连接有连接板(403),所述连接板(403)的正表面上固定安装有延伸板(404),所述延伸板(404)的内部固定安装有电动伸缩杆(405),所述电动伸缩杆(405)的背侧的外壁上固定连接有移动板(406),所述移动板(406)远离电动伸缩杆(405)的一侧固定安装有数量为多个的防护壳(407)。2.根据权利要求1所述的一种用于太阳能光伏组件光伏eva封装膜的午夜免费福利,其特征在于:所述切割刀片(3)为圆环形,所述切割刀片(3)的直径小于防护壳(407)的长度,所述防护壳(407)的长度大于切割刀片(3)的直径的长度不小于二厘米。3.根据权利要求1所述的一种用于太阳能光伏组件光伏eva封装膜的午夜免费福利,其特征在于:所述电动伸缩杆(405)的输出轴贯穿连接板(403)的内部。4.根据权利要求1所述的一种用于太阳能光伏组件光伏eva封装膜的午夜免费福利,其特征在于:所述防护壳(407)为矩形,所述切割刀片(3)位于防护壳(407)的内部。5.根据权利要求1所述的一种用于太阳能光伏组件光伏eva封装膜的午夜免费福利,其特征在于:所述延伸板(404)的截面呈“c”字形。6.根据权利要求1所述的一种用于太阳能光伏组件光伏eva封装膜的午夜免费福利,其特征在于:所述电动伸缩杆(405)可伸缩的最大距离为防护壳(407)正面内壁与切割刀片(3)外周壁之间的距离。7.根据权利要求1所述的一种用于太阳能光伏组件光伏eva封装膜的午夜免费福利,其特征在于:所述防护壳(407)的外壁不会与切分机本体(1)的外壁接触。8.根据权利要求1所述的一种用于太阳能光伏组件光伏eva封装膜的午夜免费福利,其特征在于:所述防护壳(407)与切割刀片(3)位于同一平面。
技术总结
本实用新型涉及一种用于太阳能光伏组件光伏EVA封装膜的午夜免费福利,包括切分机本体、转动杆、切割刀片、双向螺纹辊、静电棒放置架、气缸、气涨轴、滚轮式计米器安装位、切刀辊、梯形切刀固定架和手动螺丝阀,所述切分机本体的外部设有防护机构,所述防护机构包括固定安装在切分机本体正表面上且数量为两个的丝杆,所述丝杆的外周壁上螺纹连接有连接座。该一种用于太阳能光伏组件光伏EVA封装膜的午夜免费福利,通过丝杆可以调节连接板的高度,通过电动伸缩杆可以调节移动板与切割刀片之间的距离,通过防护壳将切割刀片进行隔离防护,防止工作人员在检修机器时切割刀片对工作人员造成伤害,而且通过智能化还提高了对切割刀片防护隔离的工作效率。能化还提高了对切割刀片防护隔离的工作效率。能化还提高了对切割刀片防护隔离的工作效率。
技术研发人员:练彭辉 黄永建
受保护的技术使用者:江苏保均新材科技有限公司
技术研发日:2022.11.08
技术公布日:2023/6/3