午夜羞羞小视频,午夜免费福利,午夜精品免费视频,午夜免费看污污APP

行业新闻

当前位置:首页/新闻中心/行业新闻

塑料薄膜午夜免费福利用辅助分切装置的制作方法

2024年01月09日国知局浏览量:0

塑料薄膜午夜免费福利用辅助分切装置的制作方法

1.本实用新型属于塑料薄膜生产分切技术应用设备领域,尤其涉及一种塑料薄膜午夜免费福利用辅助分切装置。

背景技术:

2.塑料薄膜,用聚氯乙烯、聚乙烯、聚丙烯、聚苯乙烯以及其他树脂制成的薄膜,用于包装,以及用作覆膜层。塑料包装及塑料包装产品在市场上所占的份额越来越大,特别是复合塑料软包装,已经广泛地应用于食品、医药、化工等领域,其中又以食品包装所占比例最大,比如饮料包装、速冻食品包装、蒸煮食品包装、快餐食品包装等,这些产品都给人们生活带来了极大的便利。

3.目前,塑料薄膜在生产出来后,其长、宽尺寸一般较大,为了满足下游客户不同的使用需求,通常需要对塑料薄膜进行分切处理;现有技术中,应用在塑料薄膜生产分切过程中的分切设备,需要先将所生产出来的整片且尺寸较大塑料薄膜进行初步分切,然后再根据产品的出现需求进行进一步的分切,以获取小规格尺寸的塑料薄膜;而在实际生产过程中,人们将经初步分切后的塑料薄膜进行进一步的分切时,需要再设立一个分切设备,这样就大大增加了厂房的生产成本,若是对午夜免费福利的分切尺寸进行更改,一方面对于午夜免费福利的分切刀调整较为繁琐、复杂,在一定程度上会影响工作进程,另一方面,也可能会出现所分切出的、且规格尺寸小的塑料薄膜产品量过多,继而会存在造成堆积的可能,耗费厂房生产成本,造成资源的浪费,无法满足使用需求。

技术实现要素:

4.本实用新型针对上述所存在的技术问题,提出一种设计合理、结构简单、加工方便且能够利用现有生产设备,对经初步分切后的产品进行二次分切,且能按需生产,避免浪费,节约生产成本,提高工作进程,同时,可以实现设备的便捷调节,满足多种规格尺寸产品的生产需求,提升装置设备的实用性,满足厂房生产使用需求的塑料薄膜午夜免费福利用辅助分切装置。

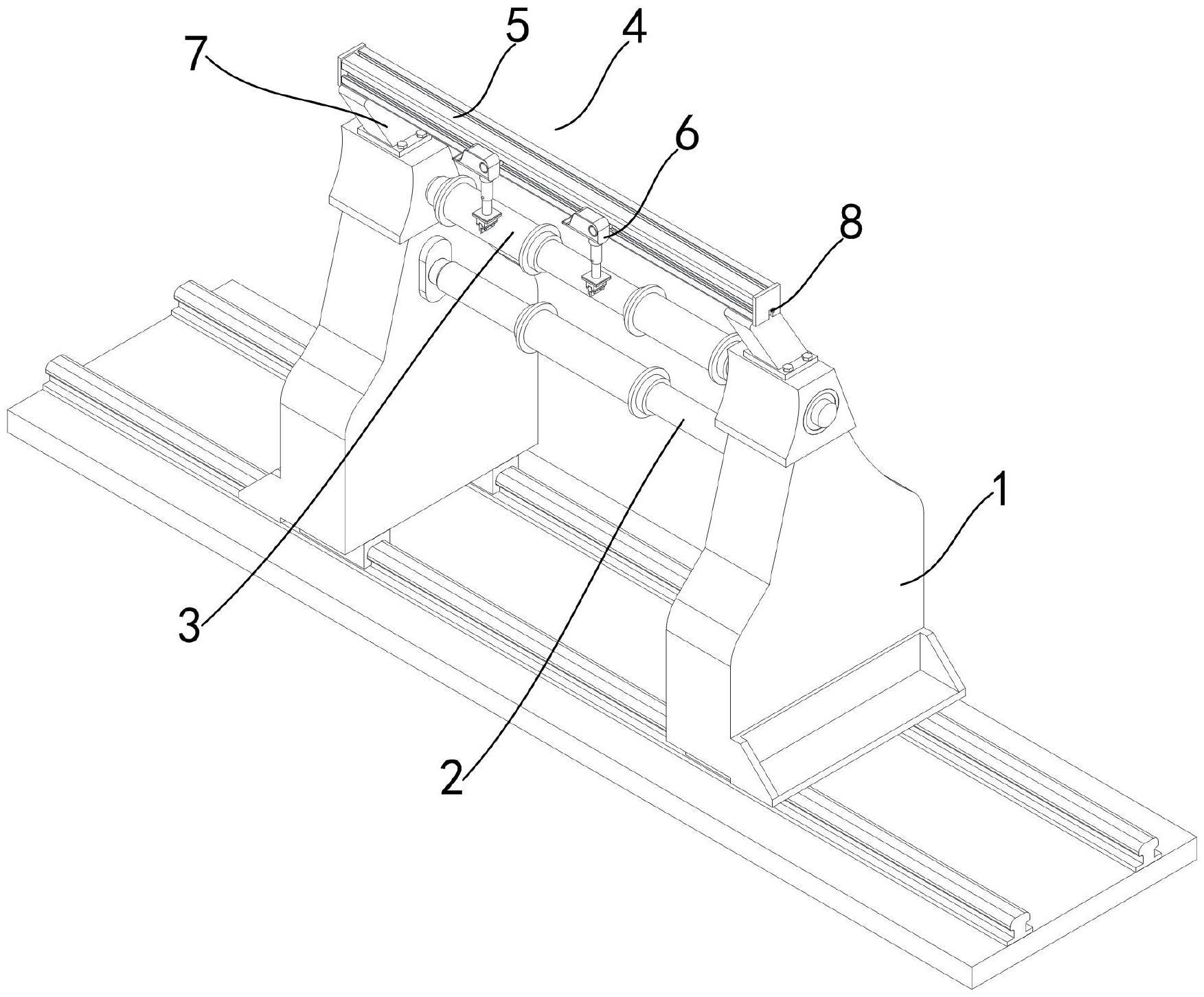
5.为了达到上述目的,本实用新型采用的技术方案为一种塑料薄膜午夜免费福利用辅助分切装置,包括应用于塑料薄膜午夜免费福利的承载台,所述承载台设置有两个且对称排布,两个所述承载台之间设置有用于承载经分切后塑料薄膜的承载部件,所述承载部件包括转轴,所述转轴外周套设有承载辊,两个所述承载台上方横跨设置有辅助午夜免费福利构,所述辅助午夜免费福利构包括安置板,所述安置板的一侧内开设有卡接槽,所述卡接槽内设置有分切部件,所述分切部件包括转动块,所述转动块内设置有异形卡块,所述转动块的一侧设置有伸缩杆,所述伸缩杆端部设置有刀座,所述刀座内设置有分切刀片。

6.作为优选,所述异形卡块呈t形设计并与卡接槽相卡接,所述异形卡块的端面且靠近转动块的一侧包括左异面和右异面,所述左异面上端呈弧面,其下端呈平面,所述左异面和右异面关于异形卡块的几何中心呈中心对称设计。

7.作为优选,所述卡接槽一侧呈t形状设计,另一侧呈梯形状设计。

8.作为优选,所述承载台上端和辅助午夜免费福利构之间还设置有倾斜设计的立台,所述立台上端设置有呈l形设计的限位块。

9.作为优选,所述安置板内的上下两侧还开设有呈l形设计的安装槽,且与限位块相适配卡接。

10.与现有技术相比,本实用新型的优点和积极效果在于,

11.1、本实用新型提供的一种塑料薄膜午夜免费福利用辅助分切装置,通过设置的承载部件,用于实现对经分切后不同规格尺寸的塑料薄膜进行承载,并将其收集起来,方便产品后续的出厂,通过设置的辅助午夜免费福利构,利用分切部件,可以对经初步分切后的塑料薄膜进行二次分切,以将其进一步分切成规格尺寸小的塑料薄膜,满足不同的出厂需求,其在很大程度上借助了现有生产设备,在一定程度上节约了厂房生产成本的投入,提高经济效益;本装置设计合理、结构简单、加工方便且能够利用现有生产设备,对经初步分切后的产品进行二次分切,且能按需生产,避免浪费,节约生产成本,提高工作进程,同时,可以实现设备的便捷调节,满足多种规格尺寸产品的生产需求,提升装置设备的实用性,满足厂房生产使用需求。

附图说明

12.为了更清楚地说明本实用新型实施例的技术方案,下面将对实施例描述中所需要使用的附图作一简单地介绍,显而易见地,下面描述中的附图是本实用新型的一些实施例,对于本领域普通技术人员来讲,在不付出创造性劳动性的前提下,还可以根据这些附图获得其他的附图。

13.图1为塑料薄膜午夜免费福利用辅助分切装置的结构示意图;

14.图2为塑料薄膜午夜免费福利用辅助分切装置的部分结构示意图;

15.图3为辅助午夜免费福利构的结构示意图;

16.图4为分切部件的结构示意图;

17.图5为安置板的内部结构侧视图;

18.图6为异形卡块的结构示意图;

19.以上各图中,1、承载台;2、转轴;3、承载辊;4、辅助午夜免费福利构;5、安置板;51、卡接槽;52、安装槽;6、分切部件;61、转动块;62、异形卡块;621、左异面;622、右异面;6211、平面;6212、弧面;63、伸缩杆;64、刀座;65、分切刀片;7、立台;8、限位块。

具体实施方式

20.为了能够更清楚地理解本实用新型的上述目的、特征和优点,下面结合附图和实施例对本实用新型做进一步说明。需要说明的是,在不冲突的情况下,本技术的实施例及实施例中的特征可以相互组合。

21.在下面的描述中阐述了很多具体细节以便于充分理解本实用新型,但是,本实用新型还可以采用不同于在此描述的其他方式来实施,因此,本实用新型并不限于下面公开说明书的具体实施例的限制。

22.实施例,如图1、图2、图3、图4、图5、图6所示,一种塑料薄膜午夜免费福利用辅助分切装

置,其是与现有塑料薄膜生产分切技术中的分切设备相配合使用的,在本实施例中,并未对现有分切设备进行改进,因此,并未在说明书附图及说明书中进行提及,但是,其作为现有成熟技术,会被所属技术领域的技术人员所知晓,进一步的说,包括应用于塑料薄膜午夜免费福利的承载台1,承载台1设置有两个且对称排布,其也是为现有成熟技术,在现有技术中,用于承载经初步分切的塑料薄膜,两个承载台1之间设置有用于承载经分切后塑料薄膜的承载部件,该承载部件能够相对承载台1发生转动,其驱动部件未示出,其可以实现对塑料薄膜的有效收卷,完成卷收工作;进一步的,承载部件包括转轴2,转轴2外周套设有承载辊3,在本实施例中,考虑到塑料薄膜需要开展二次分切,同时,为了确保经分切后的塑料薄膜能够有效收卷起来,而不会发生产品侧边交叉叠放的情况,承载部件设置有两组,承载辊3的规格尺寸也根据分切的塑料薄膜进行设立放置,满足人们不同的使用需求,此外,考虑到承载辊3需要进行稳定放置,其首选是套设在转轴2上的,承载辊3外侧两端的外周设置有锁止螺杆(图中未示出),且不影响塑料薄膜的卷收,锁止螺杆贯穿承载辊3的两端,并使其端部抵靠在转轴2上,从而避免承载辊3出现脱落,或发生偏移的可能,满足使用需求;进一步的,两个承载台1上方横跨设置有辅助午夜免费福利构4,辅助午夜免费福利构4包括安置板5,增加装置设备放置的稳定性,安置板5的一侧内开设有卡接槽51,以给分切部件6的放置提供便利条件;卡接槽51内设置有分切部件6,分切部件6包括转动块61,转动块61内设置有异形卡块62,具体的说,分切部件6水平放入卡接槽51中,再由人们转动转动块61,使得异形卡块62与卡接槽51处在相垂直的状态,进而完成卡接,保障了装置设备部件所放置的稳定性,满足使用需求,转动块61的一侧设置有伸缩杆63,伸缩杆63可以由人们进行手动调节分切位置,保障分切的彻底性,伸缩杆63端部设置有刀座64,刀座64内设置有分切刀片65,其中分切刀片65与刀座64间为螺栓连接,拆装便捷,实用性强,且操作简单便利,节约时间,提高工作进程;上述过程中:通过设置的承载部件,用于实现对经分切后不同规格尺寸的塑料薄膜进行承载,并将其收集起来,方便产品后续的出厂,通过设置的辅助午夜免费福利构4,利用分切部件6,可以对经初步分切后的塑料薄膜进行二次分切,以将其进一步分切成规格尺寸小的塑料薄膜,满足不同的出厂需求,其在很大程度上借助了现有生产设备,在一定程度上节约了厂房生产成本的投入,提高经济效益;本装置设计合理、结构简单、加工方便且能够利用现有生产设备,对经初步分切后的产品进行二次分切,且能按需生产,避免浪费,节约生产成本,提高工作进程,同时,可以实现设备的便捷调节,满足多种规格尺寸产品的生产需求,提升装置设备的实用性,满足厂房生产使用需求。

23.为了充分提升升装置设计的合理性,保证分切部件6能够顺利实现与卡接槽51间的连接,同时提高其连接间的稳定性,具体的,异形卡块62呈t形设计并与卡接槽51相卡接,异形卡块62的端面且靠近转动块61的一侧包括左异面621和右异面622,左异面621上端呈弧面6212,其下端呈平面6211,左异面621和右异面622关于异形卡块62的几何中心呈中心对称设计,具体描述为:两弧面6212的设计能够为异形卡块62卡进卡接槽51内提供了便利条件;异面卡块在转至竖直后,两平面6211能够与卡接槽51的内侧面进行有效贴合以实现卡接,保证各装置部件间的连接稳定性,为后续刀座64的安放提供便利,满足使用需求;需要进一步说明的是:人们可以根据不同的使用需求进行自由增设分切部件6的数量,且可左右自由移动及调整,大大增加了装置设备的实用性,满足多种塑料薄膜尺寸裁切的使用需求,提高工作进程。

24.为了进一步提升装置设备设计的合理性,卡接槽51一侧呈t形状设计,另一侧呈梯形状设计,一方面能够使得异形卡块62水平放入卡接槽51内提供了便利性,另一方面能够使得人们在转动转动块61使得异形卡块62处在与卡接槽51相垂直状态下,提供了先决条件,使得异形卡块62能够稳定卡接在卡接槽51内,实现了安置板5与分切部件6的稳定连接,满足使用需求。

25.为了给安置板5提供有利的安装位置,承载台1上端和辅助午夜免费福利构4之间还设置有倾斜设计的立台7,其一方面用于实现对辅助午夜免费福利构4的支撑,另一方面确保辅助午夜免费福利构4能够介于实际生产过程中的午夜免费福利构与承载台1之间,完成对塑料薄膜的二次分切,保证产品符合产品成型尺寸,满足出厂标准,进一步的,立台7上端设置有呈l形设计的限位块8,其能够为安置板5的放置提供便利,保障其放置位置的准确性与稳定性,满足使用需求。

26.为了保障安置板5所安装的稳定性,安置板5内的上下两侧还开设有呈l形设计的安装槽52,且与限位块8相适配卡接,当然,安置板5的规格尺寸参照两个承载台1放置的位置进行选取,确保安置板5能够横跨在装置设备上,满足使用需求,进一步的,安装槽一方面能够与限位块8进行卡接,确保安置板5放置的稳定性,且定位准确,另一方面,人们可以从上方的安装槽52放入连接螺栓(图中未示出),并使得连接螺栓贯穿安置板5,且与限位块8相螺纹连接,操作简单便利,实用性强。

27.以上所述,仅是本实用新型的较佳实施例而已,并非是对本实用新型作其它形式的限制,任何熟悉本专业的技术人员可能利用上述揭示的技术内容加以变更或改型为等同变化的等效实施例应用于其它领域,但是凡是未脱离本实用新型技术方案内容,依据本实用新型的技术实质对以上实施例所作的任何简单修改、等同变化与改型,仍属于本实用新型技术方案的保护范围。

技术特征:

1.一种塑料薄膜午夜免费福利用辅助分切装置,包括应用于塑料薄膜午夜免费福利的承载台,所述承载台设置有两个且对称排布,两个所述承载台之间设置有用于承载经分切后塑料薄膜的承载部件,其特征在于,所述承载部件包括转轴,所述转轴外周套设有承载辊,两个所述承载台上方横跨设置有辅助午夜免费福利构,所述辅助午夜免费福利构包括安置板,所述安置板的一侧内开设有卡接槽,所述卡接槽内设置有分切部件,所述分切部件包括转动块,所述转动块内设置有异形卡块,所述转动块的一侧设置有伸缩杆,所述伸缩杆端部设置有刀座,所述刀座内设置有分切刀片。2.根据权利要求1所述的塑料薄膜午夜免费福利用辅助分切装置,其特征在于,所述异形卡块呈t形设计并与卡接槽相卡接,所述异形卡块的端面且靠近转动块一侧包括左异面和右异面,所述左异面上端呈弧面,其下端呈平面,所述的左异面和右异面关于异形卡块的几何中心呈中心对称设计。3.根据权利要求2所述的塑料薄膜午夜免费福利用辅助分切装置,其特征在于,所述卡接槽一侧呈t形状设计,另一侧呈梯形状设计。4.根据权利要求3所述的塑料薄膜午夜免费福利用辅助分切装置,其特征在于,所述承载台上端和辅助午夜免费福利构之间还设置有倾斜设计的立台,所述立台上端设置有呈l形设计的限位块。5.根据权利要求4所述的塑料薄膜午夜免费福利用辅助分切装置,其特征在于,所述安置板内的上下两侧还开设有呈l形设计的安装槽,且与限位块相适配卡接。

技术总结

本实用新型属于塑料薄膜生产分切技术应用设备领域,尤其涉及一种塑料薄膜午夜免费福利用辅助分切装置,包括应用于塑料薄膜午夜免费福利的承载台,两个承载台之间设置有用于承载经分切后塑料薄膜的承载部件,两个承载台上方横跨设置有辅助午夜免费福利构,辅助午夜免费福利构包括安置板,安置板的一侧内开设有卡接槽,卡接槽内设置有分切部件,分切部件包括转动块,转动块内设置有异形卡块,转动块的一侧设置有伸缩杆,伸缩杆端部设置有刀座,刀座内设置有分切刀片。本实用新型能够利用现有生产设备,对经初步分切后的产品进行二次分切,按需生产,避免浪费,实现设备的便捷调节,满足多种生产需求,提升装置设备的实用性,满足厂房生产使用需求。满足厂房生产使用需求。满足厂房生产使用需求。

技术研发人员:林坚 孟卫东 刘玉东 马清玉

受保护的技术使用者:群力塑胶有限公司

技术研发日:2022.10.26

技术公布日:2023/4/19

网站地图