午夜羞羞小视频,午夜免费福利,午夜精品免费视频,午夜免费看污污APP

行业新闻

当前位置:首页/新闻中心/行业新闻

一种生产POF热收缩膜的光控午夜免费福利的制作方法

2024年01月09日国知局浏览量:0

一种生产POF热收缩膜的光控午夜免费福利的制作方法

本实用新型涉及热收缩膜分切技术领域,尤其涉及一种生产pof热收缩膜的光控午夜免费福利。

背景技术:

pof是一种热收缩膜,主要用于包装规则和不规则形状的产品,由于其无毒环保、高透明度、高收缩率、良好的热封性能,高光泽度、强韧性、抗撕裂、热收缩均匀及适合全自动高速包装等特点,是传统pvc热收缩膜的换代产品,广泛应用于汽车用品,塑料制品,文具,书本,电子,线路板,mp3,vcd,工艺品,相框等木制品,玩具,杀虫剂,日用品,食品,化妆品,罐装饮料,乳制品,医药,盒带及录像带等产品。

利用光控分割机在对pof热收缩膜分切的时候,利用导光条对光的反射使得光控午夜免费福利接收到信号,从而使得光控午夜免费福利对热收缩膜分切,而传统的分切方式存在对热收缩膜分切长度精度不高,同时分切后接膜的方式比较麻烦。

为解决上述问题,本申请中提出一种生产pof热收缩膜的光控午夜免费福利。

技术实现要素:

(一)实用新型目的

为解决背景技术中存在的技术问题,本实用新型提出一种生产pof热收缩膜的光控午夜免费福利,具有能够提高光控午夜免费福利对热收缩膜的分切长度精度和便于分切后对热收缩膜进行接膜的特点。

(二)技术方案

为解决上述问题,本实用新型提供了一种生产pof热收缩膜的光控午夜免费福利,包括外壳箱体,所述外壳箱体左端中部转动连接有放卷筒,所述外壳箱体右端中部转动连接有收卷筒,所述放卷筒和收卷筒通过热收缩膜本体相连接,所述外壳箱体内部上表面靠左侧固定连接有打标箱,所述打标箱左端设置有分切箱体,所述分切箱体内部上表面中部固定连接有底座,所述底座套接有液压伸缩杆的上端,所述液压伸缩杆下端固定连接有分切刀具,所述分切箱体内部中部下方固定连接有承切箱,所述承切箱上方设置有热收缩膜本体,所述热收缩膜本体贯穿分切箱体左右两侧面,所述承切箱内侧面靠左侧固定连接有真空发生器,所述真空发生器上侧面靠右侧间隔均匀开设有通孔,所述底座左侧固定连接有激光发射器,所述分切箱体内部左上角固定连接有控制箱,所述热收缩膜本体上表面粘接有导光条,所述激光发射器电性连接有控制箱,所述底座和真空发生器电性连接于控制箱。

优选的,所述打标箱内部上方固定连接有电机,所述电机下方连接有丝杠,所述电机采用步进电机。

优选的,所述丝杠螺纹连接有螺套,所述螺套下表面左右两端均固定连接有导向杆的上端,所述导向杆下端固定连接有导光条。

优选的,所述导光条和导光条之间通过粘性物质相连接,所述导光条和热收缩膜本体的之间的粘性大于导光条和导光条之间的粘性。

优选的,所述分切刀具内部固定连接有电磁加热器,所述电磁加热器电性连接于外部电源。

优选的,所述分切刀具纵向长度长度热收缩膜本体的纵向长度。

优选的,所述控制箱电性连接有电机,所述收卷筒和放卷筒内部均设置有磁粉刹车器。

本实用新型的上述技术方案具有如下有益的技术效果:

该生产pof热收缩膜的光控午夜免费福利,通过设置的导光条、激光发射器、分切刀具和真空发生器以及承切箱,当激光发射器发射出的激光被导光条反射后被激光发射器接收,控制箱控制收卷筒和放卷筒刹车,分切刀具对热收缩膜本体进行分切,分切热收缩膜本体后,启动真空发生器,使得承切箱内部为负压,使得热收缩膜本体分切口平整无皱吸附在承切箱上表面,便于后续的接膜,从而达到了具有能够提高光控午夜免费福利对热收缩膜的分切长度精度和便于分切后对热收缩膜进行接膜的效果。

附图说明

图1为本实用新型的整体结构示意图;

图2为本实用新型的打标箱结构示意图;

图3为本实用新型的分切箱体结构示意图;

图4为本实用新型的分切刀具结构示意图

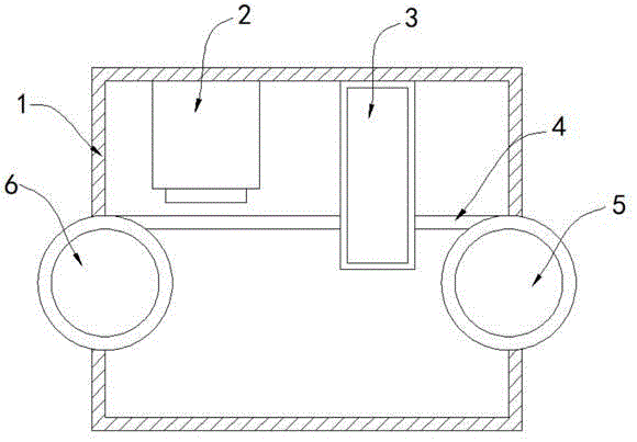
图中:1、外壳箱体;2、打标箱;3、分切箱体;4、热收缩膜本体;5、收卷筒;6、放卷筒;7、电机;8、丝杠;9、螺套;10、导向杆;11、导光条;12、真空发生器;13、承切箱;14、液压伸缩杆;15、激光发射器;16、底座;17、控制箱;18、分切刀具;19、通孔;20、电磁加热器。

具体实施方式

为使本实用新型的目的、技术方案和优点更加清楚明了,下面结合具体实施方式并参照附图,对本实用新型进一步详细说明。应该理解,这些描述只是示例性的,而并非要限制本实用新型的范围。此外,在以下说明中,省略了对公知结构和技术的描述,以避免不必要地混淆本实用新型的概念。

如图1-4所示,本实用新型提出的一种生产pof热收缩膜的光控午夜免费福利,包括外壳箱体1,所述外壳箱体1左端中部转动连接有放卷筒6,所述外壳箱体1右端中部转动连接有收卷筒5,所述放卷筒6和收卷筒5通过热收缩膜本体4相连接,所述外壳箱体1内部上表面靠左侧固定连接有打标箱2,所述打标箱2左端设置有分切箱体3,所述分切箱体3内部上表面中部固定连接有底座16,所述底座16套接有液压伸缩杆14的上端,所述液压伸缩杆14下端固定连接有分切刀具18,所述分切箱体3内部中部下方固定连接有承切箱13,所述承切箱13上方设置有热收缩膜本体4,所述热收缩膜本体4贯穿分切箱体3左右两侧面,所述承切箱13内侧面靠左侧固定连接有真空发生器12,所述真空发生器12上侧面靠右侧间隔均匀开设有通孔19,所述底座16左侧固定连接有激光发射器15,所述分切箱体3内部左上角固定连接有控制箱17,所述热收缩膜本体4上表面粘接有导光条11,所述激光发射器15电性连接有控制箱17,所述底座16和真空发生器12电性连接于控制箱17。

本实施例中,需要说明的是,所述打标箱2内部上方固定连接有电机7,所述电机7下方连接有丝杠8,所述电机7采用步进电机,采用这样的设置方式,可以使得电机7点动丝杠8,把导光条11打在热收缩膜本体4上。

本实施例中,需要说明的是,所述丝杠8螺纹连接有螺套9,所述螺套9下表面左右两端均固定连接有导向杆10的上端,所述导向杆10下端固定连接有导光条11,采用这样的设置方式,使得螺套9可以把丝杠8的回转运动变为直线运动,便于导光条11打在热收缩膜本体4上。

本实施例中,需要说明的是,所述导光条11和导光条11之间通过粘性物质相连接,所述导光条11和热收缩膜本体4的之间的粘性大于导光条11和导光条11之间的粘性,采用这样的设置方式,使得导光条11和热收缩膜本体4粘结后,使得导光条11和导光条11可以分离。

本实施例中,需要说明的是,所述分切刀具18内部固定连接有电磁加热器20,所述电磁加热器20电性连接于外部电源,采用这样的设置方式,使得分切刀具18可以被电磁加热器20加热,加热后的分切刀具18便于对热收缩膜本体4分切。

本实施例中,需要说明的是,所述分切刀具18纵向长度长度热收缩膜本体4的纵向长度,采用这样的设置方式,使得分切刀具18可以把热收缩膜本体4分切完整。

本实施例中,需要说明的是,所述控制箱17电性连接有电机7,所述收卷筒5和放卷筒6内部均设置有磁粉刹车器,采用这样的设置,便于控制箱17对电机7的控制,设置的磁性刹车器张力控制精准、渐变,防止收卷筒5和放卷筒6停车时发生走位错位现象。

工作原理:放卷筒6对热收缩膜本体4,当放卷筒6转动一定的圈数后,达到了预设长度后,控制箱17控制电机7电动,电机7带动丝杠8转动,丝杠8转动的弧长为导光条11到热收缩膜本体4之间的距离,螺套9把丝杠8的回转运动变为直线运动,通过导向杆10把导光条11打在热收缩膜本体4上,当激光发射器15发射出的激光被导光条11反射后被激光发射器15接收,控制箱17控制收卷筒5和放卷筒6刹车,控制箱17控制底座16使得液压伸缩杆14向下伸长,分切刀具18对热收缩膜本体4进行分切,分切热收缩膜本体4后,启动真空发生器12,使得承切箱13内部为负压,使得热收缩膜本体4分切口平整无皱吸附在承切箱13上表面。

以上显示和描述了本实用新型的基本原理、主要特征和本实用新型的优点。本行业的技术人员应该了解,本实用新型不受上述实施例的限制,上述实施例和说明书中描述的仅为本实用新型的优选例,并不用来限制本实用新型,在不脱离本实用新型精神和范围的前提下,本实用新型还会有各种变化和改进,这些变化和改进都落入要求保护的本实用新型范围内。本实用新型要求保护范围由所附的权利要求书及其等效物界定。

技术特征:

1.一种生产pof热收缩膜的光控午夜免费福利,包括外壳箱体(1),其特征在于,所述外壳箱体(1)左端中部转动连接有放卷筒(6),所述外壳箱体(1)右端中部转动连接有收卷筒(5),所述放卷筒(6)和收卷筒(5)通过热收缩膜本体(4)相连接,所述外壳箱体(1)内部上表面靠左侧固定连接有打标箱(2),所述打标箱(2)左端设置有分切箱体(3),所述分切箱体(3)内部上表面中部固定连接有底座(16),所述底座(16)套接有液压伸缩杆(14)的上端,所述液压伸缩杆(14)下端固定连接有分切刀具(18),所述分切箱体(3)内部中部下方固定连接有承切箱(13),所述承切箱(13)上方设置有热收缩膜本体(4),所述热收缩膜本体(4)贯穿分切箱体(3)左右两侧面,所述承切箱(13)内侧面靠左侧固定连接有真空发生器(12),所述真空发生器(12)上侧面靠右侧间隔均匀开设有通孔(19),所述底座(16)左侧固定连接有激光发射器(15),所述分切箱体(3)内部左上角固定连接有控制箱(17),所述热收缩膜本体(4)上表面粘接有导光条(11),所述激光发射器(15)电性连接有控制箱(17),所述底座(16)和真空发生器(12)电性连接于控制箱(17)。

2.根据权利要求1所述的一种生产pof热收缩膜的光控午夜免费福利,其特征在于,所述打标箱(2)内部上方固定连接有电机(7),所述电机(7)下方连接有丝杠(8),所述电机(7)采用步进电机。

3.根据权利要求2所述的一种生产pof热收缩膜的光控午夜免费福利,其特征在于,所述丝杠(8)螺纹连接有螺套(9),所述螺套(9)下表面左右两端均固定连接有导向杆(10)的上端,所述导向杆(10)下端固定连接有导光条(11)。

4.根据权利要求3所述的一种生产pof热收缩膜的光控午夜免费福利,其特征在于,所述导光条(11)和导光条(11)之间通过粘性物质相连接,所述导光条(11)和热收缩膜本体(4)的之间的粘性大于导光条(11)和导光条(11)之间的粘性。

5.根据权利要求1所述的一种生产pof热收缩膜的光控午夜免费福利,其特征在于,所述分切刀具(18)内部固定连接有电磁加热器(20),所述电磁加热器(20)电性连接于外部电源。

6.根据权利要求1所述的一种生产pof热收缩膜的光控午夜免费福利,其特征在于,所述分切刀具(18)纵向长度长度热收缩膜本体(4)的纵向长度。

7.根据权利要求1所述的一种生产pof热收缩膜的光控午夜免费福利,其特征在于,所述控制箱(17)电性连接有电机(7),所述收卷筒(5)和放卷筒(6)内部均设置有磁粉刹车器。

技术总结

本实用新型属于热收缩膜分切技术领域,尤其一种生产POF热收缩膜的光控午夜免费福利,包括外壳箱体,所述外壳箱体左端中部转动连接有放卷筒,所述外壳箱体右端中部转动连接有收卷筒,所述热收缩膜本体贯穿分切箱体左右两侧面,所述承切箱内侧面靠左侧固定连接有真空发生器,所述真空发生器上侧面靠右侧间隔均匀开设有通孔,所述底座左侧固定连接有激光发射器,所述分切箱体内部左上角固定连接有控制箱,所述热收缩膜本体上表面粘接有导光条,所述激光发射器电性连接有控制箱,所述底座和真空发生器电性连接于控制箱,该生产POF热收缩膜的光控午夜免费福利具有能够提高光控午夜免费福利对热收缩膜的分切长度精度和便于分切后对热收缩膜进行接膜的特点。

技术研发人员:谷思顺

受保护的技术使用者:微山县顺鑫塑料包装午夜精品免费视频有限公司

技术研发日:2020.07.24

技术公布日:2021.04.02

网站地图