服务热线
180-5003-0233

本实用新型涉及一种铜箔加工设备,特别涉及一种无毛刺铜箔午夜免费福利。
背景技术:
铜箔作为一种工业用品,广泛的用于电子领域,为了方便保存和运输,通常将铜箔收卷成卷;实际使用时还需要根据需要将铜箔裁切成合适的大小,常用铜箔午夜免费福利对比宽度较大的铜箔分切为宽度较小的铜箔;现有的铜箔午夜免费福利采用裁切刀对铜箔进行分切,在分切过程中,裁切刀两侧的铜箔会出现裁切质量差异,其中一侧铜箔裁切边光滑,另一侧的铜箔的裁切边容易产生毛刺。
技术实现要素:
本实用新型解决的技术问题是提供一种无毛刺铜箔午夜免费福利,分切后的铜箔边缘光滑无毛刺,提高午夜免费福利的加工品质。
本实用新型解决其技术问题所采用的技术方案是:一种无毛刺铜箔午夜免费福利,包括机架、上料装置、牵引装置、裁切装置和收料装置;所述上料装置安装在机架一侧;所述收料装置设置于机架远离上料装置的一侧;所述裁切装置设置于机架上,位于上料装置和收料装置之间;所述牵引装置设置于机架上;所述牵引装置包括多根牵引原料铜箔的牵引辊和牵引分切后铜箔的分料辊;所述牵引辊位于裁切装置靠近上料装置的一侧;所述分料辊位于裁切装置靠近收料装置的一侧;所述分料辊上设置有用于压紧毛刺的出料压辊。铜箔经裁切装置分切成多片铜箔,多片铜箔分别由多个分料辊牵引至收料装置收集成卷;出料压辊可以除去铜箔裁切边缘的毛刺,压紧铜箔,提高分切铜箔的质量。
进一步的是:所述裁切装置包括下刀轴和裁切刀组件;所述下刀轴位于裁切刀组件下方;所述裁切刀组件包括多组裁切刀。本铜箔午夜免费福利可设置一组裁切刀或者两组裁切刀将一卷铜箔分切为两卷或者三卷铜箔,裁切刀的安装数量根据实际需求决定。
进一步的是:所述分料辊包括毛刺边分料辊和侧边分料辊;所述毛刺边分料辊上方设置有用于压紧毛刺的出料压辊。实际生产时可根据铜箔分切情况,在裁切边有毛刺的铜箔分料辊上方设置出料压辊,将铜箔边缘的毛刺压紧,提高铜箔质量。
进一步的是:所述收料装置包括一号收料辊和二号收料辊。所述一号收料辊用于收卷边缘有毛刺被压平后的铜箔,所述二号收料辊可设置多组,用于收卷边缘光滑的铜箔。
附图说明
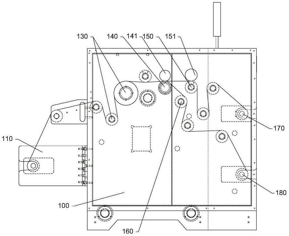
图1为无毛刺铜箔午夜免费福利结构示意图。
图中标记为:100、机架;110、上料装置;130、牵引辊;140、下刀轴;141、裁切刀组件;150、毛刺边分料辊;151、出料压辊;160、侧边分料辊;170、一号收料辊;180、二号收料辊。
具体实施方式
下面结合附图和具体实施方式对本实用新型进一步说明。
如图1所示,一种无毛刺铜箔午夜免费福利,包括机架100、上料装置110、牵引装置、裁切装置和收料装置;所述上料装置110安装在机架100一侧;所述收料装置设置于机架100远离上料装置110的一侧;所述裁切装置设置于机架100上,位于上料装置110和收料装置之间;所述牵引装置设置于机架100上;所述牵引装置包括多根牵引原料铜箔的牵引辊130和牵引分切后铜箔的分料辊;所述牵引辊130位于裁切装置靠近上料装置110的一侧;所述分料辊位于裁切装置靠近收料装置的一侧;所述分料辊上设置有用于压紧毛刺的出料压辊151。所述出料压辊151用于将有毛刺边的铜箔压平整,除去边缘毛刺,提高分切铜箔质量。
在上述基础上,如图1所示,所述裁切装置包括下刀轴140和裁切刀组件141;所述下刀轴140位于裁切刀组件141下方;所述裁切刀组件141包括多组裁切刀。裁切刀组件141可以配备两组裁切刀或者三组裁切刀,裁切刀的安装角度会影响铜箔裁切质量。
在上述基础上,如图1所示;所述分料辊包括毛刺边分料辊150和侧边分料辊160;所述毛刺边分料辊150上方设置有用于压紧毛刺的出料压辊151。实际操作时调整裁切刀的安装角度,将毛刺边控制在安装有出料压辊151的分料辊一侧,可减少出料压辊151的数量,提高出料压辊151的利用率。所述出料压辊151可选用钢辊或者胶辊,本实例中选用钢辊作为出料压辊151。
在上述基础上,如图1所示,所述收料装置包括一号收料辊170和二号收料辊180。所述一号收料辊170用于收集边缘毛刺被压紧后的铜箔,二号收料辊180用于收集边缘平滑的铜箔。
以上所述的具体实施例,对本实用新型的目的、技术方案和有益效果进行了进一步详细说明,所应理解的是,以上所述仅为本实用新型的具体实施例而已,并不用于限制本实用新型,凡在本实用新型的精神和原则之内,所做的任何修改、等同替换、改进等,均应包含在本实用新型的保护范围之内。
技术特征:
1.一种无毛刺铜箔午夜免费福利,其特征在于:包括机架(100)、上料装置(110)、牵引装置、裁切装置和收料装置;所述上料装置(110)安装在机架(100)一侧;所述收料装置设置于机架(100)远离上料装置(110)的一侧;所述裁切装置设置于机架(100)上,位于上料装置(110)和收料装置之间;所述牵引装置设置于机架(100)上;所述牵引装置包括多根牵引原料铜箔的牵引辊(130)和牵引分切后铜箔的分料辊;所述牵引辊(130)位于裁切装置靠近上料装置(110)的一侧;所述分料辊位于裁切装置靠近收料装置的一侧;所述分料辊上设置有用于压紧毛刺的出料压辊(151)。
2.根据权利要求1所述的一种无毛刺铜箔午夜免费福利,其特征在于:所述裁切装置包括下刀轴(140)和裁切刀组件(141);所述下刀轴(140)位于裁切刀组件(141)下方;所述裁切刀组件(141)包括多组裁切刀。
3.根据权利要求1所述的一种无毛刺铜箔午夜免费福利,其特征在于:所述分料辊包括毛刺边分料辊(150)和侧边分料辊(160);所述毛刺边分料辊(150)上方设置有用于压紧毛刺的出料压辊(151)。
4.根据权利要求1所述的一种无毛刺铜箔午夜免费福利,其特征在于:所述收料装置包括一号收料辊(170)和二号收料辊(180)。
技术总结
本实用新型涉及铜箔加工设备领域,公开了一种无毛刺铜箔午夜免费福利,包括机架、上料装置、牵引装置、裁切装置和收料装置;上料装置安装在机架一侧;收料装置设置于机架远离上料装置的一侧;裁切装置设置于机架上,位于上料装置和收料装置之间;牵引装置设置于机架上;牵引装置包括多根牵引原料铜箔的牵引辊和牵引分切后铜箔的分料辊;牵引辊位于裁切装置靠近上料装置的一侧;分料辊位于裁切装置靠近收料装置的一侧;分料辊上设置有用于压紧毛刺的出料压辊。铜箔经裁切装置分切成多片铜箔,多片铜箔分别由多个分料辊牵引至收料装置收集成卷;出料压辊可以除去铜箔裁切边缘的毛刺,压紧铜箔,提高分切铜箔的质量。
技术研发人员:李俊贤;胡涛
受保护的技术使用者:苏州领遥自动化科技有限公司
技术研发日:2019.11.29
技术公布日:2020.10.09