午夜羞羞小视频,午夜免费福利,午夜精品免费视频,午夜免费看污污APP

行业新闻

当前位置:首页/新闻中心/行业新闻

一种帘式膜切割机的制作方法

2024年01月13日国知局浏览量:0

一种帘式膜切割机的制作方法

1.本实用新型涉及中空纤维膜技术领域,具体为一种帘式膜切割机。

背景技术:

2.中空纤维膜主要应用于饮用水净化、污水处理、工业用水处理、饮料、生物、食品、医药、环保、化工、冶金、石油、火电等许多方面。根据中空纤维膜组件结构,主要有帘式膜组件和柱式膜组件,在对帘式膜进行加工切割时需要用到切割机,现有的帘式膜切割机在对帘式膜进行切割时,切割定位不方便调节,切割时缺少合适的压紧装置,且切割刀长期使用易发生磨损,对其进行拆卸更换维修较为麻烦。

技术实现要素:

3.(一)解决的技术问题

4.针对现有技术的不足,本实用新型提供了一种帘式膜切割机。

5.(二)技术方案

6.为实现上述目的,本实用新型提供如下技术方案:一种帘式膜切割机,包括底座,所述底座上端面设置有u型支撑架,所述u型支撑架底端设置有液压缸,所述液压缸底端设置有支撑板,所述支撑板底端设置有两个限位板,两个所述限位板之间设置有切割刀,所述切割刀两端均连接设置有连接轴,两个所述连接轴分别和两个所述限位板转动连接,右端所述连接轴向外延伸贯穿所述限位板,所述连接轴上设置有第一链轮,所述支撑板上端右侧设置有旋转电机,所述旋转电机连接外部电源,所述旋转电机的电机轴上设置有第二链轮,所述第一链轮和第二链轮之间连接设置有链条,所述支撑板上对应所述链条开设有通孔,所述底座上端面对应所述切割刀设置有两个磨刀石,所述底座上端面设置有两个支撑柱,两个所述支撑柱上端均设置有弧型支撑座,两个所述弧型支撑座上端面后侧均设置有两个连接块,两个所述连接块之间转动设置有弧型压紧板,所述弧型支撑座和弧型压紧板前端对应设置有第一螺纹孔和第二螺纹孔,所述第一螺纹孔和第二螺纹孔之间连接设置有第一螺纹杆,所述底座上端面左侧设置有挡板,所述挡板下端面两侧均设置有滑块,所述底座上端对应两个所述滑块开设有两个滑槽,所述挡板左侧设置有挡块,所述挡块上开设有第一定位孔,所述底座上端面对应所述第一定位孔开设有多个第二定位孔,所述第一定位孔和第二定位孔之间连接设置有第二螺纹杆。

7.在进一步中优选的是,所述底座上端面对应所述切割刀开设有收集槽。

8.在进一步中优选的是,所述支撑板上端面左侧设置有水箱,所述水箱底端设置有喷水管,所述喷水管外端设置有喷头,所述喷水管上设置有阀门。

9.在进一步中优选的是,所述水箱顶端铰接设置有箱门。

10.在进一步中优选的是,所述水箱左端贯穿设置有液位计。

11.在进一步中优选的是,两个所述滑槽内均设置有滑杆,两个所述滑杆分别和所述滑块滑动连接。

12.在进一步中优选的是,两个所述第一螺纹杆和所述第二螺纹杆顶端均设置有把手。

13.(三)有益效果

14.与现有技术相比,本实用新型提供了一种帘式膜切割机,具备以下有益效果:

15.本实用新型中,磨刀石的设计,长期使用切割刀,切割刀发生磨损,启动液压缸和旋转电机,液压缸带动切割刀向下,磨刀石对切割刀实现打磨,方便对切割刀进行磨削,延长使用寿命;弧型压紧板的设计,将弧型压紧板相对连接块转动,实现压紧,第一螺纹孔和第二螺纹孔对齐后,用第一螺纹杆实现连接,保证夹紧状态的稳定,方便操作,夹紧稳固;挡板的设计,转动挡块上的第二螺纹杆,带有把手的第二螺纹杆分别与第一定位孔和第二定位孔螺纹连接,根据切割需要调节挡板的位置,挡板底端的滑块相对滑杆在滑槽内滑动,挡板调节至合适位置后,转动第二螺纹杆穿过第一定位孔后和第二定位孔连接,保证挡板整体的稳固,方便根据需求调节挡板位置,按照需求进行切割。

附图说明

16.图1为本实用新型中一种帘式膜切割机优选的整体结构正面剖视图;

17.图2为本实用新型中一种帘式膜切割机优选的整体结构侧面剖视图;

18.图3为图1中a的局部结构放大示意图;

19.图4为图2中b的局部结构放大示意图。

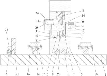
20.图中:1、底座;2、u型支撑架;3、液压缸;4、支撑板;5、限位板;6、切割刀;7、连接轴;8、第一链轮;9、旋转电机;10、第二链轮;11、链条;12、通孔;13、磨刀石;14、支撑柱;15、弧型支撑座;16、连接块;17、弧型压紧板;18、第一螺纹孔;19、第二螺纹孔;20、第一螺纹杆;21、挡板;22、滑块;23、滑槽;24、挡块;25、第一定位孔;26、第二定位孔;27、第二螺纹杆;28、收集槽;29、水箱;30、喷水管;31、喷头;32、阀门;33、箱门;34、液位计;35、滑杆;36、把手。

具体实施方式

21.下面将结合本实用新型实施例中的附图,对本实用新型实施例中的技术方案进行清楚、完整地描述,显然,所描述的实施例仅仅是本实用新型一部分实施例,而不是全部的实施例。基于本实用新型中的实施例,本领域普通技术人员在没有做出创造性劳动前提下所获得的所有其他实施例,都属于本实用新型保护的范围。

22.实施例:

23.请参阅图1‑4,一种帘式膜切割机,包括底座1,所述底座1上端面设置有u型支撑架2,所述u型支撑架2底端设置有液压缸3,所述液压缸3底端设置有支撑板4,所述支撑板4底端设置有两个限位板5,两个所述限位板5之间设置有切割刀6,所述切割刀6两端均连接设置有连接轴7,两个所述连接轴7分别和两个所述限位板5转动连接,右端所述连接轴7向外延伸贯穿所述限位板5,所述连接轴7上设置有第一链轮8,所述支撑板4上端右侧设置有旋转电机9,所述旋转电机9连接外部电源,所述旋转电机9的电机轴上设置有第二链轮10,所述第一链轮8和第二链轮10之间连接设置有链条11,所述支撑板4上对应所述链条11开设有通孔12,所述底座1上端面对应所述切割刀6设置有两个磨刀石13,所述底座1上端面设置有两个支撑柱14,两个所述支撑柱14上端均设置有弧型支撑座15,两个所述弧型支撑座15上

端面后侧均设置有两个连接块16,两个所述连接块16之间转动设置有弧型压紧板17,所述弧型支撑座15和弧型压紧板17前端对应设置有第一螺纹孔18和第二螺纹孔19,所述第一螺纹孔18和第二螺纹孔19之间连接设置有第一螺纹杆20,所述底座1上端面左侧设置有挡板21,所述挡板21下端面两侧均设置有滑块22,所述底座1上端对应两个所述滑块22开设有两个滑槽23,所述挡板21左侧设置有挡块24,所述挡块24上开设有第一定位孔25,所述底座1上端面对应所述第一定位孔25开设有多个第二定位孔26,所述第一定位孔25和第二定位孔26之间连接设置有第二螺纹杆27。

24.在本实施例中,所述底座1上端面对应所述切割刀6开设有收集槽28,收集槽28对切割刀6磨削时产生的碎屑实现收集。

25.在本实施例中,所述支撑板4上端面左侧设置有水箱29,所述水箱29底端设置有喷水管30,所述喷水管30外端设置有喷头31,所述喷水管30上设置有阀门32,水箱29内填充有切削液,切削液经带有喷头31的喷水管30向外喷射,对切割刀6实现降温保护。

26.在本实施例中,所述水箱29顶端铰接设置有箱门33,箱门33方便使用者向水箱29内加入切削液,方便操作。

27.在本实施例中,所述水箱29左端贯穿设置有液位计34,液位计34对水箱29内液位实现检测,方便观察水箱29内剩余切削液含量。

28.在本实施例中,两个所述滑槽23内均设置有滑杆35,两个所述滑杆35分别和所述滑块22滑动连接,滑块22和滑槽23配合滑动,保证挡板21滑动的稳定。

29.在本实施例中,两个所述第一螺纹杆20和所述第二螺纹杆27顶端均设置有把手36,把手36方便使用者对第一螺纹杆20和第二螺纹杆27进行转动,方便操作。

30.工作原理:

31.综上,在使用时,首先将待切割的帘式膜组件整体放置在带有弧型支撑座15的支撑柱14上端,转动挡块24上的第二螺纹杆27,带有把手36的第二螺纹杆27分别与第一定位孔25和第二定位孔26螺纹连接,根据切割需要调节挡板21的位置,挡板21底端的滑块22相对滑杆35在滑槽23内滑动,挡板21调节至合适位置后,转动第二螺纹杆27穿过第一定位孔25后和第二定位孔26连接,保证挡板21整体的稳固,将帘式膜组件推至挡板21一侧后,将弧型压紧板17相对连接块16转动,实现压紧,第一螺纹孔18和第二螺纹孔19对齐后,用第一螺纹杆20实现连接,保证夹紧状态的稳定,安装完成后,启动旋转电机9的电源,旋转电机9的电机轴转动,带动第二链轮10转动,第二链轮10带动链条11运转,进而实现第一链轮8转动,第一链轮8转动带动带有连接轴7的切割刀6转动,启动液压缸3,液压缸3带动支撑板4和切割刀6向下运动,进而实现切割,切割的同时,开启喷水管30的阀门32,水箱29内的切削液经喷水管30的喷头31向外喷出,实现降温,一次切割完成后,液压缸3带动整体装置向上移动,松开带有把手36的第一螺纹杆20,取下切下的部分后,将帘式膜组件向挡板21一侧推动,夹紧后再次切割,长期使用切割刀6,切割刀6发生磨损,启动液压缸3和旋转电机9,液压缸3带动切割刀6向下,磨刀石13对切割刀6实现打磨。

32.尽管已经示出和描述了本实用新型的实施例,对于本领域的普通技术人员而言,可以理解在不脱离本实用新型的原理和精神的情况下可以对这些实施例进行多种变化、修改、替换和变型,本实用新型的范围由所附权利要求及其等同物限定。

技术特征:

1.一种帘式膜切割机,包括底座(1),其特征在于,所述底座(1)上端面设置有u型支撑架(2),所述u型支撑架(2)底端设置有液压缸(3),所述液压缸(3)底端设置有支撑板(4),所述支撑板(4)底端设置有两个限位板(5),两个所述限位板(5)之间设置有切割刀(6),所述切割刀(6)两端均连接设置有连接轴(7),两个所述连接轴(7)分别和两个所述限位板(5)转动连接,右端所述连接轴(7)向外延伸贯穿所述限位板(5),所述连接轴(7)上设置有第一链轮(8),所述支撑板(4)上端右侧设置有旋转电机(9),所述旋转电机(9)连接外部电源,所述旋转电机(9)的电机轴上设置有第二链轮(10),所述第一链轮(8)和第二链轮(10)之间连接设置有链条(11),所述支撑板(4)上对应所述链条(11)开设有通孔(12),所述底座(1)上端面对应所述切割刀(6)设置有两个磨刀石(13),所述底座(1)上端面设置有两个支撑柱(14),两个所述支撑柱(14)上端均设置有弧型支撑座(15),两个所述弧型支撑座(15)上端面后侧均设置有两个连接块(16),两个所述连接块(16)之间转动设置有弧型压紧板(17),所述弧型支撑座(15)和弧型压紧板(17)前端对应设置有第一螺纹孔(18)和第二螺纹孔(19),所述第一螺纹孔(18)和第二螺纹孔(19)之间连接设置有第一螺纹杆(20),所述底座(1)上端面左侧设置有挡板(21),所述挡板(21)下端面两侧均设置有滑块(22),所述底座(1)上端对应两个所述滑块(22)开设有两个滑槽(23),所述挡板(21)左侧设置有挡块(24),所述挡块(24)上开设有第一定位孔(25),所述底座(1)上端面对应所述第一定位孔(25)开设有多个第二定位孔(26),所述第一定位孔(25)和第二定位孔(26)之间连接设置有第二螺纹杆(27)。2.根据权利要求1所述的一种帘式膜切割机,其特征在于:所述底座(1)上端面对应所述切割刀(6)开设有收集槽(28)。3.根据权利要求1所述的一种帘式膜切割机,其特征在于:所述支撑板(4)上端面左侧设置有水箱(29),所述水箱(29)底端设置有喷水管(30),所述喷水管(30)外端设置有喷头(31),所述喷水管(30)上设置有阀门(32)。4.根据权利要求3所述的一种帘式膜切割机,其特征在于:所述水箱(29)顶端铰接设置有箱门(33)。5.根据权利要求3所述的一种帘式膜切割机,其特征在于:所述水箱(29)左端贯穿设置有液位计(34)。6.根据权利要求1所述的一种帘式膜切割机,其特征在于:两个所述滑槽(23)内均设置有滑杆(35),两个所述滑杆(35)分别和所述滑块(22)滑动连接。7.根据权利要求1所述的一种帘式膜切割机,其特征在于:两个所述第一螺纹杆(20)和所述第二螺纹杆(27)顶端均设置有把手(36)。

技术总结

本实用新型涉及一种帘式膜切割机,包括底座,上端设有U型支撑架和液压缸,液压缸底端设有支撑板和两个限位板,限位板间设有切割刀和连接轴,连接轴上设有第一链轮,支撑板上设有旋转电机,旋转电机上设有第二链轮,底座上端设有两个磨刀石,底座上端设有两个支撑柱和弧型支撑座,弧型支撑座上端设有两个连接块和弧型压紧板,弧型支撑座和弧型压紧板设有第一螺纹孔和第二螺纹孔,底座上端设有挡板,挡板下端设有滑块,底座上端开设有两个滑槽,挡板左侧设有挡块,挡块上开设有第一定位孔,底座上端面开设有多个第二定位孔;磨刀石的设计,延长寿命;弧型压紧板的设计,夹紧稳固;挡板的设计,方便调节。方便调节。方便调节。

技术研发人员:施吉中

受保护的技术使用者:常州纽迈机械有限公司

技术研发日:2021.03.01

技术公布日:2021/12/16

网站地图