服务热线
180-5003-0233

本实用新型涉及热敏纸加工设备的技术领域,特别涉及一种热敏纸午夜免费福利进料部。
背景技术:
热敏纸是一种加工纸,其制造原理就是在优质的原纸上涂布一层热敏涂料(热敏变色层)。热敏纸在生产过程中需要经过午夜免费福利在纸卷芯上收卷形成一定规格、一定紧度要求的成品纸卷才能出厂。
如说明书附图5所示,现有技术中的热敏纸午夜免费福利进料部,其包括进料机架1,进料机架1上安装有气涨轴2,气涨轴2上放置卷状的热敏纸。进料机架1上位于气涨轴2的斜下方固定设置有张紧辊3,热敏纸从张紧辊3的下方引导后再输入至分切部进行分切。在实际生产中,人工引纸的过程会存在一定的误差,导致张紧辊3对热敏纸幅宽方向上各处的包紧力不均,当热敏纸进行正常输送后,热敏纸便会朝向包紧力较大的一侧跑偏,同时热敏纸的表面也会产生较多的折皱,故此问题亟待解决。
技术实现要素:
本实用新型的目的在于提供一种热敏纸午夜免费福利进料部,具有可调节张紧辊对热敏纸幅宽方向上的各处包紧力的均匀性,从而使得热敏纸在输送的过程中不易发生跑偏与折皱的效果。
本实用新型的上述技术目的是通过以下技术方案得以实现的:
一种热敏纸午夜免费福利进料部,包括进料机架,所述进料机架上沿进料方向依次设置有气涨轴和张紧辊,所述进料机架上位于张紧辊长度方向的两端分别设置有调节座,所述张紧辊的两端嵌入至调节座内;
所述调节座的侧壁螺纹连接有调节螺栓,所述调节螺栓旋入调节座的一端与所述张紧辊的端部抵接。
通过采用上述技术方案,松紧调节螺栓可不断地调节张紧辊两端的高度位置,使其对热敏纸幅宽方向上的各处包紧力尽可能地均匀,从而使得热敏纸在输送的过程中不易发生跑偏与折皱的现象。
本实用新型进一步设置为:所述张紧辊的两端同轴设置有延长杆,所述延长杆嵌入至调节座内,所述延长杆嵌入调节座的侧壁贴合设置有弹性垫片,所述调节螺栓的一端与所述弹性垫片抵接。
通过采用上述技术方案,弹性垫片能够避免延长杆与调节螺栓之间直接接触,对二者起到保护作用,同时还能够增大气涨轴两端高度的调整范围。
本实用新型进一步设置为:所述张紧辊的两端端面开设有容纳槽,所述延长杆部分位于容纳槽内,所述延长杆与容纳槽的槽底之间固定设置有弹簧。
通过采用上述技术方案,容纳槽和弹簧的设置能够方便将气涨轴的两端安装至调节座内。
本实用新型进一步设置为:所述进料机架的左右两侧设置有安装座,所述安装座的侧壁开设有安装缺口,所述气涨轴水平嵌入至安装缺口内,所述安装座上通过固定机构锁紧气涨轴。
通过采用上述技术方案,利用固定机构锁紧气涨轴,能够使得气涨轴上的卷状热敏纸在送料时更为稳定。
本实用新型进一步设置为:所述固定机构包括锁紧杆、锁紧块和U形螺栓,所述锁紧杆与锁紧块均与安装座铰接,所述锁紧杆的侧壁与气涨轴的侧壁抵接,所述锁紧杆上设置有卡紧缺口,所述锁紧块与卡紧缺口分别位于气涨轴的左右两侧;
所述U形螺栓包括连接杆以及与连接杆两端一体成型的螺纹杆,所述锁紧块的左右侧壁沿其长度方向对称设置有转动的连接柱,所述连接杆与卡紧缺口抵接,两个所述螺纹杆分别穿出对应的连接柱并螺纹连接有调节螺母。
通过采用上述技术方案,将锁紧块与锁紧杆转动到位,使得连接杆卡在卡紧缺口内,再利用调节螺母将U形螺栓锁紧,此时气涨轴便会被锁紧杆牢牢夹持于安装缺口内。
本实用新型进一步设置为:所述调节螺母与连接柱之间抵接有锁紧垫片。
通过采用上述技术方案,锁紧垫片能够增大调节螺母的紧固力,使得U形螺栓的连接杆能够牢牢固定锁紧杆,进而增加了气涨轴固定的稳定性。
本实用新型进一步设置为:所述锁紧块远离锁紧杆的一端连接有转动手柄。
通过采用上述技术方案,转动转动手柄即可对转动块与U形螺栓进行操作,方便了连接杆脱离出卡紧缺口。
本实用新型进一步设置为:所述卡紧缺口的侧壁贴合设置有橡胶垫块。
通过采用上述技术方案,橡胶垫块能够避免连接杆与卡紧缺口直接接触,对二者起到保护作用。
综上所述,本实用新型具有以下有益效果:
1.通过调节座和调节螺栓的设置,能够调节张紧辊两端的高低,进而调节其对经过的热敏纸的张紧力,使得热敏纸输送时表面不易发生折皱;
2.通过延长杆的设置,能够方便将气涨轴安装于调节座上;
3.通过固定机构的设置,能够锁紧气涨轴,使得热敏纸在送纸时更为平稳。
附图说明
图1是本实用新型中用于体现整体的结构示意图;
图2是图1中A部放大图,用于体现固定机构的结构示意图;
图3是本实用新型中用于体现张紧辊与延长杆之间的连接关系示意图;
图4是图1中B部放大图,用于体现调节螺栓与调节座之间的连接关系示意图;
图5是现有技术中用于体现热敏纸午夜免费福利进料部的结构示意图。
图中,1、进料机架;2、气涨轴;3、张紧辊;31、容纳槽;4、调节座;41、调节螺栓;5、延长杆;51、弹性垫片;6、安装座;61、安装缺口;62、铰接座;7、固定机构;71、锁紧杆;711、卡紧缺口;72、锁紧块;721、直边部;722、斜边部;7211、连接柱;73、U形螺栓;731、连接杆;732、螺纹杆;74、调节螺母;75、锁紧垫片;76、转动手柄;8、弹簧。
具体实施方式
以下结合附图对本实用新型作进一步详细说明。
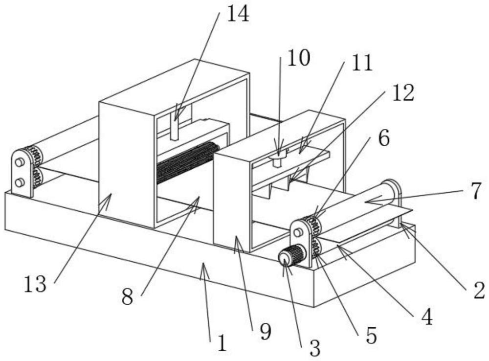
实施例:如图1所示,为本实用新型公开的一种热敏纸午夜免费福利进料部,包括进料机架1,进料机架1上安装有气涨轴2,气涨轴2上固定套设有卷状的热敏纸。在进料机架1上位于气涨轴2的左下方设置有张紧辊3,热敏纸经张紧辊3的下侧包紧后输送至热敏纸午夜免费福利的分切部进行分切工作。
如图1所示,进料机架1的左右两侧设置有安装座6,安装座6远离张紧辊3的侧壁沿水平方向开设有半圆形的安装缺口61,气涨轴2的两端便水平放置于安装缺口61内,安装座6上通过固定机构7锁紧气涨轴2。
如图2所示,该固定机构7包括锁紧杆71、锁紧块72和U形螺栓73。安装座6的上端固定设置有铰接座62,锁紧块72包括一体成型的直边部721和斜边部722,直边部721位于气涨轴2端部的左上方且与铰接座62铰接,斜边部722远离直边部721的一端一体成型有转动手柄76。锁紧杆71与安装座6铰接,且位于气涨轴2的前侧,锁紧杆71的上端延伸至铰接座62处,且其远离铰接座62的侧壁开设有卡紧缺口711,卡紧缺口711的侧壁设置有橡胶垫块(图中未示出)。
如图2所示,U形螺栓73包括连接杆731以及与连接杆731两端一体成型的螺纹杆732,在直边部721的左右两侧均转动连接有连接柱7211,连接杆731与卡紧缺口711抵接,两个螺纹杆732分别穿出对应的连接柱7211并螺纹连接有调节螺母74,调节螺母74与连接柱7211之间设置有用于加强二者之间紧固力的锁紧垫片75。
如图3所示,张紧辊3的左右两端端面开设有容纳槽31,容纳槽31内设置有延长杆5与弹簧8,延长杆5的外侧环绕设置有由橡胶午夜精品免费视频制成的弹性垫片51;弹簧8的一端与容纳槽31的槽底固定,另一端与延长杆5朝向容纳槽31槽底的端面固定。
如图3和4所示,在进料机架1上的相对侧壁上均固定设置有用于安装张紧辊3的调节座4,初始状态时弹簧8不受外力作用,延长杆5部分延伸出容纳槽31,挤压延长杆5,使得整个张紧辊3的长度略小于两个调节座4之间的距离,再将延长杆5分别插入至对应的调节座4内。在调节座4上还螺纹连接有调节螺栓41,调节螺栓41的的一端与弹性垫片51相抵接,旋动调节螺栓41即可调整张紧辊3两端各自的高度,进而使得其下侧经过的热敏纸沿幅宽方向上所受到的张紧力尽可能保持一致。
上述实施例的实施原理为:先将气涨轴2放置于安装缺口61内,转动锁紧杆71,使得锁紧杆71的侧面与气涨轴2抵接,紧接着通过转动手柄76转动锁紧块72,使得U形螺栓73的连接杆731卡接至卡紧缺口711内,再反向转动锁紧块72,同时拧紧调节螺母74,此时U形螺栓73整体便会朝向远离卡紧缺口711的方向移动,从而对气涨轴2的安装位置进行锁紧。
在热敏纸输送过程中,若发现其向张紧辊3的左侧移动时即意味着热敏纸左侧所受张紧辊3的张紧力较大,此时可拧紧右侧调节座4上的调节螺栓41,使得张紧辊3的左端高度降低至合适位置即可,从而增大张紧辊3对热敏纸右侧部分的张紧力,使得热敏纸在幅宽方向上的受力均匀。同理,若发现热敏纸朝向张紧辊3的右侧移动只需拧紧左侧调节座4上的调节螺栓41即可。
本具体实施例仅仅是对本实用新型的解释,其并不是对本实用新型的限制,本领域技术人员在阅读完本说明书后可以根据需要对本实施例做出没有创造性贡献的修改,但只要在本实用新型的权利要求范围内都受到专利法的保护。
技术特征:
1.一种热敏纸午夜免费福利进料部,包括进料机架(1),所述进料机架(1)上沿进料方向依次设置有气涨轴(2)和张紧辊(3),其特征在于:所述进料机架(1)上位于张紧辊(3)长度方向的两端分别设置有调节座(4),所述张紧辊(3)的两端嵌入至调节座(4)内;
所述调节座(4)的侧壁螺纹连接有调节螺栓(41),所述调节螺栓(41)旋入调节座(4)的一端与所述张紧辊(3)的端部抵接。
2.根据权利要求1所述的一种热敏纸午夜免费福利进料部,其特征在于:所述张紧辊(3)的两端同轴设置有延长杆(5),所述延长杆(5)嵌入至调节座(4)内,所述延长杆(5)嵌入调节座(4)的侧壁贴合设置有弹性垫片(51),所述调节螺栓(41)的一端与所述弹性垫片(51)抵接。
3.根据权利要求2所述的一种热敏纸午夜免费福利进料部,其特征在于:所述张紧辊(3)的两端端面开设有容纳槽(21),所述延长杆(5)部分位于容纳槽(21)内,所述延长杆(5)与容纳槽(21)的槽底之间固定设置有弹簧(8)。
4.根据权利要求3所述的一种热敏纸午夜免费福利进料部,其特征在于:所述进料机架(1)的左右两侧设置有安装座(6),所述安装座(6)的侧壁开设有安装缺口(61),所述气涨轴(2)水平嵌入至安装缺口(61)内,所述安装座(6)上通过固定机构(7)锁紧气涨轴(2)。
5.根据权利要求4所述的一种热敏纸午夜免费福利进料部,其特征在于:所述固定机构(7)包括锁紧杆(71)、锁紧块(72)和U形螺栓(73),所述锁紧杆(71)与锁紧块(72)均与安装座(6)铰接,所述锁紧杆(71)的侧壁与气涨轴(2)的侧壁抵接,所述锁紧杆(71)上设置有卡紧缺口(711),所述锁紧块(72)与卡紧缺口(711)分别位于气涨轴(2)的左右两侧;
所述U形螺栓(73)包括连接杆(731)以及与连接杆(731)两端一体成型的螺纹杆(732),所述锁紧块(72)的左右侧壁沿其长度方向对称设置有转动的连接柱(7211),所述连接杆(731)与卡紧缺口(711)抵接,两个所述螺纹杆(732)分别穿出对应的连接柱(7211)并螺纹连接有调节螺母(74)。
6.根据权利要求5所述的一种热敏纸午夜免费福利进料部,其特征在于:所述调节螺母(74)与连接柱(7211)之间抵接有锁紧垫片(75)。
7.根据权利要求6所述的一种热敏纸午夜免费福利进料部,其特征在于:所述锁紧块(72)远离锁紧杆(71)的一端连接有转动手柄(76)。
8.根据权利要求7所述的一种热敏纸午夜免费福利进料部,其特征在于:所述卡紧缺口(711)的侧壁贴合设置有橡胶垫块。
技术总结
本实用新型公开了一种热敏纸午夜免费福利进料部,属于热敏纸加工设备领域,其包括进料机架,所述进料机架上沿进料方向依次设置有气涨轴和张紧辊,所述进料机架上位于张紧辊长度方向的两端分别设置有调节座,所述张紧辊的两端嵌入至调节座内;所述调节座的侧壁螺纹连接有调节螺栓,所述调节螺栓旋入调节座的一端与所述张紧辊的端部抵接。本实用新型具有可调节张紧辊对热敏纸幅宽方向上的各处包紧力的均匀性,从而使得热敏纸在输送的过程中不易发生跑偏与折皱的效果。
技术研发人员:徐敏华
受保护的技术使用者:苏州冠威热敏纸有限公司
技术研发日:2018.12.15
技术公布日:2019.10.11