服务热线
180-5003-0233

本实用新型用于纸张午夜免费福利或者复卷机制动张力系统的稳定控制技术领域,尤其涉及一种午夜免费福利张力稳定系统。
背景技术:
现在大部分纸厂使用的午夜免费福利或者复卷机一般采用可控硅控制磁粉张力器或者启动减压阀调节气压控制胶皮刹车鼓的制动方式。这些传统的制动方式由于设备简单,磨损率高,维护繁杂等问题使得这些机械在操作中给纸张施与的张力极不稳定,造成纸张在卷纸中时常跑偏、断纸,造成大量浪费,并且产品质量难于得到保障。
高端滤纸由于瓦深及光滑的缘故,在张力不稳定时更难于分切,切出来的纸辊端面质量无法与国外同档次产品抗衡。产品在纸机生产很好,在最后一道分切工序无法解决分切质量问题,将导致客户对产品整体质量的看低,新的张力稳定系统正是基于此开发出来,解决这一棘手问题。
技术实现要素:
1.实用新型要解决的技术问题
针对现有技术的不足,本实用新型提供了一种午夜免费福利张力稳定系统,可精确控制气压大小,稳定分切,提高产品质量。
2.技术方案
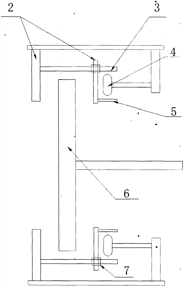
为达到上述目的,本实用新型提供的技术方案为:一种午夜免费福利张力稳定系统,包括电器控制柜8和水冷盘式制动器82,其中所述的电器控制柜8固定在午夜免费福利81的侧边,包括有数字变频张力调节器1;所述的水冷盘式制动器82通过转轴固定在午夜免费福利81的尾部,包括有水冷盘制动夹片2、通轴销3、气动盘4、定位销5、水冷制动盘片6、旋转圆套筒7。
优选的,所述的水冷盘制动夹片2通过通轴销3固定在水冷制动盘片6的顶部和底部。
优选的,所述的气动盘4与水冷盘式制动器82的侧壁固定在一起。
优选的,所述的定位销5固定在午夜免费福利81退纸架上。
优选的,所述的旋转圆套筒7固定在水冷盘制动夹片2和午夜免费福利81退纸架上,与通轴销3形成自由滑动关系。
3.有益效果
采用本实用新型提供的技术方案,与已有的公知技术相比,具有如下有益效果:
(1)采用数值调节稳定的变频器调控气动调压阀,可以根据需要任意调节大小,调节精度高,稳定性好,能够精确的控制气压的大小;
(2)在水冷盘制动夹持夹装置上增加了定位销和旋转圆套筒装置,确保了夹持的主被动双向灵活性,避免了单边夹持现象及双面受力不均现象,消除了夹持夹不经意产生的阻力因素。
附图说明
图1是一种午夜免费福利张力稳定系统的结构示意图;
图2是一种午夜免费福利张力稳定系统的水冷盘式制动器结构示意图。
示意图中的标号说明:
1、数字变频张力调节器;2、水冷盘制动夹片;3、通轴销;4、气动盘;5、定位销; 6、水冷盘制动盘片;7、旋转圆套筒;8、电器控制柜;81、午夜免费福利;82、水冷盘式制动器。
具体实施方式
为进一步了解本实用新型的内容,结合附图对本实用新型作详细描述。
如图1-2所示是本实用新型的结构示意图,一种午夜免费福利张力稳定系统,数字变频张力调节器1固定在午夜免费福利81的侧边,水冷盘式制动器82固定在午夜免费福利81的尾部,分别包括有水冷盘制动夹片2、通轴销3、气动盘4、定位销5、水冷盘制动盘片6、旋转圆套筒7。
实施例
为使本实用新型的目的、技术方案和优点更加清楚明了,下面结合具体实施方式并参照附图,对本实用新型进一步详细说明。应该理解,这些描述只是示例性的,而并非要限制本实用新型的范围。此外,在以下说明中,省略了对公知结构和技术的描述,以避免不必要地混淆本实用新型的概念。
本实施例所述的一种午夜免费福利张力稳定系统,包括电器控制柜8和水冷盘式制动器82,其中所述的电器控制柜8固定在午夜免费福利81的侧边,包括有数字变频张力调节器1;所述的水冷盘式制动器82通过转轴固定在午夜免费福利81的尾部,包括有水冷盘制动夹片2、通轴销3、气动盘4、定位销5、水冷制动盘片6、旋转圆套筒7。
优选的,所述的水冷盘制动夹片2通过通轴销3固定在水冷制动盘片6的顶部和底部。
优选的,所述的气动盘4与水冷盘式制动器82的侧壁固定在一起。
优选的,所述的定位销5固定在午夜免费福利81退纸架上。
优选的,所述的旋转圆套筒7固定在水冷盘制动夹片2和午夜免费福利81退纸架上,与通轴销3形成自由滑动关系。
在生产过程中,卷纸机下来的大轴纸辊装入午夜免费福利81退纸架,引纸到卷纸纸芯,调整偏斜,将纸固定到纸芯后即准备就绪。首先,通过数字变频张力调节器1根据纸辊直径大小设定好初始张力值,设定的数字值通过电气比例阀使得气压通过气动盘4加压水冷盘制动夹片夹紧水冷盘片6产生制动阻力。随着退纸卷与分切纸卷直径逐渐变化,均匀调节数字变频张力调节器1到适当的张力值,以保持卷纸在卷取过程中张力基本一致。
纸卷到达预定直径后开始停机,卸掉气压,水冷盘制动夹片2回复到自由状态,然后定位销5限制夹持夹的活动范围在操作行程内,等待下一次工作;通轴销3和旋转圆套筒 7保证了水冷盘制动夹片2主动侧和被动侧都能灵活来回往复夹持,制动力的大小完全由数字变频张力调节器1给定的数值控制。
经过生产实践,分切纸辊是否卷的平整、松紧一致、不跑偏,主要看午夜免费福利81在分切时是否张力足够保持稳定一致。其中决定午夜免费福利81张力是否稳定的主要部件是:电气比例阀输出的气压是否稳定和水冷盘式制动器82在夹持和松开过程中是否能保持灵活稳定。
分切过程中,退纸辊制动张力夹持夹得制动力大小完全由数字变频张力控制器给定的张力值确定,自身不产生任何制动阻力。数字变频张力调节器通过旋钮设定数字张力值在 0-9999范围,控制电气比例阀气压在0-5kg/cm2范围内固定值输出,数字变化,输出压力跟着变化,水冷盘制动片上产生的制动阻力也跟着变化。由于数字张力变频调节器数值工作稳定可靠,制动阻力也会稳定不变。这样就使得设定值和夹持夹阻力值之间建立起直线关联变化关系,数字变频器给定值大,阻力就大,数字变频器给定值小,阻力就小,数字变频器数值为0,夹持夹上施加的阻力也为0。
该系统采用的数字张力变频调节器设定张力值的大小使得张力值源头方面给定值是稳定的,可根据需要任意调节大小,调节精度高,稳定性好,不会因为可控硅电位器等器件的精度值、稳定性等因素使得张力值的源头给定一直变化不定了。
在水冷盘制动夹持夹装置设置定位销和旋转圆套筒装置,确保了夹持的主被动双向灵活性,避免了单边夹持现象及双面受力不均现象,消除了夹持夹不经意产生的阻力因素。同时张力系统全方位的改进,确保了切纸张力的稳定性和连续性。
应当理解的是,本实用新型的上述具体实施方式仅仅用于示例性说明或解释本实用新型的原理,而不构成对本实用新型的限制。因此,在不偏离本实用新型的精神和范围的情况下所做的任何修改、等同替换、改进等,均应包含在本实用新型的保护范围之内。此外,本实用新型所附权利要求旨在涵盖落入所附权利要求范围和边界、或者这种范围和边界的等同形式内的全部变化和修改例。
技术特征:
1.一种午夜免费福利张力稳定系统,包括电器控制柜(8)和水冷盘式制动器(82),其特征在于:所述的电器控制柜(8)固定在午夜免费福利(81)的侧边,包括有数字变频张力调节器(1);所述的水冷盘式制动器(82)通过转轴固定在午夜免费福利(81)的尾部,包括有水冷盘制动夹片(2)、通轴销(3)、气动盘(4)、定位销(5)、水冷制动盘片(6)、旋转圆套筒(7)。
2.根据权利要求1所述的一种午夜免费福利张力稳定系统,其特征在于:所述的水冷盘制动夹片(2)通过通轴销(3)固定在水冷制动盘片(6)的顶部和底部。
3.根据权利要求1或2所述的一种午夜免费福利张力稳定系统,其特征在于:所述的气动盘(4)与水冷盘式制动器(82)的侧壁固定在一起。
4.根据权利要求1或2所述的一种午夜免费福利张力稳定系统,其特征在于:所述的定位销(5)固定在午夜免费福利(81)退纸架上。
5.根据权利要求1所述的一种午夜免费福利张力稳定系统,其特征在于:所述的旋转圆套筒(7)固定在水冷盘制动夹片(2)和午夜免费福利(81)退纸架上,与通轴销(3)形成自由滑动关系。
技术总结
本实用新型涉及纸张午夜免费福利或者复卷机制动张力系统的稳定控制技术领域,尤其涉及一种午夜免费福利张力稳定系统,包括有电器控制柜和水冷盘式制动器,其中电气控制柜固定在午夜免费福利的侧边,水冷盘式制动器通过转轴固定在午夜免费福利的尾部;本实用新型采用变频器调控气动调压阀,调节精度高,稳定性好,实现了气压的精确控制,同时在水冷盘制动夹持夹装置上增加了定位销和旋转圆套简装置,确保了夹持的主被的双向灵活性,避免了单边夹持现象及双面受力不均现象,消除了夹持力不经意产生的阻力因素;本实用新型结构简单,设计合理,适于推广使用。
技术研发人员:董海涛;刘攀
受保护的技术使用者:安平县金城滤纸有限公司
文档号码:201720079496
技术研发日:2017.01.18
技术公布日:2018.01.05