服务热线
180-5003-0233

本实用新型涉及一种复卷机,具体是一种复卷机底刀辊平辊装置。
背景技术:
复卷机一般用于云母带、纸张、薄膜的复卷分切,起到一切为二的作用,常用于将宽幅的卷材分切,更为后续的再次分切起到了重要的作用,是一种用于纸类、云母带和薄膜的专用设备。卷筒纸在复卷过程中,原有的复卷机底刀辊直接压在纸面上,由于复卷机底刀辊表面有凹槽,压在纸面上时,纸面有压印痕,影响纸面外观,对产品的销售造成影响。为解决上述问题,现提供一种复卷机底刀辊平辊装置。
技术实现要素:
本实用新型的目的在于提供一种复卷机底刀辊平辊装置。
本实用新型的目的可以通过以下技术方案实现:
一种复卷机底刀辊平辊装置,包括底刀辊、固定套、螺柱、平板、轴承套和底刀辊平辊,所述固定套由上拱形套和下拱形套组成,上拱形套上设有通孔,下拱形套靠近半圆柱的一侧设有盲孔,螺栓穿过通孔和盲孔。
所述盲孔相对一侧的下拱形套上设有螺柱孔,螺柱孔内设有螺柱,螺柱上设有上锁紧螺母、限位螺母、平板和下锁紧螺母。
所述平板下侧焊有轴承套,轴承套的一侧均设有轴承,轴承之间设有底刀辊平辊。
所述固定套之间设有底刀辊。
所述上拱形套和下拱形套配合形成方形结构,上拱形套的半圆柱孔和下拱形套的半圆柱孔契合成一个完整的圆形通孔。
所述盲孔为螺纹孔。
所述螺柱孔为螺纹孔。
所述螺柱通过螺柱孔内的螺纹拧紧。
所述螺柱穿过平板,平板上侧设有限位螺母,下侧设有下锁紧螺母。
所述限位螺母调节平板的位置。
所述轴承套和轴承的一侧均设有耳朵架,两耳朵架位于同一水平线上,两耳朵架之间设有螺栓。
所述底刀辊和固定套滚动连接。
本实用新型的有益效果:
本实用新型在底刀辊下端固定了一根与底刀辊水平的底刀辊平辊,当卷筒纸在复卷过程中,纸业穿过底刀辊平辊,而底刀辊平辊给纸页一个向外侧的力,从而压住纸面,阻隔底刀辊直接压在纸面上,解决了因复卷机底刀辊表面凹槽引起的底刀印问题;同时平辊的位置可调节,使得纸业所受力的大小也可调节。
附图说明
下面结合附图对本实用新型作进一步的说明。
图1是本实用新型平辊装置结构示意图;
图2是图1中A处放大图;
图3是图1的左视图;
图4是平辊装置工作原理示意图。
具体实施方式
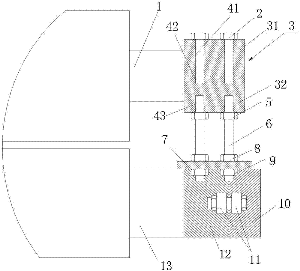
一种复卷机底刀辊平辊装置,包括底刀辊1、固定套3、螺柱6、平板7、轴承套10和底刀辊平辊13,如图1-3所示,固定套3由上拱形套31和下拱形套32组成,上拱形套31和下拱形套32配合形成方形结构,上拱形套31的半圆柱孔和下拱形套32的半圆柱孔契合成一个完整的圆形通孔;上拱形套31上设有通孔41,下拱形套32靠近半圆柱的一侧设有盲孔42,通孔41和盲孔42 在同一轴线上,盲孔42为螺纹孔,螺栓2穿过通孔41并通过盲孔42拧紧,使上拱形套31和下拱形套32形成完整的固定套3,固定套3之间设有底刀辊1,底刀辊1和固定套3滚动连接;盲孔42相对一侧的下拱形套32上设有螺柱孔 43,螺柱孔43为螺纹孔,且螺柱孔43和盲孔42位于同一轴线上。
螺柱孔43内设有螺柱6,螺柱6通过螺柱孔43内的螺纹拧紧,螺柱6上设有上锁紧螺母5、限位螺母8、平板7和下锁紧螺母9,上锁紧螺母5的一侧和下拱形套32的下侧紧密连接,形成摩擦力,起到固定螺柱6的作用;螺柱6穿过平板7,平板7上侧设有限位螺母8,下侧设有下锁紧螺母9,平板7通过和限位螺母8、下锁紧螺母9形成的摩擦力固定,平板7可通过限位螺母8的位置来调节自身位置,达到调节底刀辊平辊13位置的目的。
平板7下侧焊有轴承套10,如图1和图2所示,轴承套10的一侧均设有轴承12,轴承12之间设有底刀辊平辊13;轴承套10和轴承12的一侧均设有耳朵架11,两耳朵架11位于同一水平线上,两个耳朵架11通过螺栓连接固定,从而将轴承套10和轴承12连接固定。
底刀辊1下端固定一根与底刀辊1水平的底刀辊平辊13,当卷筒纸在复卷过程中,纸业直接穿过底刀辊平辊13,如图4所示,底刀辊平辊13给纸页一个向外侧的力,从而压住纸面,阻隔底刀辊1直接压在纸面上,解决了因复卷机底刀辊表面凹槽引起的底刀印问题。
以上内容仅仅是对本实用新型结构所作的举例和说明,所属本技术领域的技术人员对所描述的具体实施例做各种各样的修改或补充或采用类似的方式替代,只要不偏离实用新型的结构或者超越本权利要求书所定义的范围,均应属于本实用新型的保护范围。
技术特征:
1.一种复卷机底刀辊平辊装置,包括底刀辊(1)、固定套(3)、螺柱(6)、平板(7)、轴承套(10)和底刀辊平辊(13),其特征在于,所述固定套(3)由上拱形套(31)和下拱形套(32)组成,上拱形套(31)上设有通孔(41),下拱形套(32)靠近半圆柱的一侧设有盲孔(42),螺栓(2)穿过通孔(41)和盲孔(42);
所述盲孔(42)相对一侧的下拱形套(32)上设有螺柱孔(43),螺柱孔(43)内设有螺柱(6),螺柱(6)上设有上锁紧螺母(5)、限位螺母(8)、平板(7)和下锁紧螺母(9);
所述平板(7)下侧焊有轴承套(10),轴承套(10)的一侧均设有轴承(12),轴承(12)之间设有底刀辊平辊(13);
所述固定套(3)之间设有底刀辊(1)。
2.根据权利要求1所述的一种复卷机底刀辊平辊装置,其特征在于,所述上拱形套(31)和下拱形套(32)配合形成方形结构,上拱形套(31)的半圆柱孔和下拱形套(32)的半圆柱孔契合成一个完整的圆形通孔。
3.根据权利要求1所述的一种复卷机底刀辊平辊装置,其特征在于,所述盲孔(42)为螺纹孔。
4.根据权利要求1所述的一种复卷机底刀辊平辊装置,其特征在于,所述螺柱孔(43)为螺纹孔。
5.根据权利要求1所述的一种复卷机底刀辊平辊装置,其特征在于,所述螺柱(6)通过螺柱孔(43)内的螺纹拧紧。
6.根据权利要求1所述的一种复卷机底刀辊平辊装置,其特征在于,所述螺柱(6)穿过平板(7),平板(7)上侧设有限位螺母(8),下侧设有下锁紧螺母(9)。
7.根据权利要求6所述的一种复卷机底刀辊平辊装置,其特征在于,所述限位螺母(8)调节平板(7)的位置。
8.根据权利要求1所述的一种复卷机底刀辊平辊装置,其特征在于,所述轴承套(10)和轴承(12)的一侧均设有耳朵架(11),两耳朵架(11)位于同一水平线上,两耳朵架(11)之间设有螺栓。
9.根据权利要求1所述的一种复卷机底刀辊平辊装置,其特征在于,所述底刀辊(1)和固定套(3)滚动连接。
技术总结
本实用新型公开一种复卷机底刀辊平辊装置,包括底刀辊、固定套、螺柱、平板、轴承套和底刀辊平辊,所述固定套由上拱形套和下拱形套组成,上拱形套上设有通孔,下拱形套靠近半圆柱的一侧设有盲孔;所述盲孔相对一侧的下拱形套上设有螺柱孔,螺柱孔内设有螺柱,螺柱上设有上锁紧螺母、限位螺母、平板和下锁紧螺母;所述平板下侧焊有轴承套,轴承套的一侧均设有轴承,轴承之间设有底刀辊平辊。本实用新型在底刀辊下端固定了一根与底刀辊水平的底刀辊平辊,当卷筒纸在复卷过程中,纸业穿过底刀辊平辊,而底刀辊平辊给纸页一个指向正下方的力,从而压住纸面,阻隔底刀辊直接压在纸面上,解决了因复卷机底刀辊表面凹槽引起的底刀印问题。
技术研发人员:陈阴杰;黄德松;汤新根;杨金桥;徐飞
受保护的技术使用者:万邦特种午夜精品免费视频股份有限公司
文档号码:201720363005
技术研发日:2017.04.07
技术公布日:2018.01.05