服务热线
180-5003-0233

本实用新型涉及一种分条机,主要用于标签纸的分条。
背景技术:
标签纸生产完成之后,需要切割分条时,一般采用分条机进行分条。在现有技术中,一般在分切辊上设置多把环形分切到对产品进行分切,但是上述结构存在以下不足:由于分切辊为转动分切,容易将分切好的条状产品复卷于分切辊上,不仅影响分条质量,还容易损坏设备。
技术实现要素:
本实用新型目的是提供一种分条机,通过使用该结构,提高了分条效率及分条合格率,同时也提高了收卷质量。
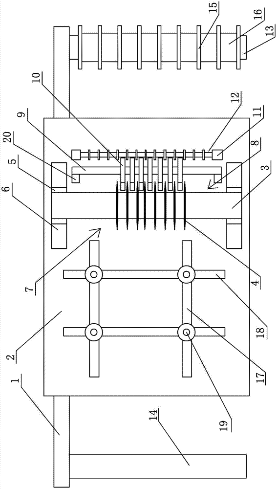
为达到上述目的,本实用新型采用的技术方案是:一种分条机,包括机架及设置于机架上的分切平台,所述分切平台上设有分切辊,所述分切辊的外缘面上设有复数片环形分切刀;所述分切辊的两端分别设有一支撑板,每块所述支撑板上设有一连接机构,所述分切辊的两端分别与所述连接机构相连;所述分切辊的左侧为进料端,右侧为出料端,所述出料端处设有一横杆,所述横杆的两端经支撑块安装于所述分切平台上,且所述横杆平行于所述分切辊设置;所述横杆上安装有复数块挡片,每块所述挡片分别插于相邻所述环形分切刀之间,且所述挡片与所述环形分切刀之间设有间隙;所述横杆的右侧还设有一限位传动棍,所述限位传动棍平行于所述横杆设置,所述限位传动棍的外缘面上设有复数条环形凹槽,每条所述环形凹槽正对一块挡片设置,且所述挡片对应插设于一条环形凹槽内。
上述技术方案中,所述分切辊的左侧还设有两根卡位条,所述卡位条垂直于所述分切辊设置,且所述卡位条下方的分切平台上还设有滑动槽,所述滑动槽平行于所述分切辊设置,所述卡位条经螺栓滑动安装于所述滑动槽内。
上述技术方案中,所述环形凹槽的宽度大于所述挡片的厚度。
上述技术方案中,所述挡片的底面与所述分切平台相互平行设置,每块所述挡片的前端分别插于相邻所述环形滚刀片之间;所述挡片的前端与所述 分切辊的外缘面之间设有2mm~5mm的间距,所述挡片前端的顶面呈倾斜面。
上述技术方案中,所述机架的右侧下部设有收卷辊,所述机架的左侧下部设有放卷辊,所述收卷辊及放卷辊平行于所述分切辊设置。
上述技术方案中,所述收卷棍上均布有复数块环形挡片,相邻环形挡片之间的距离大于相邻环形分切刀之间的距离。
上述技术方案中,相邻所述环形挡片之间的收卷棍上分别设有一卷筒,所述卷筒套设于所述收卷棍上,所述环形挡片套设于所述收卷棍上。
由于上述技术方案运用,本实用新型与现有技术相比具有下列优点:
1.本实用新型中通过在分切棍的出料端处设置横杆,并在横杆上安装挡片,挡片插设到相邻环形分切到之间,这样在分切使用时,挡片能够挡住分切好的产品,这样能够防止产品被卷绕到分切棍上,保证分切质量及分切效率,同时在横杆的旁侧设置限位传动棍,利用限位传动棍的设置,能够对分切好的产品进行压紧传动,进一步提高分切质量;
2.本实用新型中在收卷棍上设置多块环形挡片,这样在收卷时,能够对产品进行单独的收卷,便于产品的收集。
附图说明
图1是本实用新型实施例一中的结构示意图;
图2是本实用新型实施例一中挡片的立体结构示意图。
其中:1、机架;2、分切平台;3、分切辊;4、环形分切刀;5、支撑板;6、连接机构;7、进料端;8、出料端;9、横杆;10、挡片;11、限位传动棍;12、环形凹槽;13、收卷辊;14、放卷辊;15、环形挡片;16、卷筒;17、卡位条;18、滑动槽;19、螺栓;20、支撑块。
具体实施方式
下面结合附图及实施例对本实用新型作进一步描述:
实施例一:参见图1、2所示,一种分条机,包括机架1及设置于机架1上的分切平台2,所述分切平台2上设有分切辊3,所述分切辊3的外缘面上设有复数片环形分切刀4;所述分切辊3的两端分别设有一支撑板5,每块所述支撑板5上设有一连接机构6,所述分切辊3的两端分别与所述连接机构6相连;所述分切辊3的左侧为进料端7,右侧为出料端8,所述出料端8处设有一横杆9,所述横杆9的两端经支撑块20安装于所述分切平台2 上,且所述横杆9平行于所述分切辊3设置;所述横杆9上安装有复数块挡片10,每块所述挡片10分别插于相邻所述环形分切刀4之间,且所述挡片10与所述环形分切刀4之间设有间隙;所述横杆9的右侧还设有一限位传动棍11,所述限位传动棍11平行于所述横杆9设置,所述限位传动棍11的外缘面上设有复数条环形凹槽12,每条所述环形凹槽正对一块挡片设置,且所述挡片对应插设于一条环形凹槽内。
参见图1所示,所述机架1的右侧下部设有收卷辊13,所述机架1的左侧下部设有放卷辊14,所述收卷辊13及放卷辊14平行于所述分切辊3设置。
在本实施例中,在使用时,将宽度较大的标签原午夜精品免费视频放置到收卷棍上,然后将原午夜精品免费视频拉动到分切平台上,通过分切棍的下方,利用环形分切刀对原午夜精品免费视频进行分条,每根分条之后的产品会被挡片挡住,这样能够放置产品被复卷到收卷棍上,然后再通过限位传动棍的环形凹槽对产品压住传动,这样不仅能够防止产品被复卷到收卷棍上,还能够对产品进行传动导向,而且还能够利用环形凹槽的侧壁对产品进行限位,这样能够防止产品跑偏,便于后续的收卷。
参见图1所示,所述收卷棍13上均布有复数块环形挡片15,相邻环形挡片之间的距离大于相邻环形分切刀之间的距离。相邻所述环形挡片之间的收卷棍上分别设有一卷筒16,所述卷筒套设于所述收卷棍上,所述环形挡片套设于所述收卷棍上。
在本实施例中,在分条好的产品进行收卷时,通过环形挡片的设置,这样能够将各组分条好的产品区分开,同时通过卷筒的设置,这样每组产品都能够被复卷到卷筒上面,这样便于将复卷好的产品从收卷棍上取下,也便于收纳及后续的分切工序。
参见图1所示,所述分切辊3的左侧还设有两根卡位条17,所述卡位条17垂直于所述分切辊3设置,且所述卡位条17下方的分切平台2上还设有滑动槽18,所述滑动槽18平行于所述分切辊设置,所述卡位条17经螺栓19滑动安装于所述滑动槽18内。
在本实施例中,通过卡位条及滑动槽的设置,这样在使用时,能够调节两根卡位条之间的距离,这样能够对不同宽度的产品进行限位,保证分条质量,防止不均匀的问题出现。
所述环形凹槽的宽度大于所述挡片的厚度。
所述挡片的底面与所述分切平台相互平行设置,每块所述挡片的前端分别插于相邻所述环形滚刀片之间;所述挡片的前端与所述分切辊的外缘面之间设有2mm~5mm的间距,所述挡片前端的顶面呈倾斜面。

技术特征:
1.一种分条机,其特征在于:包括机架及设置于机架上的分切平台,所述分切平台上设有分切辊,所述分切辊的外缘面上设有复数片环形分切刀;所述分切辊的两端分别设有一支撑板,每块所述支撑板上设有一连接机构,所述分切辊的两端分别与所述连接机构相连;所述分切辊的左侧为进料端,右侧为出料端,所述出料端处设有一横杆,所述横杆的两端经支撑块安装于所述分切平台上,且所述横杆平行于所述分切辊设置;所述横杆上安装有复数块挡片,每块所述挡片分别插于相邻所述环形分切刀之间,且所述挡片与所述环形分切刀之间设有间隙;所述横杆的右侧还设有一限位传动棍,所述限位传动棍平行于所述横杆设置,所述限位传动棍的外缘面上设有复数条环形凹槽,每条所述环形凹槽正对一块挡片设置,且所述挡片对应插设于一条环形凹槽内。
2.根据权利要求1所述的分条机,其特征在于:所述分切辊的左侧还设有两根卡位条,所述卡位条垂直于所述分切辊设置,且所述卡位条下方的分切平台上还设有滑动槽,所述滑动槽平行于所述分切辊设置,所述卡位条经螺栓滑动安装于所述滑动槽内。
3.根据权利要求1所述的分条机,其特征在于:所述环形凹槽的宽度大于所述挡片的厚度。
4.根据权利要求1所述的分条机,其特征在于:所述挡片的底面与所述分切平台相互平行设置,每块所述挡片的前端分别插于相邻所述环形滚刀片之间;所述挡片的前端与所述分切辊的外缘面之间设有2mm ~5mm 的间距,所述挡片前端的顶面呈倾斜面。
5.根据权利要求1所述的分条机,其特征在于:所述机架的右侧下部设有收卷辊,所述机架的左侧下部设有放卷辊,所述收卷辊及放卷辊平行于所述分切辊设置。
6.根据权利要求5所述的分条机,其特征在于:所述收卷棍上均布有复数块环形挡片,相邻环形挡片之间的距离大于相邻环形分切刀之间的距离。
7.根据权利要求6所述的分条机,其特征在于:相邻所述环形挡片之间的收卷棍上分别设有一卷筒,所述卷筒套设于所述收卷棍上,所述环形挡片套设于所述收卷棍上。
技术总结
本实用新型公开了一种分条机,其特征在于:包括机架及设置于机架上的分切平台,所述分切平台上设有分切辊,分切辊的外缘面上设有复数片环形分切刀;分切辊的左侧为进料端,右侧为出料端,所述出料端处设有一横杆,所述横杆的两端经支撑块安装于所述分切平台上,且所述横杆平行于所述分切辊设置;所述横杆上安装有复数块挡片,每块所述挡片分别插于相邻所述环形分切刀之间,且所述挡片与所述环形分切刀之间设有间隙;所述横杆的右侧还设有一限位传动棍,所述限位传动棍平行于所述横杆设置,所述限位传动棍的外缘面上设有复数条环形凹槽,每条所述环形凹槽正对一块挡片设置,且所述挡片对应插设于一条环形凹槽内。本实用新型提高了标签的分条质量。
技术研发人员:窦伟强;朱杰;闵博飞;徐孝平
受保护的技术使用者:开普洛克(苏州)午夜精品免费视频科技有限公司
文档号码:201721302079
技术研发日:2017.10.11
技术公布日:2018.05.01