服务热线
180-5003-0233

本实用新型涉及午夜免费福利技术领域,具体涉及一种锂电池膜午夜免费福利专用刀具。
背景技术:
锂电池的结构中,隔膜是关键的内层组件之一。隔膜的性能决定了电池的界面结构、内阻等,直接影响电池的容量、循环以及安全性能等特性,性能优异的隔膜对提高电池的综合性能具有重要的作用。隔膜的主要作用是使电池的正、负极分隔开来,防止两极接触而短路,此外还具有能使电解质离子通过的功能。隔膜材质是不导电的,其物理化学性质对电池的性能有很大的影响。电池的种类不同,采用的隔膜也不同。对于锂电池系列,由于电解液为有机溶剂体系,因而需要有耐有机溶剂的隔膜午夜精品免费视频,一般采用高强度薄膜化的聚烯烃多孔膜。
锂电池膜在生产过程中需要经过午夜免费福利切割成需要的尺寸,目前所使用的午夜免费福利,刀片都是通过刀座固定在分切刀架上的,由于在生产过程中,锂电池膜的厚度是变化的,因此需要调节刀片在刀座上的位置,现有调节手段比较简单,不能精确调节刀片的位置。
技术实现要素:
为解决上述技术问题,本实用新型公开了一种锂电池膜午夜免费福利专用刀具,能够精确调节刀片在刀座上的位置,能够适应多种尺寸锂电池膜的分切作业。
本实用新型采用如下技术方案:
一种锂电池膜午夜免费福利专用刀具,包括刀座以及设置于所述刀座上的刀片,所述刀座上设有导向槽,所述导向槽内滑动设有一滑动座,所述刀片固定于所述滑动座上,所述刀座上还设有驱动所述滑动座滑动的驱动机构。
优选的,所述驱动机构包括沿所述导向槽的长度方向设置的丝杠以及与所述丝杠相配合的丝母,所述丝杠转动设置于所述刀座上,所述丝母固定于所述滑动座上,所述丝杠上位于所述刀座的外侧设有手柄,通过转动丝杠来调节刀片的位置,提高刀片调节的精度度。
优选的,所述刀座上还设有角度限定机构,所述角度限定机构包括固定于所述手柄上的限定座以及设置于所述刀座上的限定腔,所述限定腔与所述丝杠同轴设置,所述限定座转动于所述限定腔内并与所述丝杠固定连接,所述限定腔的内壁周向上均匀分布有直齿,所述限定座上沿径向设有滑腔,所述滑腔内滑动设有与所述直齿相配合的锥形顶块,所述锥形顶块与所述滑腔的内底部之间还连接有弹性件,手柄每次只能转动一个直齿的距离,当直齿的数量已知,即可精确的调节刀片的位置。
优选的,所述锥形顶块的端部还转动设有滚珠,所述滚珠设置于相邻两个所述直齿之间,减小转动时的摩擦力。
优选的,所述刀座上与所述丝杠同轴设有安装腔,所述安装腔内设有安装座,所述安装座的轴向设有所述限定腔,所述安装座沿轴向滑动于所述安装腔内,安装座可拆卸的安装在安装腔内,不同的安装座内可以设定不同数量的直齿,根据调节精度的需要更换安装座即可。
优选的,所述安装腔的内壁上沿轴向设有滑槽,所述安装座的外壁上设有与所述滑槽相配合的滑块,所述安装座通过所述滑块滑动于所述滑槽内。
优选的,所述滑动座上沿所述导向槽的长度方向分布有若干安装孔,所述刀片通过紧固装置固定于所述安装孔内,刀片在滑动座上的位置也可调节,扩大刀片的位置范围。
本实用新型的有益效果:本实用新型能够精确调节刀片在刀座上的位置,适应多种尺寸锂电池膜的分切作业。
附图说明
附图用来提供对本实用新型的优选的理解,并且构成说明书的一部分,与本实用新型的实施例一起用于解释本实用新型,并不构成对本实用新型的限制。在附图中:
图1为本实用新型的整体结构示意图;
图2为本实用新型刀座未安装滑动座时的结构示意图;
图3为本实用新型滑动座的结构示意图;
图4为图1的剖视结构示意图;
图5为图4中限定座处的放大示意图;
图6为本实用新型手柄、限定座和丝杠连接处的结构示意图;
图7为本实用新型安装座处的结构示意图;
图8为本实用新型刀座上安装腔处的结构示意图。
图中标记为:1、刀座;2、刀片;3、导向槽;4、滑动座;5、丝杠;6、丝母;7、手柄;8、限定座;9、限定腔;10、直齿;11、滑腔;12、锥形顶块;13、弹性件;14、滚珠;15、安装腔;16、安装座;17、滑槽;18、滑块;19、安装孔;20、紧固装置。
具体实施方式
下面结合附图描述本实用新型的具体实施方式。
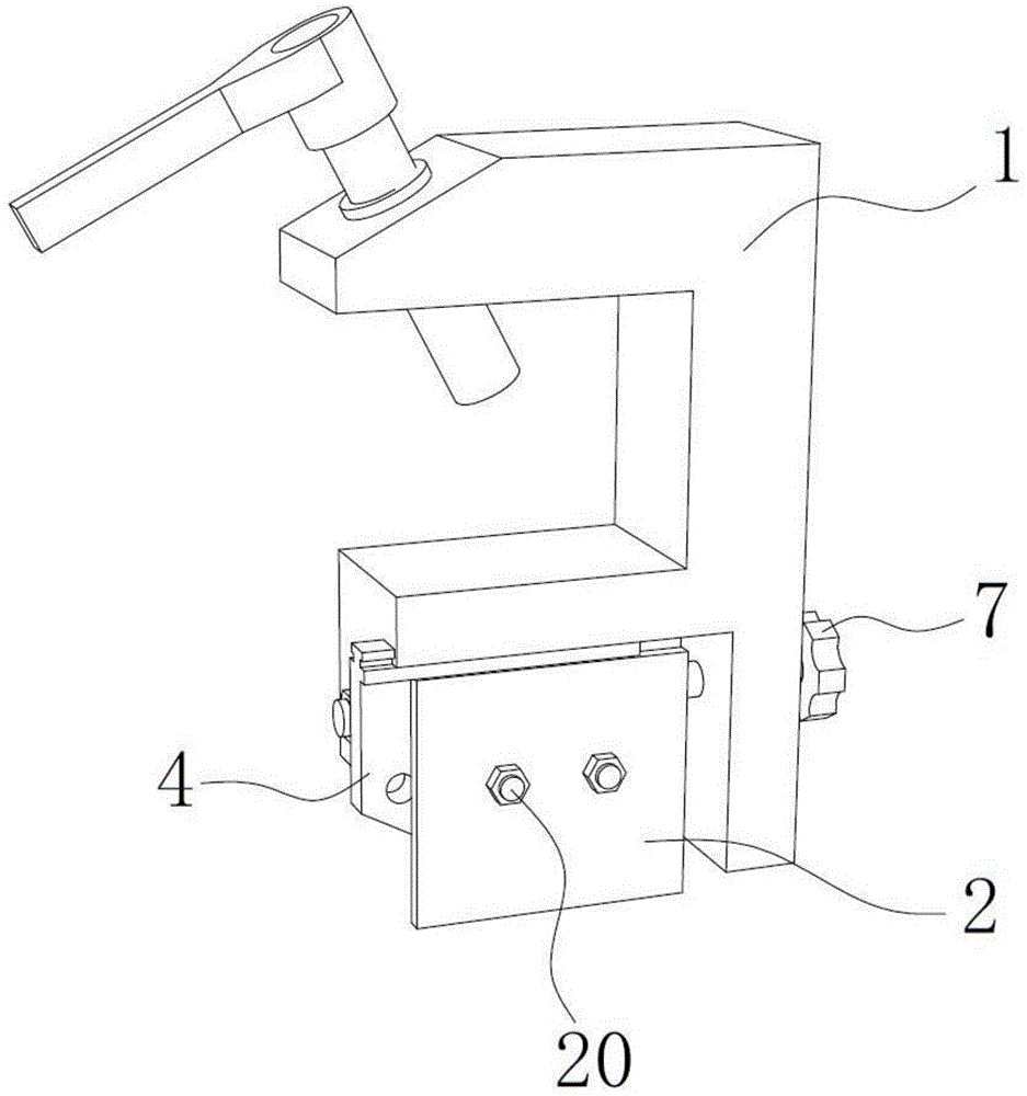
如图1至图8所示,为本实施例的一种锂电池膜午夜免费福利专用刀具,包括刀座1以及设置于刀座1上的刀片2,刀座1上设有导向槽3,导向槽3内滑动设有一滑动座4,刀片2固定于滑动座4上,刀座1上还设有驱动滑动座4滑动的驱动机构。
驱动机构包括沿导向槽3的长度方向设置的丝杠5以及与丝杠5相配合的丝母6,丝杠5转动设置于刀座1上,丝母6固定于滑动座4上,丝杠5上位于刀座1的外侧设有手柄7。
刀座1上还设有角度限定机构,角度限定机构包括固定于手柄7上的限定座8以及设置于刀座1上的限定腔9,限定腔9与丝杠5同轴设置,限定座8转动于限定腔9内并与丝杠5固定连接,限定腔9的内壁周向上均匀分布有直齿10,限定座8上沿径向设有滑腔11,滑腔11内滑动设有与直齿10相配合的锥形顶块12,锥形顶块12与滑腔11的内底部之间还连接有弹性件13;锥形顶块12的端部还转动设有滚珠14,滚珠14设置于相邻两个直齿10之间。
刀座1上与丝杠5同轴设有安装腔15,安装腔15内设有安装座16,安装座16的轴向设有限定腔9,安装座16沿轴向滑动于安装腔15内;安装腔15的内壁上沿轴向设有滑槽17,安装座16的外壁上设有与滑槽17相配合的滑块18,安装座16通过滑块18滑动于滑槽17内。
滑动座4上沿导向槽3的长度方向分布有若干安装孔19,刀片2通过紧固装置20固定于安装孔19内。
本实用新型的工作原理:
使用时,将刀座1固定在分切刀架上,需要调节刀片2位置时,转动手柄7,手柄7通过限定座8带动丝杠5转动,丝杠5通过丝母6驱动滑动座4沿导向槽3滑动,即可调节刀片2的位置;限定座8在转动过程中,限定座8内的锥形顶块12沿直齿10的表面转动,锥形顶块12上的滚珠14从一个直齿10跳至另一个直齿10,即手柄7每次只能转动单个直齿10的距离,设定好限定腔9内直齿10的数量,即可精确的调节丝杠5的转动角度,从而精确的调节刀片2的位置;安装座16是可更换的,安装座16内可以设定不同数量的直齿10,根据需要选择相应的安装座16即可。
以上所述仅为本实用新型的优选实施例而已,并不用于限制本实用新型,尽管参照前述实施例对本实用新型进行了详细的说明,对于本领域的技术人员来说,其依然可以对前述各实施例所记载的技术方案进行修改,或者对其中部分技术特征进行等同替换。凡在本实用新型的精神和原则之内,所作的任何修改、等同替换、改进等,均应包含在本实用新型的保护范围之内。
技术特征:
1.一种锂电池膜午夜免费福利专用刀具,包括刀座以及设置于所述刀座上的刀片,其特征在于,所述刀座上设有导向槽,所述导向槽内滑动设有一滑动座,所述刀片固定于所述滑动座上,所述刀座上还设有驱动所述滑动座滑动的驱动机构。
2.根据权利要求1所述的一种锂电池膜午夜免费福利专用刀具,其特征在于,所述驱动机构包括沿所述导向槽的长度方向设置的丝杠以及与所述丝杠相配合的丝母,所述丝杠转动设置于所述刀座上,所述丝母固定于所述滑动座上,所述丝杠上位于所述刀座的外侧设有手柄。
3.根据权利要求2所述的一种锂电池膜午夜免费福利专用刀具,其特征在于,所述刀座上还设有角度限定机构,所述角度限定机构包括固定于所述手柄上的限定座以及设置于所述刀座上的限定腔,所述限定腔与所述丝杠同轴设置,所述限定座转动于所述限定腔内并与所述丝杠固定连接,所述限定腔的内壁周向上均匀分布有直齿,所述限定座上沿径向设有滑腔,所述滑腔内滑动设有与所述直齿相配合的锥形顶块,所述锥形顶块与所述滑腔的内底部之间还连接有弹性件。
4.根据权利要求3所述的一种锂电池膜午夜免费福利专用刀具,其特征在于,所述锥形顶块的端部还转动设有滚珠,所述滚珠设置于相邻两个所述直齿之间。
5.根据权利要求3或4所述的一种锂电池膜午夜免费福利专用刀具,其特征在于,所述刀座上与所述丝杠同轴设有安装腔,所述安装腔内设有安装座,所述安装座的轴向设有所述限定腔,所述安装座沿轴向滑动于所述安装腔内。
6.根据权利要求5所述的一种锂电池膜午夜免费福利专用刀具,其特征在于,所述安装腔的内壁上沿轴向设有滑槽,所述安装座的外壁上设有与所述滑槽相配合的滑块,所述安装座通过所述滑块滑动于所述滑槽内。
7.根据权利要求1或6所述的一种锂电池膜午夜免费福利专用刀具,其特征在于,所述滑动座上沿所述导向槽的长度方向分布有若干安装孔,所述刀片通过紧固装置固定于所述安装孔内。
技术总结
本实用新型提供一种锂电池膜午夜免费福利专用刀具,涉及午夜免费福利技术领域,包括刀座以及设置于所述刀座上的刀片,所述刀座上设有导向槽,所述导向槽内滑动设有一滑动座,所述刀片固定于所述滑动座上,所述刀座上还设有驱动所述滑动座滑动的驱动机构。本实用新型能够精确调节刀片在刀座上的位置,适应多种尺寸锂电池膜的分切作业。
技术研发人员:马寅
受保护的技术使用者:南京安顺自动化装备有限公司
技术研发日:2018.07.17
技术公布日:2019.04.05