午夜羞羞小视频,午夜免费福利,午夜精品免费视频,午夜免费看污污APP

行业新闻

当前位置:首页/新闻中心/行业新闻

高精度触控玻璃SENSOR面用保护膜分切装置的制作方法

2024年01月23日国知局浏览量:0

高精度触控玻璃SENSOR面用保护膜分切装置的制作方法

本实用新型涉及切割设备技术领域,尤其涉及一种高精度触控玻璃SENSOR面用保护膜分切装置。

背景技术:

现有的iphoness、ipads等电子产品的触摸屏在制程加工时,需要对SENSOR面进行全面保护,因为SENSOR面要保证触控灵敏度的特点,因此对保护膜的尺寸精度和端面洁净度要求极高。国外同行一般是采用极昂贵的午夜免费福利,两端分别用修边的方式进行,其每分切一卷产品均有3%~5%的直接损耗,造成了较大的浪费。同时由于保护膜的分切要求非常高,不能存在这毛刺,毛边,崩边等现象,这就要求午夜免费福利的刀片非常的锋利。因此现有的午夜免费福利在工作一定的时间后,就需要进行磨刀等维护工作,严重影响了设备的工作效率,造成工作效率低,稳定性差,因此午夜羞羞小视频提出了高精度触控玻璃SENSOR面用保护膜分切装置用于解决上述问题。

技术实现要素:

本实用新型的目的是为了解决现有技术中存在的缺点,而提出的高精度触控玻璃SENSOR面用保护膜分切装置。

为了实现上述目的,本实用新型采用了如下技术方案:

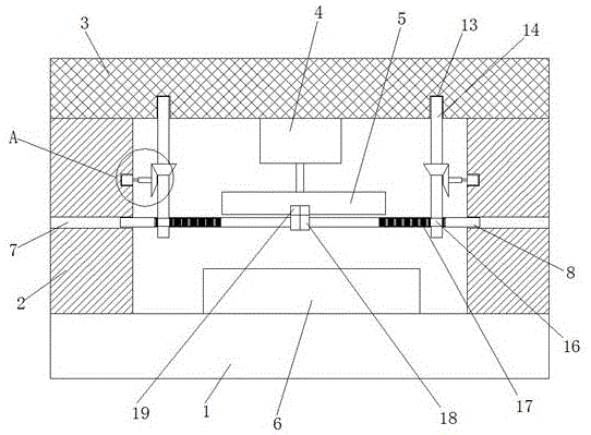
高精度触控玻璃SENSOR面用保护膜分切装置,包括底板,所述底板的顶部两侧均焊接有侧板,两个侧板的顶部焊接有同一个顶板,顶板的底部固定安装有气泵,气泵的输出轴上焊接有分切刀,底板的顶部焊接有放置板,侧板上开设有横孔,横孔内滑动安装有横板,两个侧板相互靠近的一侧均开设有位于横孔上方的安装槽,安装槽内安装有驱动电机,驱动电机的输出轴上焊接有第一转轴,两个第一转轴相互靠近的一端均焊接有第一锥形齿轮,顶板的底部开设有两个转动槽;

转动槽内转动安装有第二转轴,第二转轴的外侧固定套设有第二锥形齿轮,第二锥形齿轮与第一锥形齿轮相啮合,第二转轴位于横板的一侧,第二转轴上安装有齿轮,横板靠近第二转轴的一侧安装有齿条,齿轮与齿条相啮合,两个横板相互靠近的一侧均固定安装有连接板,连接板的顶部开设有两侧均设置开口的连接槽。

优选的,所述连接槽的两侧内壁上均安装有磨砂石,位于同一个连接槽内的两个磨砂石均与分切刀相接触。

优选的,两个驱动电机相互远离的一侧均焊接有安装板,且驱动电机通过安装板螺纹固定于安装槽远离安装槽开口的一侧内壁上。

优选的,位于转动槽内的第二转轴的外侧安装有滑块,转动槽的内壁上设有环形滑轨,且滑块与环形滑轨滑动连接。

优选的,所述第一锥形齿轮和第二锥形齿轮的规格相同。

优选的,两个连接板相互靠近的一侧相接触。

与现有技术相比,本实用新型的有益效果是:

通过底板、侧板、顶板、气泵、分切刀、放置板、横孔、横板、驱动电机、第一转轴、第一锥形齿轮、转动槽、第二转轴、第二锥形齿轮、齿轮、齿条、连接板和连接槽相配合,分切刀在需要磨刀的时候,启动驱动电机,驱动电机的输出轴带动第一锥形齿轮进行转动,第一锥形齿轮带动第二锥形齿轮进行转动,第二锥形齿轮带动第二转轴进行转动,第二转轴上的齿轮与横板上的齿条相啮合,带动横板进行移动,横板带动连接板进行移动,连接板带动磨砂石进行移动,两个磨砂石充分的对分切刀进行打磨,操作快捷,打磨迅速,提高设备的工作效率。

本实用新型结构简单,经济实用,通过齿轮和齿条,带动横板进行移动,并且通过连接板和磨砂石,充分的对分切刀进行打磨,操作快捷,打磨迅速,提高设备的工作效率。

附图说明

图1为本实用新型提出的高精度触控玻璃SENSOR面用保护膜分切装置的结构示意图;

图2为本实用新型提出的高精度触控玻璃SENSOR面用保护膜分切装置的A部分的结构示意图。

图中:1底板、2侧板、3顶板、4气泵、5分切刀、6放置板、7横孔、8横板、9安装槽、10驱动电机、11第一转轴、12第一锥形齿轮、13转动槽、14第二转轴、15第二锥形齿轮、16齿轮、17齿条、18连接板、19连接槽。

具体实施方式

下面将结合本实用新型实施例中的附图,对本实用新型实施例中的技术方案进行清楚、完整地描述,显然,所描述的实施例仅仅是本实用新型一部分实施例,而不是全部的实施例。

参照图1-2,高精度触控玻璃SENSOR面用保护膜分切装置,包括底板1,底板1的顶部两侧均焊接有侧板2,两个侧板2的顶部焊接有同一个顶板3,顶板3的底部固定安装有气泵4,气泵4的输出轴上焊接有分切刀5,底板1的顶部焊接有放置板6,侧板2上开设有横孔7,横孔7内滑动安装有横板8,两个侧板2相互靠近的一侧均开设有位于横孔7上方的安装槽9,安装槽9内安装有驱动电机10,驱动电机10的输出轴上焊接有第一转轴11,两个第一转轴11相互靠近的一端均焊接有第一锥形齿轮12,顶板3的底部开设有两个转动槽13;转动槽13内转动安装有第二转轴14,第二转轴14的外侧固定套设有第二锥形齿轮15,第二锥形齿轮15与第一锥形齿轮12相啮合,第二转轴14位于横板8的一侧,第二转轴14上安装有齿轮16,横板8靠近第二转轴14的一侧安装有齿条17,齿轮16与齿条17相啮合,两个横板8相互靠近的一侧均固定安装有连接板18,连接板18的顶部开设有两侧均设置开口的连接槽19,通过底板1、侧板2、顶板3、气泵4、分切刀5、放置板6、横孔7、横板8、驱动电机10、第一转轴11、第一锥形齿轮12、转动槽13、第二转轴14、第二锥形齿轮15、齿轮16、齿条17、连接板18和连接槽19相配合,分切刀5在需要磨刀的时候,启动驱动电机10,驱动电机10的输出轴带动第一锥形齿轮12进行转动,第一锥形齿轮12带动第二锥形齿轮15进行转动,第二锥形齿轮15带动第二转轴14进行转动,第二转轴14上的齿轮16与横板8上的齿条17相啮合,带动横板8进行移动,横板8带动连接板18进行移动,连接板18带动磨砂石进行移动,两个磨砂石充分的对分切刀5进行打磨,操作快捷,打磨迅速,提高设备的工作效率,本实用新型结构简单,经济实用,通过齿轮16和齿条17,带动横板8进行移动,并且通过连接板18和磨砂石,充分的对分切刀5进行打磨,操作快捷,打磨迅速,提高设备的工作效率。

本实用新型中,连接槽19的两侧内壁上均安装有磨砂石,位于同一个连接槽19内的两个磨砂石均与分切刀5相接触,两个驱动电机10相互远离的一侧均焊接有安装板,且驱动电机10通过安装板螺纹固定于安装槽9远离安装槽9开口的一侧内壁上,位于转动槽13内的第二转轴14的外侧安装有滑块,转动槽13的内壁上设有环形滑轨,且滑块与环形滑轨滑动连接,第一锥形齿轮12和第二锥形齿轮15的规格相同,两个连接板18相互靠近的一侧相接触,通过底板1、侧板2、顶板3、气泵4、分切刀5、放置板6、横孔7、横板8、驱动电机10、第一转轴11、第一锥形齿轮12、转动槽13、第二转轴14、第二锥形齿轮15、齿轮16、齿条17、连接板18和连接槽19相配合,分切刀5在需要磨刀的时候,启动驱动电机10,驱动电机10的输出轴带动第一锥形齿轮12进行转动,第一锥形齿轮12带动第二锥形齿轮15进行转动,第二锥形齿轮15带动第二转轴14进行转动,第二转轴14上的齿轮16与横板8上的齿条17相啮合,带动横板8进行移动,横板8带动连接板18进行移动,连接板18带动磨砂石进行移动,两个磨砂石充分的对分切刀5进行打磨,操作快捷,打磨迅速,提高设备的工作效率,本实用新型结构简单,经济实用,通过齿轮16和齿条17,带动横板8进行移动,并且通过连接板18和磨砂石,充分的对分切刀5进行打磨,操作快捷,打磨迅速,提高设备的工作效率。

工作原理:使用中,分切刀5在需要磨刀的时候,启动驱动电机10,驱动电机10的输出轴带动第一锥形齿轮12进行转动,第一锥形齿轮12带动第二锥形齿轮15进行转动,第二锥形齿轮15带动第二转轴14进行转动,第二转轴14上的齿轮16与横板8上的齿条17相啮合,带动横板8进行移动,使得横板8在横孔7的内壁上进行滑动,横板8带动连接板18进行移动,连接板18带动磨砂石进行移动,两个磨砂石充分的对分切刀5进行打磨,操作快捷,打磨迅速,提高设备的工作效率。

以上所述,仅为本实用新型较佳的具体实施方式,但本实用新型的保护范围并不局限于此,任何熟悉本技术领域的技术人员在本实用新型揭露的技术范围内,根据本实用新型的技术方案及其实用新型构思加以等同替换或改变,都应涵盖在本实用新型的保护范围之内。

技术特征:

1.高精度触控玻璃SENSOR面用保护膜分切装置,包括底板(1),其特征在于,所述底板(1)的顶部两侧均焊接有侧板(2),两个侧板(2)的顶部焊接有同一个顶板(3),顶板(3)的底部固定安装有气泵(4),气泵(4)的输出轴上焊接有分切刀(5),底板(1)的顶部焊接有放置板(6),侧板(2)上开设有横孔(7),横孔(7)内滑动安装有横板(8),两个侧板(2)相互靠近的一侧均开设有位于横孔(7)上方的安装槽(9),安装槽(9)内安装有驱动电机(10),驱动电机(10)的输出轴上焊接有第一转轴(11),两个第一转轴(11)相互靠近的一端均焊接有第一锥形齿轮(12),顶板(3)的底部开设有两个转动槽(13);

转动槽(13)内转动安装有第二转轴(14),第二转轴(14)的外侧固定套设有第二锥形齿轮(15),第二锥形齿轮(15)与第一锥形齿轮(12)相啮合,第二转轴(14)位于横板(8)的一侧,第二转轴(14)上安装有齿轮(16),横板(8)靠近第二转轴(14)的一侧安装有齿条(17),齿轮(16)与齿条(17)相啮合,两个横板(8)相互靠近的一侧均固定安装有连接板(18),连接板(18)的顶部开设有两侧均设置开口的连接槽(19)。

2.根据权利要求1所述的高精度触控玻璃SENSOR面用保护膜分切装置,其特征在于,所述连接槽(19)的两侧内壁上均安装有磨砂石,位于同一个连接槽(19)内的两个磨砂石均与分切刀(5)相接触。

3.根据权利要求1所述的高精度触控玻璃SENSOR面用保护膜分切装置,其特征在于,两个驱动电机(10)相互远离的一侧均焊接有安装板,且驱动电机(10)通过安装板螺纹固定于安装槽(9)远离安装槽(9)开口的一侧内壁上。

4.根据权利要求1所述的高精度触控玻璃SENSOR面用保护膜分切装置,其特征在于,位于转动槽(13)内的第二转轴(14)的外侧安装有滑块,转动槽(13)的内壁上设有环形滑轨,且滑块与环形滑轨滑动连接。

5.根据权利要求1所述的高精度触控玻璃SENSOR面用保护膜分切装置,其特征在于,所述第一锥形齿轮(12)和第二锥形齿轮(15)的规格相同。

6.根据权利要求1所述的高精度触控玻璃SENSOR面用保护膜分切装置,其特征在于,两个连接板(18)相互靠近的一侧相接触。

技术总结

本实用新型公开了一种高精度触控玻璃SENSOR面用保护膜分切装置,包括底板,所述底板的顶部两侧均焊接有侧板,两个侧板的顶部焊接有同一个顶板,顶板的底部固定安装有气泵,气泵的输出轴上焊接有分切刀,底板的顶部焊接有放置板,侧板上开设有横孔,横孔内滑动安装有横板,两个侧板相互靠近的一侧均开设有位于横孔上方的安装槽,安装槽内安装有驱动电机,驱动电机的输出轴上焊接有第一转轴,两个第一转轴相互靠近的一端均焊接有第一锥形齿轮;本实用新型结构简单,经济实用,通过齿轮和齿条,带动横板进行移动,并且通过连接板和磨砂石,充分的对分切刀进行打磨,操作快捷,打磨迅速,提高设备的工作效率。

技术研发人员:丁智

受保护的技术使用者:徐亚果

技术研发日:2018.12.05

技术公布日:2019.08.13

网站地图